TOP
|
特許
|
意匠
|
商標
特許ウォッチ
Twitter
他の特許を見る
10個以上の画像は省略されています。
公開番号
2025140946
公報種別
公開特許公報(A)
公開日
2025-09-29
出願番号
2024040605
出願日
2024-03-15
発明の名称
積層圧電セラミック部品、およびそれを備える装置
出願人
日本特殊陶業株式会社
代理人
個人
,
個人
主分類
H10N
30/50 20230101AFI20250919BHJP()
要約
【課題】高温および高電界下において高い絶縁性を維持することのできる積層圧電セラミック部品を提供する
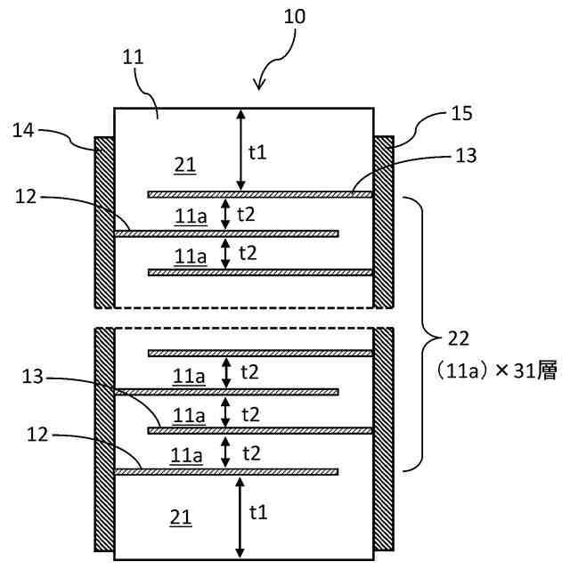
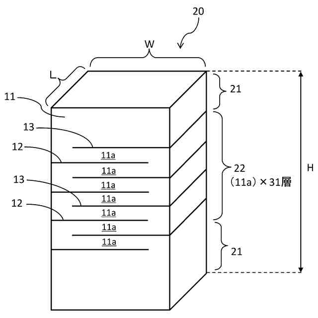
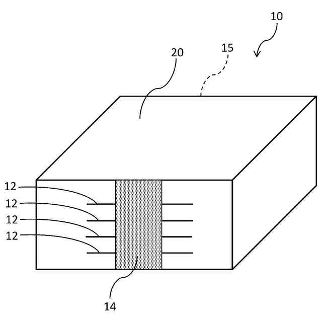
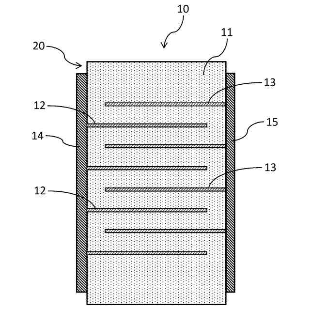
【解決手段】積層圧電セラミック部品10は、複数の電極12・13と、ニオブ酸アルカリ系ペロブスカイト型酸化物を主成分として含有する圧電セラミック層11とを有し、圧電セラミック層間に複数の電極12・13が積層された積層体20を含む。積層圧電セラミック部品10の圧電セラミック層11において、積層された複数の電極12および13の間に挟まれていない部分を不活性層21とする。この不活性層21の厚さは、25μm以上となっている。
【選択図】図1
特許請求の範囲
【請求項1】
複数の電極と、ニオブ酸アルカリ系ペロブスカイト型酸化物を主成分として含有する圧電セラミック層とを有し、
前記圧電セラミック層間に前記複数の電極が積層された積層体を含む積層圧電セラミック部品であって、
前記圧電セラミック層において、積層された前記複数の電極の間に挟まれていない部分を不活性層とし、
前記不活性層の厚さは、25μm以上となっている、積層圧電セラミック部品。
続きを表示(約 570 文字)
【請求項2】
前記電極は、ニッケルを主成分として含有する、請求項1に記載の積層圧電セラミック部品。
【請求項3】
前記不活性層の厚さは、100μm以上となっている、請求項1に記載の積層圧電セラミック部品。
【請求項4】
前記不活性層の厚さは、200μm以上2000μm以下となっている、請求項3に記載の積層圧電セラミック部品。
【請求項5】
前記圧電セラミック層は、
前記ニオブ酸アルカリ系ペロブスカイト型酸化物を含有する主相成分と、
マンガンおよびチタンの酸化物を含有する副相成分と
を含有する、請求項1に記載の積層圧電セラミック部品。
【請求項6】
前記ニオブ酸アルカリ系ペロブスカイト型酸化物は、マンガンおよびチタンを含む、請求項5に記載の積層圧電セラミック部品。
【請求項7】
前記ニオブ酸アルカリ系ペロブスカイト型酸化物は、スカンジウムをさらに含む、請求項6に記載の積層圧電セラミック部品。
【請求項8】
請求項1から7の何れか1項に記載の積層圧電セラミック部品を備えている装置。
【請求項9】
アクチュエータ、ハプティクス、ブザー、および超音波センサの何れかである、請求項8に記載の装置。
発明の詳細な説明
【技術分野】
【0001】
本発明は、積層圧電セラミック部品、およびそれを備えている装置に関する。
続きを表示(約 1,200 文字)
【背景技術】
【0002】
近年、小型かつ低電圧でも高変位で駆動することのできる積層型の圧電セラミック部品を備えているアクチュエータが注目されている。一般的な積層圧電セラミック部品は、PZT系(チタン酸ジルコン酸鉛系)の圧電セラミック、および、例えば、Pt、Pdなどを含む内部電極を含んでいる。しかし、PZT系の圧電セラミックは、環境に悪影響を及ぼす鉛を含んでいることが問題視されている。また、Pt、Pdなどの金属材料は、高価であることが難点である。
【0003】
そのため、環境にやさしく、かつ、低コストの積層圧電セラミック部品に対する要望が高まっている。そこで、圧電セラミックには鉛を使わない材料を使用し、内部電極にはPt、Pdと比較してより安価な卑金属であるNiを主成分として使用した無鉛積層圧電セラミックが提案されている(例えば、特許文献1および2参照)。
【0004】
特許文献1および2には、Niを主成分とする内部電極と、ニオブ酸アルカリ系ペロブスカイト型酸化物を主成分とする圧電セラミック層とが交互に積層された積層圧電セラミック部品が提案されている。
【先行技術文献】
【特許文献】
【0005】
特許第5862983号公報
特許第6094682号公報
【発明の概要】
【発明が解決しようとする課題】
【0006】
積層圧電セラミック部品をアクチュエータに使用する場合には、高温、高電界下(例えば、100℃、3kV/mm)での使用が求められることがある。そのため、高温、高電界下における過酷な条件下でも高い絶縁性を有する積層圧電セラミック部品が所望される。
【0007】
本発明では、高温および高電界下において高い絶縁性を維持することのできる積層圧電セラミック部品、およびそれを備えている装置を提供することを目的とする。
【課題を解決するための手段】
【0008】
[1]
本発明の一局面にかかる積層圧電セラミック部品は、複数の電極と、ニオブ酸アルカリ系ペロブスカイト型酸化物を主成分として含有する圧電セラミック層とを有し、前記圧電セラミック層間に前記複数の電極が積層された積層体を含む積層圧電セラミック部品であって、前記圧電セラミック層において、積層された前記複数の電極の間に挟まれていない部分を不活性層とし、前記不活性層の厚さは、25μm以上となっている。
【0009】
上記の構成によれば、不活性層の厚さを25μm以上とすることで、高温および高電界下において高い絶縁性を有する積層圧電セラミック部品を得ることができる。
【0010】
[2]
[1]に記載の本発明の一局面にかかる積層圧電セラミック部品において、前記電極は、ニッケルを主成分として含有してもよい。
(【0011】以降は省略されています)
この特許をJ-PlatPat(特許庁公式サイト)で参照する
関連特許
エイブリック株式会社
半導体装置
1か月前
富士電機株式会社
半導体装置
2日前
富士電機株式会社
半導体装置
1か月前
富士電機株式会社
半導体装置
1か月前
富士電機株式会社
半導体装置
1か月前
富士電機株式会社
半導体装置
1か月前
富士電機株式会社
半導体装置
20日前
三菱電機株式会社
半導体装置
29日前
AGC株式会社
太陽電池モジュール
5日前
国立大学法人 和歌山大学
光検出器
1か月前
三菱電機株式会社
半導体装置
1か月前
株式会社半導体エネルギー研究所
半導体装置
1か月前
日亜化学工業株式会社
発光装置
20日前
株式会社半導体エネルギー研究所
半導体装置
21日前
キヤノン株式会社
有機発光素子
12日前
日亜化学工業株式会社
発光素子
今日
株式会社半導体エネルギー研究所
半導体装置
1か月前
ミツミ電機株式会社
センサ装置
1か月前
住友電気工業株式会社
半導体装置
12日前
住友電気工業株式会社
半導体装置
12日前
株式会社東芝
熱電変換装置
今日
ローム株式会社
窒化物半導体装置
26日前
ローム株式会社
TVSダイオード
今日
ローム株式会社
TVSダイオード
今日
ローム株式会社
半導体装置
今日
ローム株式会社
窒化物半導体装置
20日前
株式会社半導体エネルギー研究所
発光デバイス
1か月前
株式会社カネカ
太陽電池モジュール
今日
個人
半導体装置
22日前
日亜化学工業株式会社
発光素子
23日前
株式会社カネカ
太陽光発電システム
21日前
三菱電機株式会社
半導体装置
6日前
キオクシア株式会社
半導体装置
6日前
国立大学法人東京科学大学
半導体装置
21日前
キオクシア株式会社
磁気メモリ
1か月前
東芝ライテック株式会社
発光モジュール
2日前
続きを見る
他の特許を見る