TOP
|
特許
|
意匠
|
商標
特許ウォッチ
Twitter
他の特許を見る
10個以上の画像は省略されています。
公開番号
2025141107
公報種別
公開特許公報(A)
公開日
2025-09-29
出願番号
2024040876
出願日
2024-03-15
発明の名称
サービス提供システム、方法、プログラム、サービス提供装置、方法、およびプログラム
出願人
株式会社リコー
代理人
個人
,
個人
主分類
G06N
5/04 20230101AFI20250919BHJP(計算;計数)
要約
【課題】適切なモデルを用いて予測の精度を高める。
【解決手段】本発明の一実施形態に係るサービス提供システムは、サービス提供装置とユーザ端末とを含むサービス提供システムであって、前記サービス提供装置は、説明変数の特徴量を用いて学習された第1のモデル、および、前記説明変数の特徴量のうち予測時に新たな値が入力されない特徴量である不変特徴量を用いて学習された第2のモデルが記憶されたモデル記憶部と、前記不変特徴量以外の特徴量の学習済みの特徴量値が記憶された学習済み特徴量値記憶部と、前記学習済みの特徴量値が入力されたときには前記第1のモデルを用い、前記学習済みの特徴量値以外の値が入力されたときには前記第2のモデルを用いることで予測を実行し、予測値を出力させるモデル切替実行部と、を有し、前記ユーザ端末は、前記サービス提供装置から受信した予測値を表示する表示手段と、を有する。
【選択図】図2
特許請求の範囲
【請求項1】
サービス提供装置とユーザ端末とを含むサービス提供システムであって、
前記サービス提供装置は、
説明変数の特徴量を用いて学習された第1のモデル、および、前記説明変数の特徴量のうち予測時に新たな値が入力されない特徴量である不変特徴量を用いて学習された第2のモデルが記憶されたモデル記憶部と、
前記不変特徴量以外の特徴量の学習済みの特徴量値が記憶された学習済み特徴量値記憶部と、
前記学習済みの特徴量値が入力されたときには前記第1のモデルを用い、前記学習済みの特徴量値以外の値が入力されたときには前記第2のモデルを用いることで予測を実行し、予測値を出力させるモデル切替実行部と、
を有し、
前記ユーザ端末は、
前記サービス提供装置から受信した予測値を表示する表示手段、
を有する、サービス提供システム。
続きを表示(約 1,700 文字)
【請求項2】
前記学習済み特徴量値記憶部に記憶されている前記学習済みの特徴量値は、前記ユーザ端末に入力された指示に応じて変更される、請求項1に記載のサービス提供システム。
【請求項3】
前記第1のモデルと前記第2のモデルの切替条件の入力を受け付けるモデル切替条件入力部を備え、
前記モデル切替実行部は、前記切替条件と、入力値と、に基づいてモデルを選択する、請求項1に記載のサービス提供システム。
【請求項4】
前記第1のモデルと前記第2のモデルの切替条件は、前記ユーザ端末に入力された指示に応じて変更される、請求項3に記載のサービス提供システム。
【請求項5】
前記第1のモデルと前記第2のモデルの切替条件は、前記ユーザ端末に入力された指示に応じて、所定の時期ごとに変更される、請求項3に記載のサービス提供システム。
【請求項6】
前記第1のモデルの予測結果と、予測対象情報と、評価結果と、が記憶された結果記憶部と、
前記予測結果と、前記予測対象情報と、前記評価結果と、に基づいて前記第1のモデルの予測の精度を算出するモデル精度算出部と、をさらに備え、
前記モデル切替実行部は、前記予測の精度に基づいてモデルを切り替える、請求項1に記載のサービス提供システム。
【請求項7】
前記不変特徴量以外の特徴量は、見積の顧客名であり、
前記第1のモデルおよび前記第2のモデルは、前記見積の受注率を予測するためのモデルである、請求項1に記載のサービス提供システム。
【請求項8】
サービス提供装置とユーザ端末とを含むサービス提供システムが実行する方法であって、
前記サービス提供装置は、
説明変数の特徴量を用いて学習された第1のモデル、および、前記説明変数の特徴量のうち予測時に新たな値が入力されない特徴量である不変特徴量を用いて学習された第2のモデルが記憶されたモデル記憶部と、
前記不変特徴量以外の特徴量の学習済みの特徴量値が記憶された学習済み特徴量値記憶部と、を備え、
前記サービス提供装置は、
前記学習済みの特徴量値が入力されたときには前記第1のモデルを用い、前記学習済みの特徴量値以外の値が入力されたときには前記第2のモデルを用いることで予測を実行し、予測値を出力させ、
前記ユーザ端末は、
前記サービス提供装置から受信した予測値を表示する、方法。
【請求項9】
説明変数の特徴量を用いて学習された第1のモデル、および、前記説明変数の特徴量のうち予測時に新たな値が入力されない特徴量である不変特徴量を用いて学習された第2のモデルが記憶されたモデル記憶部と、
前記不変特徴量以外の特徴量の学習済みの特徴量値が記憶された学習済み特徴量値記憶部と、を備えた、サービス提供装置に、
前記学習済みの特徴量値が入力されたときには前記第1のモデルを用い、前記学習済みの特徴量値以外の値が入力されたときには前記第2のモデルを用いることで予測を実行し、予測値を出力させる処理を実行させ、
ユーザ端末に、
前記サービス提供装置から受信した予測値を表示する処理を実行させるためのプログラム。
【請求項10】
説明変数の特徴量を用いて学習された第1のモデル、および、前記説明変数の特徴量のうち予測時に新たな値が入力されない特徴量である不変特徴量を用いて学習された第2のモデルが記憶されたモデル記憶部と、
前記不変特徴量以外の特徴量の学習済みの特徴量値が記憶された学習済み特徴量値記憶部と、
前記学習済みの特徴量値が入力されたときには前記第1のモデルを用い、前記学習済みの特徴量値以外の値が入力されたときには前記第2のモデルを用いることで予測を実行し、予測値を出力させるモデル切替実行部と
を備えた、サービス提供装置。
(【請求項11】以降は省略されています)
発明の詳細な説明
【技術分野】
【0001】
本発明は、サービス提供システム、方法、プログラム、サービス提供装置、方法、およびプログラムに関する。
続きを表示(約 2,100 文字)
【背景技術】
【0002】
従来、様々な分野において、人工知能(AI(artificial intelligence))を活用することが増えてきている。解決したい問題に合わせてAIモデル(以下、モデルともいう)を用意し適用する技術が広く使われており、複数のモデルを用意して用途やユーザのレベル等によって使い分けるという方法が知られている。
【発明の概要】
【発明が解決しようとする課題】
【0003】
モデルへの入力(説明変数)の特徴量が既知の値の場合には、その特徴量を用いて学習したモデルを用いたほうがよいが、当該特徴量が未知の値の場合には、その特徴量を省いて学習したモデルを用いたほうがよい。
【0004】
例えば、見積書の作成の作業において、その見積が受注される確率を予測するモデルを考えたとき、モデルへの入力として、顧客情報は見積の受注率の予測に重要なものである。そのため、モデルの学習時に同じ顧客(つまり、見積の受注率を予測しようとしている顧客と同じ顧客)への見積のデータ(学習データ)があるならば、顧客情報を学習したモデルのほうが予測の精度が高くなる。しかし、学習データにない新規の顧客へ見積を行う際には、既存の顧客の顧客情報が予測の妨げになる可能性が高いため、顧客情報を学習したモデルでは予測の精度が低くなってしまう(つまり、顧客情報を特徴量とせずに見積の内容のみを特徴量として学習したモデルのほうがよい)。
【0005】
そこで、本発明では、適切なモデルを用いて予測の精度を高めることを目的とする。
【課題を解決するための手段】
【0006】
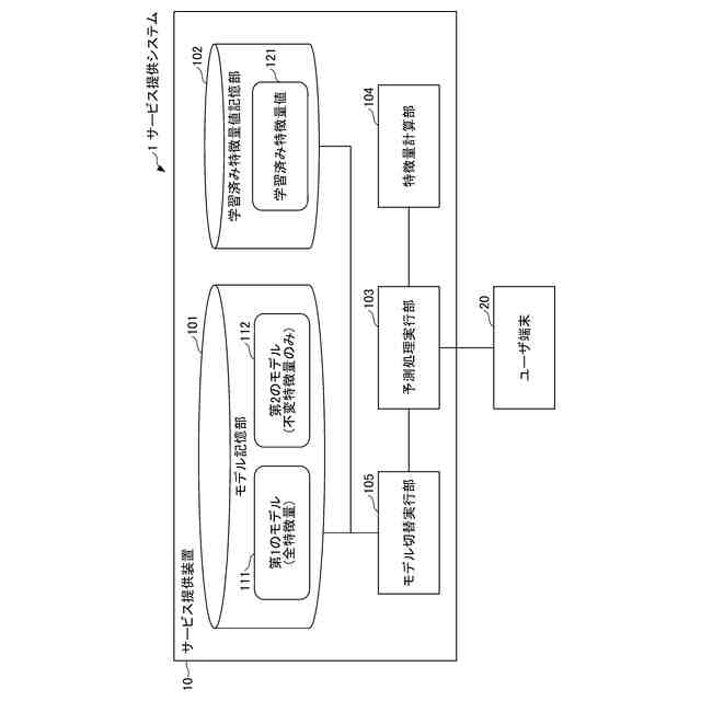
本発明の一実施形態に係るサービス提供システムは、サービス提供装置とユーザ端末とを含むサービス提供システムであって、前記サービス提供装置は、説明変数の特徴量を用いて学習された第1のモデル、および、前記説明変数の特徴量のうち予測時に新たな値が入力されない特徴量である不変特徴量を用いて学習された第2のモデルが記憶されたモデル記憶部と、前記不変特徴量以外の特徴量の学習済みの特徴量値が記憶された学習済み特徴量値記憶部と、前記学習済みの特徴量値が入力されたときには前記第1のモデルを用い、前記学習済みの特徴量値以外の値が入力されたときには前記第2のモデルを用いることで予測を実行し、予測値を出力させるモデル切替実行部と、を有し、前記ユーザ端末は、前記サービス提供装置から受信した予測値を表示する表示手段と、を有する。
【発明の効果】
【0007】
本発明によれば、適切なモデルを用いて予測の精度を高めることができる。
【図面の簡単な説明】
【0008】
本発明の概要を説明するための図である。
本発明の一実施形態に係る全体の構成図である。
本発明の一実施形態に係るサービス提供装置のハードウェア構成図である。
本発明の一実施形態に係るユーザ端末のハードウェア構成図である。
本発明の一実施形態に係るサービス提供システムの機能ブロック図(実施形態1)である。
本発明の一実施形態に係るモデル切替処理を示すシーケンス図(実施形態1)である。
本発明の一実施形態に係るサービス提供システムの機能ブロック図(実施形態2)である。
本発明の一実施形態に係るモデル切替処理を示すシーケンス図(実施形態2)である。
本発明の一実施形態に係るユーザ端末に表示される画面の一例である。
本発明の一実施形態に係るユーザ端末に表示される画面の一例である。
本発明の一実施形態に係るユーザ端末に表示される画面の一例である。
本発明の一実施形態に係るユーザ端末に表示される画面の一例である。
本発明の一実施形態に係るサービス提供システムの機能ブロック図(実施形態3)である。
本発明の一実施形態に係る結果記憶部に記憶されるデータの一例である。
本発明の一実施形態に係るモデルの精度の算出について説明するための図である。
本発明の一実施形態に係るモデル切替処理を示すシーケンス図(実施形態3)である。
【発明を実施するための形態】
【0009】
以下、図面を参照しながら、本発明の実施の形態を説明する。
【0010】
<概要>
図1は、本発明の概要を説明するための図である。例えば、本発明の一実施形態に係るサービス提供装置は、見積の受注率を予測するサービスを提供する装置(見積受注率予測装置11)である。見積受注率予測装置11は、機械学習により生成された学習済みモデル1とモデル2を用いて、ユーザ端末20から受信した見積書または見積書の作成時に用いられる情報から、見積の受注率を予測して、ユーザ端末20へ当該受注率を送信する。
(【0011】以降は省略されています)
この特許をJ-PlatPat(特許庁公式サイト)で参照する
関連特許
株式会社リコー
画像形成装置
5日前
株式会社リコー
画像形成装置
8日前
株式会社リコー
感熱記録媒体
2日前
株式会社リコー
液体塗布装置
9日前
株式会社リコー
画像形成装置
1日前
株式会社リコー
画像形成装置
5日前
株式会社リコー
画像形成装置
5日前
株式会社リコー
印刷システム
5日前
株式会社リコー
画像形成装置
16日前
株式会社リコー
画像投射システム
16日前
株式会社リコー
印刷応答補償機構
9日前
株式会社リコー
拡張アンテナ装置
8日前
株式会社リコー
生体情報測定装置
2日前
株式会社リコー
画像形成システム
1日前
株式会社リコー
液体を吐出する装置
2日前
株式会社リコー
マーキングシステム
8日前
株式会社リコー
電極及びその製造方法
5日前
株式会社リコー
電極及びその製造方法
3日前
株式会社リコー
多孔質構造体の製造方法
5日前
株式会社リコー
定着装置及び画像形成装置
9日前
株式会社リコー
定着装置及び画像形成装置
15日前
株式会社リコー
印刷装置および印刷システム
1日前
株式会社リコー
センサ素子及びセンサアレイ
15日前
株式会社リコー
センサ素子及びセンサアレイ
15日前
株式会社リコー
液吐出装置、及び液吐出方法
9日前
株式会社リコー
パルスバルブおよび塗布装置
5日前
株式会社リコー
塗装システム、及び塗装方法
5日前
株式会社リコー
ファイル分析・保存システム
5日前
株式会社リコー
液体塗布装置および洗浄方法
5日前
株式会社リコー
液体吐出装置及び液体吐出方法
1日前
株式会社リコー
定着装置、及び、画像形成装置
5日前
株式会社リコー
後処理装置および画像形成装置
5日前
株式会社リコー
定着装置、及び、画像形成装置
5日前
株式会社リコー
パーソナライズビデオメカニズム
3日前
株式会社リコー
ベルト装置、及び、画像形成装置
1日前
株式会社リコー
レーザ照射装置、レーザ照射方法
5日前
続きを見る
他の特許を見る