TOP
|
特許
|
意匠
|
商標
特許ウォッチ
Twitter
他の特許を見る
10個以上の画像は省略されています。
公開番号
2025141584
公報種別
公開特許公報(A)
公開日
2025-09-29
出願番号
2024041592
出願日
2024-03-15
発明の名称
エアコンプレッサ、内燃機関アセンブリ、及び、車両
出願人
いすゞ自動車株式会社
代理人
弁理士法人鈴榮特許綜合事務所
主分類
F02F
7/00 20060101AFI20250919BHJP(燃焼機関;熱ガスまたは燃焼生成物を利用する機関設備)
要約
【課題】 多気筒化によっても、騒音が大きくなることを抑制し得るエアコンプレッサを提供すること。
【解決手段】 エアコンプレッサは、クランクケースと、複数気筒のシリンダ部とを有するシリンダブロックと、前記シリンダブロックをカバーするシリンダヘッドと、前記クランクケース内に支持されるクランクシャフトと、前記クランクシャフトによって前記シリンダ部内をそれぞれ往復動し、空気を吸気し、及び、吸気した空気を圧縮して排出するピストンとを備える。前記シリンダブロックの外壁には、前記ピストンが往復動する方向に沿う方向に延び、前記ピストンが往復動する方向に直交する方向に突出し、前記シリンダブロックの振動を抑制する第1のリブが設けられる。
【選択図】 図5
特許請求の範囲
【請求項1】
クランクケースと、複数気筒のシリンダ部とを有するシリンダブロックと、
前記シリンダブロックをカバーするシリンダヘッドと、
前記クランクケース内に支持されるクランクシャフトと、
前記クランクシャフトによって前記シリンダ部内をそれぞれ往復動し、空気を吸気し、及び、吸気した空気を圧縮して排出するピストンと
を備え、
前記シリンダブロックの外壁には、前記ピストンが往復動する方向に沿う方向に延び、前記ピストンが往復動する方向に直交する方向に突出し、前記シリンダブロックの振動を抑制する第1のリブが設けられる、
エアコンプレッサ。
続きを表示(約 740 文字)
【請求項2】
前記第1のリブの高さは、前記第1のリブの幅よりも大きい、
請求項1に記載のエアコンプレッサ。
【請求項3】
前記クランクケースの外壁には、前記クランクシャフトの中心軸から径方向に突出し、前記クランクケースの振動を抑制する第2のリブが設けられる、
請求項1又は請求項2に記載のエアコンプレッサ。
【請求項4】
前記第2のリブの高さは、前記第2のリブの幅よりも大きい、
請求項3に記載のエアコンプレッサ。
【請求項5】
前記クランクケースの外壁には、前記第1のリブに連続する第3のリブが設けられる、
請求項1又は請求項2に記載のエアコンプレッサ。
【請求項6】
前記第3のリブの高さは、前記第3のリブの幅よりも大きい、
請求項5に記載のエアコンプレッサ。
【請求項7】
前記クランクケースの外壁には、
前記クランクシャフトの中心軸から径方向に突出し、前記クランクケースの振動を抑制する第2のリブと、
前記第1のリブに連続する第3のリブと、
前記第2のリブと前記第3のリブとに交差する第4のリブと
が設けられる、
請求項1又は請求項2に記載のエアコンプレッサ。
【請求項8】
請求項1又は請求項2に記載のエアコンプレッサと、
内燃機関と、
前記エアコンプレッサの前記クランクケースの外周面を前記内燃機関に対して固定するブロック状のブラケットと
を備える、内燃機関アセンブリ。
【請求項9】
請求項8に記載の内燃機関アセンブリを含む、車両。
発明の詳細な説明
【技術分野】
【0001】
本発明は、エアコンプレッサ、内燃機関アセンブリ、及び、車両に関する。
続きを表示(約 2,000 文字)
【背景技術】
【0002】
エアコンプレッサは、例えば車両のエアブレーキ等に用いる圧縮エアをエアタンクに貯めるために内燃機関に連動するように駆動される。例えば特許文献1に開示されているように、従来のエアコンプレッサは単気筒であった。
【先行技術文献】
【特許文献】
【0003】
特開2008-274840公報
【発明の概要】
【発明が解決しようとする課題】
【0004】
エアコンプレッサの圧縮エアの吐出量を上げる場合、単気筒を多気筒化することが考えられる。この場合、単気筒のエアコンプレッサを単に多気筒化すると、エアコンプレッサの歯打ち音(ラトル音)やピストンスラップ音などの騒音が大きくなることが懸念される。
【0005】
本発明は、多気筒化によっても、騒音が大きくなることを抑制し得るエアコンプレッサ、内燃機関アセンブリ、及び、車両を提供することを目的とする。
【課題を解決するための手段】
【0006】
本発明の一態様によれば、エアコンプレッサは、クランクケースと、複数気筒のシリンダ部とを有するシリンダブロックと、前記シリンダブロックをカバーするシリンダヘッドと、前記クランクケース内に支持されるクランクシャフトと、前記クランクシャフトによって前記シリンダ部内をそれぞれ往復動し、空気を吸気し、及び、吸気した空気を圧縮して排出するピストンとを備える。前記シリンダブロックの外壁には、前記ピストンが往復動する方向に沿う方向に延び、前記ピストンが往復動する方向に直交する方向に突出し、前記シリンダブロックの振動を抑制する第1のリブが設けられる。
【発明の効果】
【0007】
本発明によれば、多気筒化によっても、騒音が大きくなることを抑制し得るエアコンプレッサ、内燃機関アセンブリ、及び、車両を提供することができる。
【図面の簡単な説明】
【0008】
実施形態に係るエアコンプレッサ、及び、エアコンプレッサを駆動する動力源となる内燃機関を有する内燃機関アセンブリを含む車両を示す概略図である。
内燃機関とエアコンプレッサとの位置関係を示すとともに、内燃機関の動力ギヤ(クランクシャフトスプロケット)と、エアコンプレッサのクランクシャフトに固定される従動ギヤと、動力ギヤ及び従動ギヤの間のアイドルギヤとの配置を示す概略図。
実施形態に係るエアコンプレッサを示す概略図。
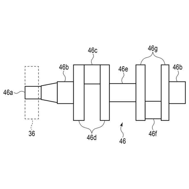
実施形態に係るエアコンプレッサのクランクケース内に配置されるクランクシャフトを示す概略図。
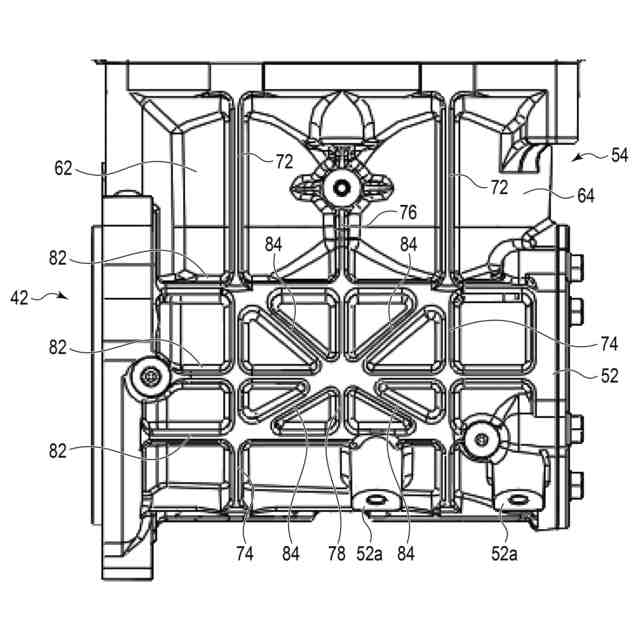
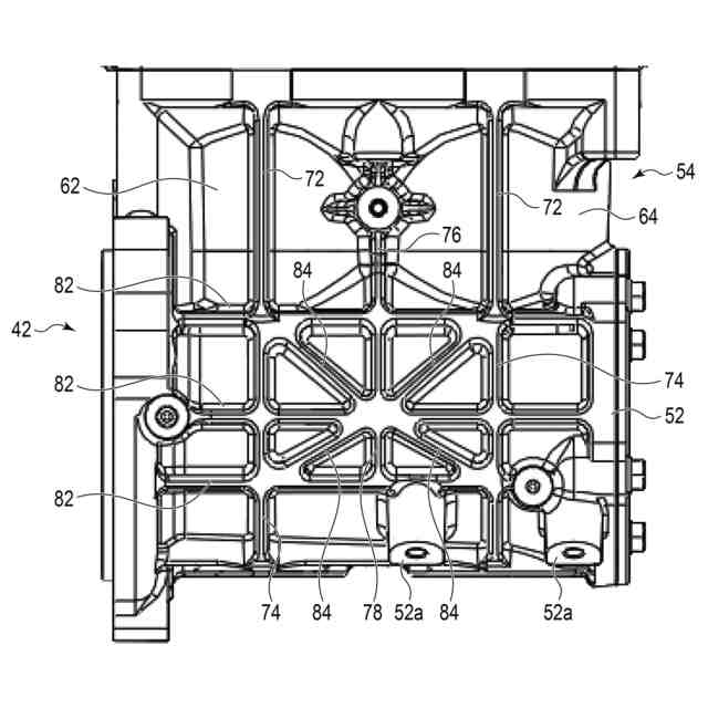
実施形態に係るエアコンプレッサのシリンダブロックを示す概略図。
実施形態に係るエアコンプレッサのシリンダブロックに設けられるリブと、このリブの比較例とを示す概略図。
実施形態に係るエアコンプレッサを内燃機関に取り付けた状態を示す概略図。
エアコンプレッサに対して上下方向に振動を負荷した場合の解析結果(横軸:周波数(Hz)、縦軸:加速度(m/s
2
))を示すグラフ。
エアコンプレッサへの上下方向への入力周波数が左:575Hz、右:585Hzのときのエアコンプレッサの動きの一例を示す図。
エアコンプレッサへの上下方向への入力周波数が左:2178Hz、右:2048Hzのエアコンプレッサの動きの一例を示す図。
エアコンプレッサへの上下方向への入力周波数が左:2704Hz、右:2557Hzのエアコンプレッサの動きの一例を示す図。
エアコンプレッサに対して左右方向に振動を負荷した場合の解析結果(横軸:周波数(Hz)、縦軸:加速度(m/s
2
))を示すグラフ。
エアコンプレッサへの左右方向への入力周波数が左:406Hz、右:394Hzのエアコンプレッサの動きの一例を示す図。
エアコンプレッサへの左右方向への入力周波数が左:1906Hz、右:1784Hzのエアコンプレッサの動きの一例を示す図。
エアコンプレッサへの左右方向への入力周波数が左:2178Hz、右:2048Hzのエアコンプレッサの動きの一例を示す図。
【発明を実施するための形態】
【0009】
以下、図面を参照して本実施形態に係る車両10の内燃機関アセンブリ12のエアコンプレッサ22ついて説明する。なお、各図における各部材の相対的な大きさは、概略的なものであり、実際のものとは異なることがある。
【0010】
図1に示すように、車両10は、エアコンプレッサ22と、エアコンプレッサ22を駆動する動力源となる内燃機関24とを有する内燃機関アセンブリ12を含む。車両10の一例は、トラックやトラクターなどである。
(【0011】以降は省略されています)
この特許をJ-PlatPat(特許庁公式サイト)で参照する
関連特許
いすゞ自動車株式会社
監視システム
11日前
いすゞ自動車株式会社
バッテリケース
10日前
いすゞ自動車株式会社
バッテリケース
10日前
株式会社ニフコ
車載機器用保持装置
4日前
ダイハツ工業株式会社
車両
1か月前
ダイハツ工業株式会社
制御装置
1か月前
スズキ株式会社
車両の制御装置
26日前
ダイハツ工業株式会社
制御装置
1か月前
ダイハツ工業株式会社
制御装置
1か月前
本田技研工業株式会社
車両
3日前
本田技研工業株式会社
車両
3日前
本田技研工業株式会社
内燃機関
3日前
本田技研工業株式会社
内燃機関
4日前
株式会社クボタ
作業車両
4日前
トヨタ自動車株式会社
車両の制御装置
24日前
トヨタ自動車株式会社
内燃機関
24日前
株式会社SUBARU
エンジン制御装置
1か月前
株式会社SUBARU
エンジン制御装置
26日前
本田技研工業株式会社
始動制御装置
3日前
本田技研工業株式会社
始動制御装置
3日前
株式会社IHI原動機
脈動減衰装置
24日前
朝日電装株式会社
スロットルグリップ装置
14日前
個人
流体式推力方向制御装置
14日前
トヨタ自動車株式会社
閾値の設定装置
14日前
トヨタ自動車株式会社
エンジン制御装置
10日前
本田技研工業株式会社
可変ファンネル装置
3日前
日産自動車株式会社
内燃機関
10日前
日産自動車株式会社
内燃機関
10日前
株式会社デンソートリム
エンジン制御装置
10日前
本田技研工業株式会社
内燃機関の制御装置
24日前
株式会社豊田自動織機
車両
1か月前
本田技研工業株式会社
内燃機関の吸気構造
4日前
大阪瓦斯株式会社
エンジンシステム
3日前
マツダ株式会社
エンジン
4日前
トヨタ自動車株式会社
エンジンシステムの診断装置
26日前
本田技研工業株式会社
EGRバルブ制御装置
14日前
続きを見る
他の特許を見る