TOP
|
特許
|
意匠
|
商標
特許ウォッチ
Twitter
他の特許を見る
10個以上の画像は省略されています。
公開番号
2025146077
公報種別
公開特許公報(A)
公開日
2025-10-03
出願番号
2024046668
出願日
2024-03-22
発明の名称
バッテリケース
出願人
いすゞ自動車株式会社
代理人
弁理士法人鷲田国際特許事務所
主分類
H01M
50/291 20210101AFI20250926BHJP(基本的電気素子)
要約
【課題】電池セルの接続端子と導電部材の接続作業が効率的に行え、接続品質が低下しないバッテリケースを提供すること。
【解決手段】一方の端部に接続端子を有する電池セルの前記一方の端部を収容可能な複数の第1収容孔が形成された第1フレームと、前記電池セルの他方の端部を収容可能な複数の第2収容孔が形成され、前記第1収容孔と前記第2収容孔とで前記電池セルを収容可能な収容室を形成する第2フレームと、を有し、前記第1収容孔は、前記電池セルの一方の端部を位置決めして固定する固定部を有する、バッテリケース。
【選択図】図4A
特許請求の範囲
【請求項1】
一方の端部に接続端子を有する電池セルの前記一方の端部を収容可能な複数の第1収容孔が形成された第1フレームと、
前記電池セルの他方の端部を収容可能な複数の第2収容孔が形成され、前記第1収容孔と前記第2収容孔とで前記電池セルを収容可能な収容室を形成する第2フレームと、
を有し、
前記第1収容孔は、前記電池セルの一方の端部を位置決めして固定する固定部を有する、
バッテリケース。
続きを表示(約 970 文字)
【請求項2】
前記固定部は、前記電池セルに形成された係合凹部に係合する係合凸部である、
請求項1に記載のバッテリケース。
【請求項3】
前記固定部は、前記電池セルをしまりばめする縮径部である、
請求項1に記載のバッテリケース。
【請求項4】
前記固定部は、前記電池セルを接着する接着部である、
請求項1に記載のバッテリケース。
【請求項5】
前記第2収容孔は、前記電池セルの他方の端部の収容方向の位置決めをする位置決め部を有する、
請求項1乃至4のいずれかに記載のバッテリケース。
【請求項6】
請求項1に記載のバッテリケースと、
接続端子を有する一方の端部が前記第1収容孔に収容されて前記固定部により位置決めして固定され、他方の端部が前記第2収容孔に収容された複数の電池セルと、
前記第1フレームの外面に取り付けられ、前記複数の電池セルの前記接続端子に接続された導電部材と、
を有するバッテリモジュール。
【請求項7】
前記導電部材は板状のバスバーであり、
前記バスバーと前記接続端子はレーザ溶接により接続されている、
請求項6に記載のバッテリモジュール。
【請求項8】
請求項6または請求項7に記載のバッテリモジュールの組み立て方法であって、
前記第1収容孔を上にして前記第1フレームを載置面に載置し、
前記第1収容孔に前記接続端子を下にした前記電池セルを収容し、前記固定部により前記電池セルを前記第1収容孔に位置決めして固定し、
前記第2収容孔を下にして前記第2フレームを前記第1フレームに重ね合わせて前記電池セルを前記収容室に収容した第1組立体を形成し、
前記第1組立体の上下を反転し
前記第1フレームの上面に導電部材を取り付け、前記導電部材と前記接続端子を接続する、
バッテリモジュールの組み立て方法。
【請求項9】
前記導電部材は板状のバスバーであり、
前記バスバーと前記接続端子はレーザ溶接により接続される、
請求項8に記載のバッテリモジュールの組み立て方法。
発明の詳細な説明
【技術分野】
【0001】
本開示は、バッテリケースに関するものである。
続きを表示(約 1,400 文字)
【背景技術】
【0002】
バッテリケースに多数の電池セルを収容し、電池セルの接続端子に導電部材を接続したバッテリモジュールがある。特許文献1には、複数の円筒状の電池セルを並べて配置したバッテリモジュールが記載されている。
【先行技術文献】
【特許文献】
【0003】
特表2021-501457号公報
【発明の概要】
【発明が解決しようとする課題】
【0004】
複数の電池セルを並べて配置する場合に、電池セルの高さがばらつくことがある。電池セルの高さがばらつくと、セルと電極を接続する際に、接続品質が安定しないという課題があった。
【0005】
本開示は、電池セルの高さ方向の位置決めを容易に行うことにより、接続端子と導電部材の接合作業が効率的に行え、接合品質が低下しないバッテリケースを提供することを目的とする。
【課題を解決するための手段】
【0006】
本開示のバッテリケースは、一方の端部に接続端子を有する電池セルの前記一方の端部を収容可能な複数の第1収容孔が形成された第1フレームと、前記電池セルの他方の端部を収容可能な複数の第2収容孔が形成され、前記第1収容孔と前記第2収容孔とで前記電池セルを収容可能な収容室を形成する第2フレームと、を有し、前記第1収容孔は、前記電池セルの一方の端部を位置決めして固定する固定部を有する。
【発明の効果】
【0007】
本開示では、第1フレームの第1収容孔に電池セルの接続端子を有する側の端部を位置決め固定することにより、第1フレームに対する電池セルの接続端子の高さが揃うので、導電部材を接続端子に接続する作業が効率化し、また接続部の品質が向上する。
【図面の簡単な説明】
【0008】
バッテリモジュールの外観を示す図である。
バッテリモジュールの分解図である。
バッテリモジュールのさらなる分解図である。
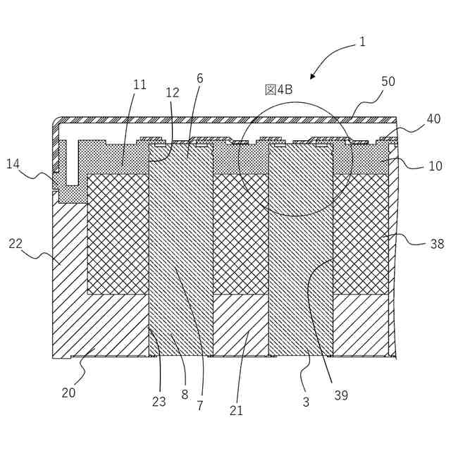
バッテリモジュールの断面図である。
バッテリモジュールの断面の拡大図である。
バッテリモジュールの組み立て工程を示す図である。
バッテリモジュールの組み立て工程を示す図である。
従来のバッテリモジュールを示す分解図である。
従来のバッテリモジュールの外観を示す図である。
従来のバッテリモジュールの部分拡大図である。
【発明を実施するための形態】
【0009】
以下、本開示の実施の形態について、図面を参照しながら説明する。なお、以下に説明する実施の形態は、いずれも本開示の一具体例を示すものである。したがって、以下の実施の形態で示される各構成要素、各構成要素の配置位置及び接続形態等は、一例であって本開示を限定する主旨ではない。また、以下の実施の形態における構成要素のうち独立請求項に記載されていない構成要素については、任意の構成要素として説明される。
【0010】
また、各図は模式図であり、必ずしも厳密に図示されたものではない。なお、各図において、実質的に同一の構成に対しては同一の符号を付しており、重複する説明は省略又は簡略化する。
(【0011】以降は省略されています)
この特許をJ-PlatPat(特許庁公式サイト)で参照する
関連特許
いすゞ自動車株式会社
システム
8日前
いすゞ自動車株式会社
監視システム
5日前
いすゞ自動車株式会社
制御システム
6日前
いすゞ自動車株式会社
バッテリケース
4日前
いすゞ自動車株式会社
バッテリケース
4日前
いすゞ自動車株式会社
接続構造及び車両
8日前
いすゞ自動車株式会社
EGRシステム及び車両
8日前
いすゞ自動車株式会社
内燃機関ユニット及び車両
8日前
いすゞ自動車株式会社
歯車、減速機、及び、車両
8日前
いすゞ自動車株式会社
オイル供給機構、内燃機関ユニット及び車両
8日前
いすゞ自動車株式会社
エアコンプレッサ、内燃機関アセンブリ、及び、車両
8日前
いすゞ自動車株式会社
負荷装置アセンブリ、内燃機関アセンブリ、及び、車両
8日前
いすゞ自動車株式会社
バッテリーセルホルダ、バッテリーモジュール、およびバッテリーパック
5日前
いすゞ自動車株式会社
車両、並びに、車両上での水素ガスの取得及び炭素を含む固形物の回収方法
8日前
個人
安全なNAS電池
1か月前
東レ株式会社
多孔質炭素シート
27日前
日本発條株式会社
積層体
8日前
エイブリック株式会社
半導体装置
29日前
キヤノン株式会社
電子機器
27日前
ローム株式会社
半導体装置
6日前
ローム株式会社
半導体装置
6日前
ローム株式会社
半導体装置
4日前
ローム株式会社
半導体装置
6日前
エイブリック株式会社
半導体装置
29日前
個人
防雪防塵カバー
8日前
ローム株式会社
半導体装置
27日前
ニチコン株式会社
コンデンサ
20日前
ニチコン株式会社
コンデンサ
20日前
太陽誘電株式会社
全固体電池
4日前
株式会社ホロン
冷陰極電子源
4日前
個人
半導体パッケージ用ガラス基板
7日前
株式会社GSユアサ
蓄電装置
8日前
株式会社GSユアサ
蓄電装置
1か月前
株式会社GSユアサ
蓄電装置
4日前
株式会社ティラド
面接触型熱交換器
19日前
東レ株式会社
ガス拡散層の製造方法
27日前
続きを見る
他の特許を見る