TOP
|
特許
|
意匠
|
商標
特許ウォッチ
Twitter
他の特許を見る
10個以上の画像は省略されています。
公開番号
2025146080
公報種別
公開特許公報(A)
公開日
2025-10-03
出願番号
2024046673
出願日
2024-03-22
発明の名称
バッテリケース
出願人
いすゞ自動車株式会社
代理人
弁理士法人鷲田国際特許事務所
主分類
H01M
50/291 20210101AFI20250926BHJP(基本的電気素子)
要約
【課題】電池セルの高さ方向の位置決めを容易に行うことにより、接続端子と導電部材の接続作業が効率的に行え、接続品質が低下しないバッテリケースを提供する。
【解決手段】一方の端部に接続端子を有する電池セルの前記一方の端部を収容可能な複数の第1収容孔が形成された第1フレームと、前記電池セルの他方の端部を収容可能な複数の第2収容孔が形成され、前記第1収容孔と前記第2収容孔とで前記電池セルを収容可能な収容室を形成する第2フレームと、を有し、前記第2収容孔は、前記電池セルの他方の端部の収容方向の位置決めをする位置決め部を有し、前記位置決め部は、前記第2収容孔の下端部の全周に亘って、前記第2収容孔の内側に向けて突出するよう形成された突出部である、バッテリケース。
【選択図】図5A
特許請求の範囲
【請求項1】
一方の端部に接続端子を有する電池セルの前記一方の端部を収容可能な複数の第1収容孔が形成された第1フレームと、
前記電池セルの他方の端部を収容可能な複数の第2収容孔が形成され、前記第1収容孔と前記第2収容孔とで前記電池セルを収容可能な収容室を形成する第2フレームと、
を有し、
前記第2収容孔は、前記電池セルの他方の端部の収容方向の位置決めをする位置決め部を有し、
前記位置決め部は、前記第2収容孔の下端部の全周に亘って、前記第2収容孔の内側に向けて突出するよう形成された突出部である、
バッテリケース。
続きを表示(約 920 文字)
【請求項2】
前記突出部は、内周縁が略円形状の環状のフランジ部である、
請求項1に記載のバッテリケース。
【請求項3】
前記突出部は、内周縁が略四角形状の環状のフランジ部である、
請求項1に記載のバッテリケース。
【請求項4】
前記突出部は、内周縁が略六角形状の環状のフランジ部である、
請求項1に記載のバッテリケース。
【請求項5】
一方の端部に接続端子を有する電池セルの前記一方の端部を収容可能な複数の第1収容孔が形成された第1フレームと、
前記電池セルの他方の端部を収容可能な複数の第2収容孔が形成され、前記第1収容孔と前記第2収容孔とで前記電池セルを収容可能な収容室を形成する第2フレームと、
を有し、
前記第2収容孔は、前記電池セルの他方の端部の収容方向の位置決めをする位置決め部を有し、
前記位置決め部は、前記第2収容孔の下端部の少なくとも一部に設けられ、前記第2収容孔の内側に向けて突出するよう形成された突出部であり、
前記突出部の下面は、前記第2フレームの下面と面一である
バッテリケース。
【請求項6】
前記突出部は、対向するように形成された複数のフランジ部である、
請求項5に記載のバッテリケース。
【請求項7】
前記突出部は、複数の爪部である、
請求項5に記載のバッテリケース。
【請求項8】
請求項1乃至7のいずれかに記載のバッテリケースと、
接続端子を有する一方の端部が前記第1収容孔に収容され、他方の端部が前記第2収容孔に対して収容されて前記位置決め部により位置決めされた複数の電池セルと、
前記第1フレームの外面に取り付けられ、前記複数の電池セルの前記接続端子に接続された導電部材と、
を有するバッテリモジュール。
【請求項9】
前記導電部材は板状のバスバーであり、
前記バスバーと前記接続端子はレーザ溶接により接続されている、
請求項8に記載のバッテリモジュール。
発明の詳細な説明
【技術分野】
【0001】
本開示は、バッテリケースに関するものである。
続きを表示(約 1,600 文字)
【背景技術】
【0002】
バッテリケースに多数の電池セルを収容し、電池セルの接続端子に導電部材を接続したバッテリモジュールがある。特許文献1には、冷却のためにバッテリセルと冷却プレートの間に熱伝導物質を接触させて熱を放出する冷却構造が開示されている。
【先行技術文献】
【特許文献】
【0003】
特表2023-524698号公報
【発明の概要】
【発明が解決しようとする課題】
【0004】
バッテリケースに複数の電池セルを収容する場合に、複数の電池セルの高さ方向の位置にばらつきが発生する可能性がある。この時、電池セルの底面と冷却プレート間の熱伝導率がばらつき、一部の電池セルについて冷却品質が他よりも低下することがあった。
【0005】
本開示は、電池セルの高さ方向の位置のばらつきを抑制し、電池セル底面の冷却品質の低下を抑制することが可能なバッテリケースを提供することを目的とする。
【課題を解決するための手段】
【0006】
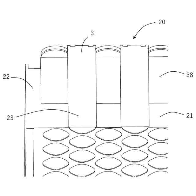
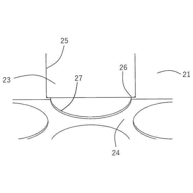
本開示のバッテリケースは、一方の端部に接続端子を有する電池セルの前記一方の端部を収容可能な複数の第1収容孔が形成された第1フレームと、前記電池セルの他方の端部を収容可能な複数の第2収容孔が形成され、前記第1収容孔と前記第2収容孔とで前記電池セルを収容可能な収容室を形成する第2フレームと、を有し、前記第2収容孔は、前記電池セルの他方の端部の収容方向の位置決めをする位置決め部を有し、前記位置決め部は、前記第2収容孔の下端部の全周に亘って、前記第2収容孔の内側に向けて突出するよう形成された突出部である。
【発明の効果】
【0007】
本開示では、第2フレームの第2収容孔に電池セルの下端部を位置決めすることにより、バッテリケースに対する電池セル底面の高さが揃うので、電池セル底面の冷却品質の低下を抑制できる。
【図面の簡単な説明】
【0008】
バッテリモジュールの外観を示す図である。
バッテリモジュールの分解図である。
バッテリモジュールのさらなる分解図である。
第2フレームの一部切り欠き斜視断面図である。
第2フレームの拡大図である。
第2フレームの拡大図である。
第2フレームの第1の変形例の拡大図である。
第2フレームの第1の変形例の拡大図である。
第2フレームの第2の変形例の拡大図である。
第2フレームの第2の変形例の拡大図である。
第2フレームの第3の変形例の拡大図である。
第2フレームの第3の変形例の拡大図である。
第2フレームの第4の変形例の拡大図である。
第2フレームの第4の変形例の拡大図である。
従来のバッテリモジュールを示す分解図である。
従来のバッテリモジュールの外観を示す図である。
従来のバッテリモジュールの部分拡大図である。
【発明を実施するための形態】
【0009】
以下、本開示の実施の形態について、図面を参照しながら説明する。なお、以下に説明する実施の形態は、いずれも本開示の一具体例を示すものである。したがって、以下の実施の形態で示される各構成要素、各構成要素の配置位置及び接続形態等は、一例であって本開示を限定する主旨ではない。また、以下の実施の形態における構成要素のうち独立請求項に記載されていない構成要素については、任意の構成要素として説明される。
【0010】
また、各図は模式図であり、必ずしも厳密に図示されたものではない。なお、各図において、実質的に同一の構成に対しては同一の符号を付しており、重複する説明は省略又は簡略化する。
(【0011】以降は省略されています)
この特許をJ-PlatPat(特許庁公式サイト)で参照する
関連特許
個人
安全なNAS電池
1か月前
日本発條株式会社
積層体
7日前
東レ株式会社
多孔質炭素シート
26日前
ローム株式会社
半導体装置
5日前
ローム株式会社
半導体装置
5日前
エイブリック株式会社
半導体装置
28日前
ローム株式会社
半導体装置
5日前
ローム株式会社
半導体装置
26日前
エイブリック株式会社
半導体装置
28日前
個人
防雪防塵カバー
7日前
キヤノン株式会社
電子機器
26日前
ローム株式会社
半導体装置
3日前
株式会社ホロン
冷陰極電子源
3日前
株式会社GSユアサ
蓄電装置
3日前
株式会社ティラド
面接触型熱交換器
18日前
個人
半導体パッケージ用ガラス基板
6日前
株式会社GSユアサ
蓄電装置
7日前
太陽誘電株式会社
全固体電池
3日前
ニチコン株式会社
コンデンサ
19日前
ニチコン株式会社
コンデンサ
19日前
東レ株式会社
ガス拡散層の製造方法
26日前
日本特殊陶業株式会社
保持装置
3日前
日本特殊陶業株式会社
保持装置
3日前
日本特殊陶業株式会社
保持装置
7日前
株式会社ヨコオ
コネクタ
28日前
マクセル株式会社
配列用マスク
18日前
トヨタ自動車株式会社
二次電池
7日前
ローム株式会社
電子装置
7日前
日本特殊陶業株式会社
保持装置
5日前
TDK株式会社
電子部品
3日前
個人
多層樹脂シート電池の電流制限方法
17日前
日本特殊陶業株式会社
電極
3日前
住友電装株式会社
コネクタ
7日前
住友電装株式会社
コネクタ
7日前
住友電装株式会社
コネクタ
7日前
日本特殊陶業株式会社
電極
3日前
続きを見る
他の特許を見る