TOP
|
特許
|
意匠
|
商標
特許ウォッチ
Twitter
他の特許を見る
10個以上の画像は省略されています。
公開番号
2025144278
公報種別
公開特許公報(A)
公開日
2025-10-02
出願番号
2024043982
出願日
2024-03-19
発明の名称
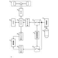
監視システム
出願人
いすゞ自動車株式会社
代理人
弁理士法人鷲田国際特許事務所
主分類
H04N
7/18 20060101AFI20250925BHJP(電気通信技術)
要約
【課題】蓄積されるデータ量を低減することが可能な監視システムを提供する。
【解決手段】監視システムは、荷室内に配置されるカメラと、カメラの視野を調整する調整部と、荷室内における視野に入らない死角範囲が荷室内に積まれる積荷の大きさよりも大きくなるように、調整部を制御する、制御部と、を備える。例えば、積荷の大きさを取得する取得部をさらに備え、制御部は、取得された積荷の大きさに基づいて、死角範囲が積荷の大きさよりも大きくなるように、調整部を制御する。
【選択図】図1
特許請求の範囲
【請求項1】
荷室内に配置されるカメラと、
前記カメラの視野を調整する調整部と、
前記荷室内における前記視野に入らない死角範囲が荷室内に積まれる積荷の大きさよりも大きくなるように、前記調整部を制御する、制御部と、
を備える、
監視システム。
続きを表示(約 240 文字)
【請求項2】
前記積荷の大きさを取得する取得部をさらに備え、
前記制御部は、取得された前記積荷の大きさに基づいて、前記死角範囲が前記積荷の大きさよりも大きくなるように、前記調整部を制御する、
請求項1に記載の監視システム。
【請求項3】
前記積荷に付けられた無線タグに記憶された当該積荷の大きさを含む情報を読み取るリーダをさらに備え、
前記取得部は、読み取られた前記積荷の大きさを取得する、
請求項2に記載の監視システム。
発明の詳細な説明
【技術分野】
【0001】
本開示は、監視システムに関する。
続きを表示(約 1,200 文字)
【背景技術】
【0002】
従来、車両に設置されたカメラにより荷室内を撮影し、カメラの撮像画像から積荷の荷崩れや安定性を評価する監視システムが知られている。
【0003】
また、積荷の荷崩れや安定性を評価する監視システムではないが、車両前部で運転席側の一側部に装着され、運転席から死角となる車両前方が撮像可能とされると共に右折時における対向車線が撮像可能とされた撮像手段と、車室内に装着されると共に撮像手段によって撮像された画像情報を表示する表示手段とを備え、撮像手段は、死角の撮影状態においてその視野角が広く調整される監視システムが開示されている(例えば、特許文献1)。
【0004】
同様に、積荷の荷崩れや安定性を評価する監視システムではないが、カメラそれぞれの仰角、方位角、および光軸周りの回転角を、撮影方向を示す直線における当該カメラに撮影される部分の長さ、車両端部に沿う直線における当該カメラに撮影される部分の長さ、および撮影方向における死角の面積を指標として、調整するカメラ調整方法が開示されている(例えば、特許文献2)。
【先行技術文献】
【特許文献】
【0005】
特開2002-104115号公報
国際公開第01/028250号
【発明の概要】
【発明が解決しようとする課題】
【0006】
ところで、積荷は常に十分な安定性が確保されたものだけではない。積荷の荷崩れや安定性を評価する監視システムにおいて、頻繁に動きのある不安定な積荷はドライバーの心的負担を増加させ、監視システムに対しても評価に値しない無用なデータを蓄積させるため、監視システムを搭載する車両に対するメリットはない。したがって、不安定な積荷は、監視対象から除かれた非監視対象とされることが好ましい。
【0007】
なお、上記の特許文献1に記載の監視システム、および、特許文献2に記載のカメラ調整方法では、死角に基づいてカメラの視野角などを調整するものであるが、監視システムに蓄積されるデータ量を低減するものではない。
【0008】
本開示の目的は、蓄積されるデータ量を低減することが可能な監視システムを提供することである。
【課題を解決するための手段】
【0009】
上記の目的を達成するため、本開示における監視システムは、
荷室内に配置されるカメラと、
前記カメラの視野を調整する調整部と、
前記荷室内における前記視野に入らない死角範囲が荷室内に積まれる積荷の大きさよりも大きくなるように、前記調整部を制御する、制御部と、
を備える。
【発明の効果】
【0010】
本開示によれば、蓄積されるデータ量を低減することができる。
【図面の簡単な説明】
(【0011】以降は省略されています)
この特許をJ-PlatPat(特許庁公式サイト)で参照する
関連特許
いすゞ自動車株式会社
システム
3日前
いすゞ自動車株式会社
監視システム
今日
いすゞ自動車株式会社
供給システム
21日前
いすゞ自動車株式会社
供給システム
15日前
いすゞ自動車株式会社
変形検知装置
14日前
いすゞ自動車株式会社
ガス処理装置
3日前
いすゞ自動車株式会社
ガス処理装置
3日前
いすゞ自動車株式会社
浄化システム
27日前
いすゞ自動車株式会社
制御システム
1日前
いすゞ自動車株式会社
取付構造及び車両
6日前
いすゞ自動車株式会社
接続構造及び車両
3日前
いすゞ自動車株式会社
EGRシステム及び車両
3日前
いすゞ自動車株式会社
歯車、減速機、及び、車両
3日前
いすゞ自動車株式会社
内燃機関ユニット及び車両
3日前
いすゞ自動車株式会社
ヘッドカバー、内燃機関、及び、車両
7日前
いすゞ自動車株式会社
排気浄化制御装置及び排気浄化制御方法
14日前
いすゞ自動車株式会社
排気浄化制御装置及び排気浄化制御方法
15日前
いすゞ自動車株式会社
オイル供給機構、内燃機関ユニット及び車両
3日前
いすゞ自動車株式会社
エアコンプレッサ、内燃機関アセンブリ、及び、車両
3日前
いすゞ自動車株式会社
負荷装置アセンブリ、内燃機関アセンブリ、及び、車両
3日前
いすゞ自動車株式会社
バッテリーセルホルダ、バッテリーモジュール、およびバッテリーパック
今日
いすゞ自動車株式会社
車両、並びに、車両上での水素ガスの取得及び炭素を含む固形物の回収方法
3日前
トヨタ自動車株式会社
電動車両
22日前
トヨタ自動車株式会社
電動車両
22日前
トヨタ自動車株式会社
電動車両
22日前
トヨタ自動車株式会社
電気自動車
22日前
トヨタ自動車株式会社
バッテリ搭載構造
22日前
トヨタ自動車株式会社
バッテリ搭載構造
22日前
トヨタ自動車株式会社
バッテリパックの搭載構造及び電気自動車
22日前
個人
店内配信予約システム
2か月前
WHISMR合同会社
収音装置
21日前
サクサ株式会社
中継装置
2か月前
キヤノン株式会社
撮像装置
3か月前
キヤノン株式会社
電子機器
2か月前
キヤノン株式会社
撮像装置
1か月前
アイホン株式会社
電気機器
15日前
続きを見る
他の特許を見る