TOP
|
特許
|
意匠
|
商標
特許ウォッチ
Twitter
他の特許を見る
公開番号
2025145277
公報種別
公開特許公報(A)
公開日
2025-10-03
出願番号
2024045368
出願日
2024-03-21
発明の名称
エンジン制御装置
出願人
トヨタ自動車株式会社
代理人
個人
,
個人
主分類
F02D
41/06 20060101AFI20250926BHJP(燃焼機関;熱ガスまたは燃焼生成物を利用する機関設備)
要約
【課題】空燃比フィードバック制御のサブフィードバックを早期から適正に実施できるようにする。
【解決手段】三元触媒装置18の上流に設置されたフロント空燃比センサ24の排気空燃比の検出値を目標空燃比とすべく燃料噴射量を調整するメインフィードバックと、三元触媒装置18の下流に設置されたリア空燃比センサ25の検出結果に基づき、メインフィードバックの目標空燃比を、リーン側目標空燃比とリッチ側目標空燃比とに交互に切替えるサブフィードバックと、を通じて空燃比フィードバック制御を行うエンジン制御装置20は、エンジン10の冷間運転時には、温間運転時よりもリーン側の空燃比をリーン側目標空燃比の値として設定している。
【選択図】図1
特許請求の範囲
【請求項1】
三元触媒装置が排気通路に設置されたエンジンの空燃比を制御するエンジン制御装置であって、
前記排気通路における前記三元触媒装置よりも上流側の部分に設置されたフロント空燃比センサによる空燃比の検出値を目標空燃比とすべく燃料噴射量を調整するメインフィードバックと、
前記排気通路における前記三元触媒装置よりも下流側の部分に設置されたリア空燃比センサの検出結果に基づき、理論空燃比よりもリーン側の空燃比であるリーン側目標空燃比と理論空燃比よりもリッチ側の空燃比であるリッチ側目標空燃比とに前記目標空燃比を交互に切替えるサブフィードバックと、
前記エンジンの冷間運転時には、温間運転時よりもリーン側の空燃比を前記リーン側目標空燃比の値として設定することと、
を実施するエンジン制御装置。
続きを表示(約 110 文字)
【請求項2】
前記エンジンの冷間運転時における前記リーン側目標空燃比の値を、エンジン水温の上昇に応じて温間運転時の値に近づくように、前記エンジン水温に応じて可変設定する請求項1に記載のエンジン制御装置。
発明の詳細な説明
【技術分野】
【0001】
本発明は、エンジン制御装置に関する。
続きを表示(約 2,700 文字)
【背景技術】
【0002】
特許文献1に見られるように、メインフィードバックとサブフィードバックとの2つのフィードバックを通じて空燃比のフィードバック制御を行うエンジン制御装置が知られている。メインフィードバックは、三元触媒装置の上流に設置されたフロント側空燃比センサによる空燃比の検出値を目標空燃比に近づけるように燃料噴射量を調整することで行われる。サブフィードバックは、三元触媒装置の下流に設置されたリア側空燃比センサの検出結果に基づき、メインフィードバック処理の目標空燃比を、リーン側目標空燃比とリッチ側目標空燃比とに交互に切替えることで行われる。
【先行技術文献】
【特許文献】
【0003】
特開2013-130119号公報
【発明の概要】
【発明が解決しようとする課題】
【0004】
エンジンのエミッション性能を向上するには、エンジンの冷間運転時からサブフィードバックを開始することが望ましい。しかしながら、冷間時には空燃比センサが正確な空燃比を検出できない。そのため、空燃比センサが十分に温まる前にサブフィードバックを開始すると、空燃比を適切に制御できずにエミッションが悪化する虞がある。
【課題を解決するための手段】
【0005】
上記課題を解決するエンジン制御装置は、三元触媒装置が排気通路に設置されたエンジンの空燃比を制御するエンジン制御装置であって、前記排気通路における前記三元触媒装置よりも上流側の部分に設置されたフロント空燃比センサによる空燃比の検出値を目標空燃比とすべく燃料噴射量を調整するメインフィードバックと、前記排気通路における前記三元触媒装置よりも下流側の部分に設置されたリア空燃比センサの検出結果に基づき、理論空燃比よりもリーン側の空燃比であるリーン側目標空燃比と理論空燃比よりもリッチ側の空燃比であるリッチ側目標空燃比とに前記目標空燃比を交互に切替えるサブフィードバックと、前記エンジンの冷間運転時には、温間運転時よりもリーン側の空燃比を前記リーン側目標空燃比の値として設定することと、を実施する。
【発明の効果】
【0006】
上記エンジン制御装置には、空燃比フィードバック制御のサブフィードバックを早期から適正に実施可能とする効果がある。
【図面の簡単な説明】
【0007】
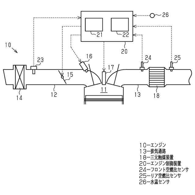
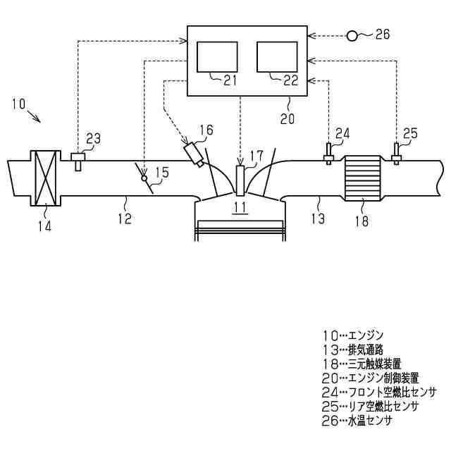
エンジン制御装置の一実施形態の構成を模式的に示す図である。
上記エンジン制御装置が実行する処理のフローチャートである。
(a)はリア空燃比センサのリーンずれ量とエンジン水温との関係を、(b)はリーン補正量とエンジン水温との関係を、それぞれ示すグラフである。
冷間運転時のリーン側目標空燃比のリーン補正を行わない場合の、(a)はエンジン水温の推移を、(b)はリーンずれ量の推移を、(c)はメインフィードバックの目標空燃比の推移を、(d)はフロント排気空燃比の推移を、(e)はリア排気空燃比の推移を、(f)はアンモニア排出量の推移を、それぞれ示すタイムチャートである。
冷間運転時のリーン側目標空燃比のリーン補正を行う本実施形態の場合の、(a)はエンジン水温の推移を、(b)はリーンずれ量の推移を、(c)はメインフィードバックの目標空燃比の推移を、(d)はフロント排気空燃比の推移を、(e)はリア排気空燃比の推移を、(f)はアンモニア排出量の推移を、それぞれ示すタイムチャートである。
【発明を実施するための形態】
【0008】
以下、エンジン制御装置の一実施形態を、図1~図5を参照して詳細に説明する。
<エンジン制御装置の構成>
まず、図1を参照して、本実施形態のエンジン制御装置20の構成を説明する。
【0009】
図1に示すように、本実施形態のエンジン制御装置20が適用されるエンジン10は、混合気の燃焼を行う燃焼室11と、燃焼室11への吸気の導入路である吸気通路12と、燃焼室11からの排気の排出路である排気通路13と、を備えている。吸気通路12には、エアクリーナ14、スロットルバルブ15、及びインジェクタ16が設置されている。エアクリーナ14は、吸気中の塵等を除去するためのフィルタである。スロットルバルブ15は、吸気通路12を流れる吸気の流量を調整するためのバルブである。インジェクタ16は、吸気通路12を通じて燃焼室11に導入される吸気中に燃料を噴射する弁である。燃焼室11には、吸気通路12を通じて導入された吸気とインジェクタ16が噴射した混合気を火花放電により点火する点火装置17が設置されている。排気通路13には、排気を浄化するための三元触媒装置18が設置されている。三元触媒装置18には、三元触媒が担持されている。三元触媒装置18は、酸素ストレージ能を有している。
【0010】
エンジン10は、エンジン制御装置20により制御されている。エンジン制御装置20は、エンジン制御用の電子制御モジュールである。エンジン制御装置20は、演算処理装置21と記憶装置22とを備えている。記憶装置22には、エンジン制御用のプログラムやデータが予め記憶されている。エンジン制御装置20は、記憶装置22に記憶されたプログラムを演算処理装置21が読み込んで実行することで、エンジン制御に係る各種の処理を実行する。エンジン制御装置20には、エンジン10の運転状況を検出するための各種センサの検出信号が入力されている。そうしたセンサには、エアフローメータ23、フロント空燃比センサ24、リア空燃比センサ25、及び水温センサ26が含まれる。エアフローメータ23は、吸気通路12を流れる吸気の流量である吸入空気量GAを検出するセンサである。フロント空燃比センサ24は、排気通路13における三元触媒装置18よりも上流側の部分に設置された空燃比センサである。リア空燃比センサ25は、排気通路13における三元触媒装置18よりも下流側の部分に設置された空燃比センサである。水温センサ26は、エンジン10の冷却水の温度であるエンジン水温THWを検出するセンサである。以下の説明では、フロント空燃比センサ24の空燃比検出値をフロント排気空燃比FRAF、リア空燃比センサ25の空燃比検出値をリア排気空燃比RRAFと記載する。更に、燃焼室11で燃焼される混合気の空燃比を燃焼空燃比と記載する。
(【0011】以降は省略されています)
この特許をJ-PlatPat(特許庁公式サイト)で参照する
関連特許
個人
流体式推力方向制御装置
9日前
朝日電装株式会社
スロットルグリップ装置
9日前
トヨタ自動車株式会社
閾値の設定装置
9日前
トヨタ自動車株式会社
エンジン制御装置
5日前
株式会社デンソートリム
エンジン制御装置
5日前
日産自動車株式会社
内燃機関
5日前
日産自動車株式会社
内燃機関
5日前
本田技研工業株式会社
EGRバルブ制御装置
9日前
トヨタ自動車株式会社
内燃機関の燃料供給装置
9日前
トヨタ自動車株式会社
エンジン制御装置
9日前
トヨタ自動車株式会社
内燃機関の燃料供給装置
5日前
トヨタ自動車株式会社
インジェクタの制御装置
7日前
ヤンマーホールディングス株式会社
エンジン装置
7日前
ヤンマーホールディングス株式会社
エンジン装置
7日前
ヤンマーホールディングス株式会社
エンジン装置
7日前
大阪瓦斯株式会社
発電設備、及び発電方法
7日前
ヤンマーホールディングス株式会社
エンジン装置
7日前
ヤンマーホールディングス株式会社
エンジン装置
7日前
ヤンマーホールディングス株式会社
エンジン装置
7日前
ヤンマーホールディングス株式会社
エンジン装置
7日前
トヨタ自動車株式会社
内燃機関の燃料噴射制御装置
7日前
ヤンマーホールディングス株式会社
エンジンシステム
7日前
株式会社豊田自動織機
燃料噴射弁
13日前
いすゞ自動車株式会社
制御システム
7日前
本田技研工業株式会社
内燃機関
12日前
株式会社SUBARU
燃料タンク処理装置
1日前
株式会社SUBARU
燃料タンク処理装置
1日前
カワサキモータース株式会社
エンジン
9日前
日産自動車株式会社
ターボ過給機付き内燃機関
5日前
ヤンマーホールディングス株式会社
アンモニア混焼エンジン
7日前
ヤンマーホールディングス株式会社
アンモニア混焼エンジン
7日前
トヨタ自動車株式会社
シリンダ加熱装置
5日前
三菱自動車工業株式会社
内燃機関
1日前
ヤンマーホールディングス株式会社
エンジン
9日前
マツダ株式会社
エンジンの排気バルブ制御装置
5日前
いすゞ自動車株式会社
EGRシステム及び車両
9日前
続きを見る
他の特許を見る