TOP
|
特許
|
意匠
|
商標
特許ウォッチ
Twitter
他の特許を見る
10個以上の画像は省略されています。
公開番号
2025141701
公報種別
公開特許公報(A)
公開日
2025-09-29
出願番号
2024041755
出願日
2024-03-15
発明の名称
レール締結装置の組立方法とその分解方法及びレール締結装置の交換方法
出願人
公益財団法人鉄道総合技術研究所
,
株式会社丸上製作所
代理人
個人
主分類
E01B
9/30 20060101AFI20250919BHJP(道路,鉄道または橋りょうの建設)
要約
【課題】レール締結装置を簡単に組立及び分解し、レール締結装置を螺締式から無螺締式に簡単に交換することができるレール締結装置の組立方法とその分解方法及びレール締結装置の交換方法を提供する。
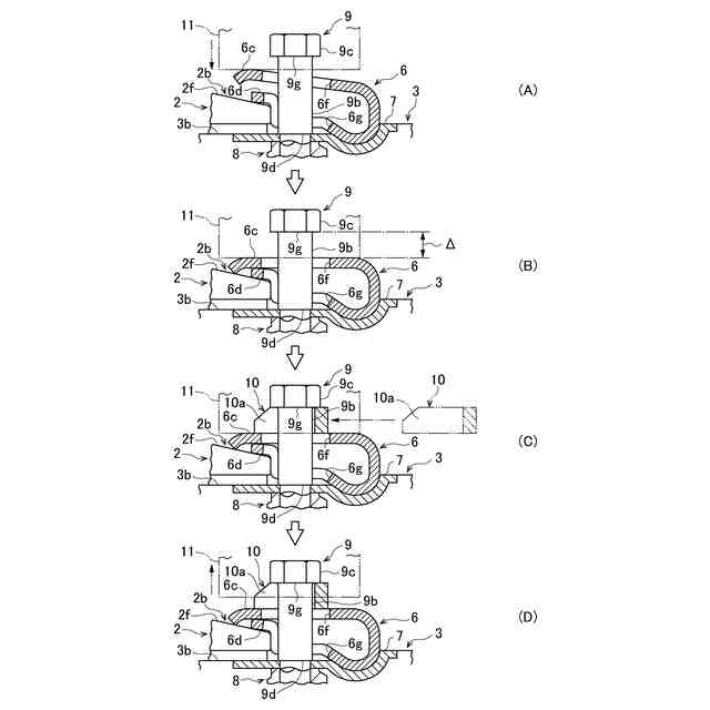
【解決手段】レール2を支持体3に締結するレール締結装置4の組立方法であって、レール2を押え付ける締結ばね6と、支持体3に取り付けられる固定部材9との間に、挿入部材10を挿入するための隙間Δが形成されるように、締結ばね6に荷重作用部11から荷重を作用させる荷重作用工程を含む。荷重作用工程は、締結ばね6が圧縮されるように締結ばね6に荷重作用部11から荷重を作用させる工程を含む。組立方法は、締結ばね6と固定部材9との間の隙間Δに挿入部材10を挿入する挿入工程と、締結ばね6に作用させる荷重を除荷して締結ばね6の締結力によって、締結ばね6と固定部材9との間に挿入部材10を挟み込む挟み込み工程とを含む。
【選択図】図14
特許請求の範囲
【請求項1】
レールを支持体に締結するレール締結装置の組立方法であって、
前記レールを押え付ける締結ばねと、前記支持体に取り付けられる固定部材との間に、挿入部材を挿入するための隙間が形成されるように、この締結ばねに荷重作用部から荷重を作用させる荷重作用工程を含むこと、
を特徴とするレール締結装置の組立方法。
続きを表示(約 1,500 文字)
【請求項2】
請求項1に記載のレール締結装置の組立方法において、
前記荷重作用工程は、前記締結ばねが圧縮されるようにこの締結ばねに前記荷重作用部から荷重を作用させる工程を含むこと、
を特徴とするレール締結装置の組立方法。
【請求項3】
請求項1に記載のレール締結装置の組立方法において、
前記締結ばねと前記固定部材との間の隙間に前記挿入部材を挿入する挿入工程と、
前記締結ばねに作用させる荷重を除荷してこの締結ばねの復元力によって、この締結ばねと前記固定部材との間に前記挿入部材を挟み込む挟み込み工程とを含むこと、
を特徴とするレール締結装置の組立方法。
【請求項4】
レールを支持体に締結するレール締結装置の分解方法であって、
レールを押え付ける締結ばねと、前記支持体に取り付けられる固定部材との間に挿入された挿入部材を、これらの間から取り外すための隙間が形成されるように、この締結ばねに荷重作用部から荷重を作用させる荷重作用工程を含むこと、
を特徴とするレール締結装置の分解方法。
【請求項5】
請求項4に記載のレール締結装置の分解方法において、
前記荷重作用工程は、前記締結ばねが圧縮されるようにこの締結ばねに前記荷重作用部から荷重を作用させる工程を含むこと、
を特徴とするレール締結装置の分解方法。
【請求項6】
請求項4に記載のレール締結装置の分解方法において、
前記締結ばねと前記固定部材との間から前記挿入部材を取り外す取り外し工程を含むこと、
を特徴とするレール締結装置の分解方法。
【請求項7】
ねじ機構を使用して締結する螺締式レール締結装置を、ねじ機構を使用せずに締結する無螺締式レール締結装置に交換するレール締結装置の交換方法であって、
前記螺締式レール締結装置の締結ボルトを、レールを支持する支持体から取り外す締結ボルト取り外し工程と、
前記無螺締式レール締結装置の固定部材を前記支持体に取り付ける固定部材取り付け工程と、
前記レールを押え付ける締結ばねを、前記固定部材に取り付ける締結ばね取り付け工程と、
前記無螺締式レール締結装置の挿入部材を挿入するための隙間が前記締結ばねと前記固定部材との間に形成されるように、この締結ばねに荷重作用部から荷重を作用させる荷重作用工程と、
を含むレール締結装置の交換方法。
【請求項8】
請求項7に記載のレール締結装置の交換方法において、
前記荷重作用工程は、前記締結ばねが圧縮されるようにこの締結ばねに前記荷重作用部から荷重を作用させる工程を含むこと、
を特徴とするレール締結装置の交換方法。
【請求項9】
請求項7に記載のレール締結装置の交換方法において、
前記締結ばねと前記固定部材との間の隙間に前記挿入部材を挿入する挿入工程と、
前記締結ばねに作用させる荷重を除荷してこの締結ばねの復元力によって、この締結ばねと前記固定部材との間に前記挿入部材を挟み込む挟み込み工程とを含むこと、
を特徴とするレール締結装置の交換方法。
【請求項10】
請求項7に記載のレール締結装置の交換方法において、
前記締結ばね取り付け工程は、前記固定部材の頭部に前記締結ばねの通し部を通して、この固定部材にこの締結ばねを取り付ける工程を含むこと、
を特徴とするレール締結装置の交換方法。
(【請求項11】以降は省略されています)
発明の詳細な説明
【技術分野】
【0001】
この発明は、レールを支持体に締結するレール締結装置を組み立てるレール締結装置の組立方法、及びレールを支持体に締結するレール締結装置を分解するレール締結装置の分解方法、及びねじ機構を使用して締結する螺締式レール締結装置を、ねじ機構を使用せずに締結する無螺締式レール締結装置に交換するレール締結装置の交換方法に関する。
続きを表示(約 1,700 文字)
【背景技術】
【0002】
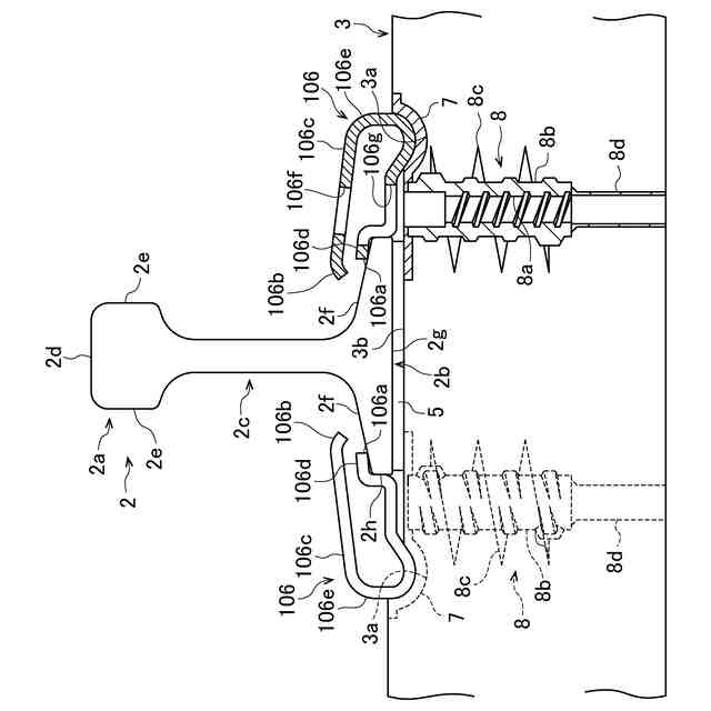
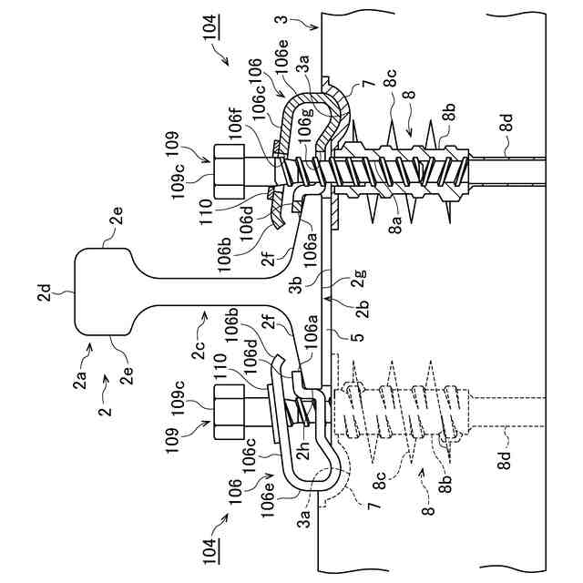
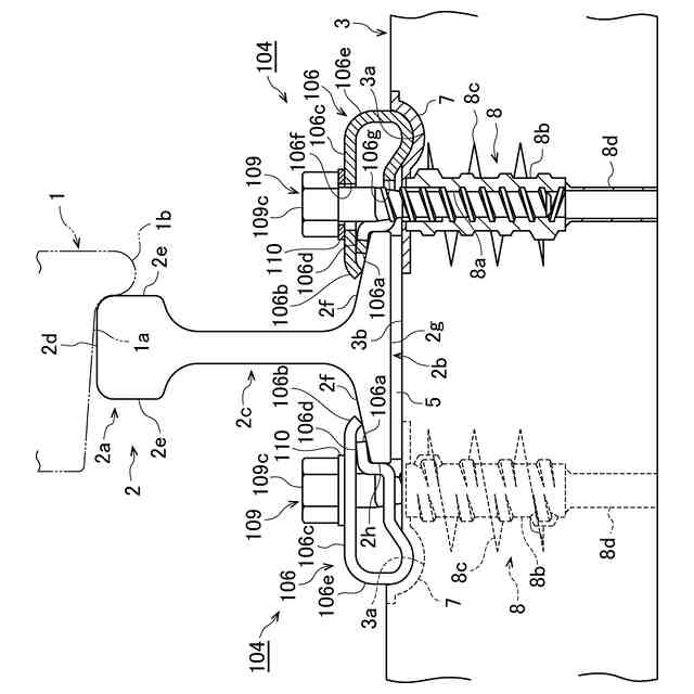
日本では、レール締結装置は板ばねをボルト・ナット締結体で締結する螺締式が主流である。例えば、従来の5形レール締結装置(以下、従来技術1という)は、レールの底部上面を押え付ける締結ばねと、レールを支持するPCまくらぎに埋め込まれたこの締結ばねの端部を支持する受け栓と、PCまくらぎに埋め込まれた埋込栓と、この埋込栓にねじ込まれてこの締結ばねを締結する締結ボルトとを備えている(例えば、非特許文献1参照)。
【0003】
近年、締結後に所定の性能を発揮し以降の維持管理が不要で、保守の省力化・低コスト化に資する線ばねを用いた無螺締式の締結装置の敷設が拡大している。例えば、従来の線ばね形レール締結装置(以下、従来技術2という)は、レールの底部上面を押え付ける線ばねと、PCまくらぎに埋め込まれておりこの線ばねの一端を押し込むことによって嵌め込まれるショルダと、この線ばねとレールの底部上面との間に挟み込まれてこれらの間を電気的に絶縁するインシュレータとを備えている(例えば、非特許文献1参照)。
【0004】
一方、無螺締式の採用にあたり、専用の締結機構を設けたレール支承体(PCまくらぎ等)への交換が必須で、導入コストが高いことが普及を阻む要因となっている。例えば、従来技術1の螺締式のレール締結装置を従来技術2の線ばね形レール締結装置に変更する場合には、螺締式のレール締結装置の埋込栓を、線ばね形レール締結装置のショルダに変更する必要がある。この場合、埋込栓が埋め込まれた既設のPCまくらぎを、ショルダが埋め込まれたPCまくらぎに交換する必要があり、交換作業に手間がかかるとともにコストが高くなってしまう課題がある。
【0005】
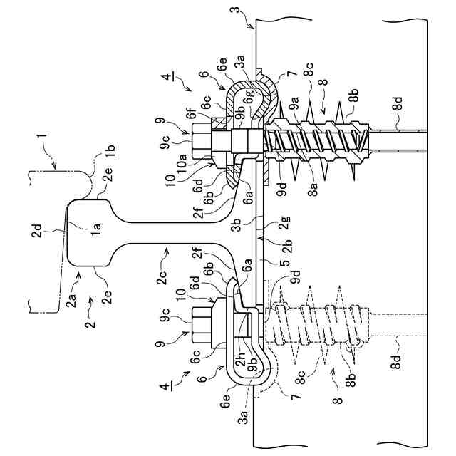
上記課題に対し既設のレール支承体を交換することなく無螺締式に切り替えることのできるように、既存のレール支承体を活用した無螺締レール締結方法が提案されている。従来のレール締結装置(以下、従来技術3という)は、支承体に固定された軸部材と、支承体と軸部材の頭部との間に配置されたばね部材と、軸部材の軸部を囲むようにばね部材と頭部との間に挿入された枠部材とを備えている(例えば、特許文献1参照)。
【先行技術文献】
【特許文献】
【0006】
「第66回 レール締結装置」,RRR,一般財団法人研友社,2017年,74巻,第11号,p.28-31
【0007】
特開2023-041500号公報
【発明の概要】
【発明が解決しようとする課題】
【0008】
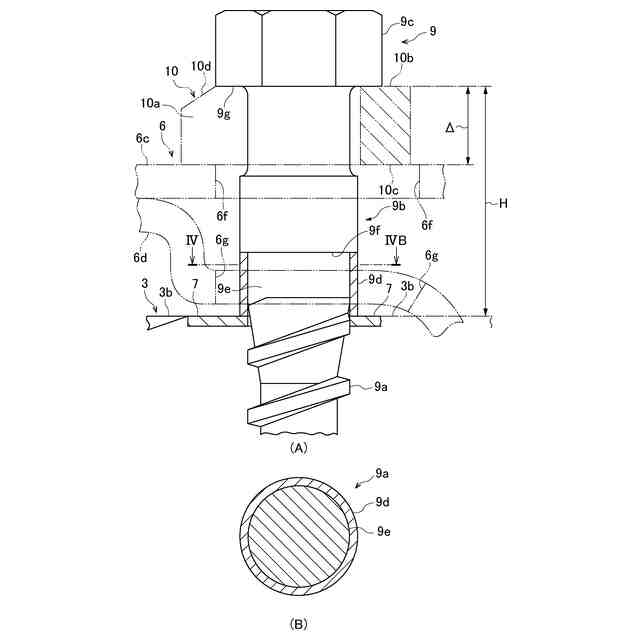
従来技術3は、レール締結装置を施工するときに、軸部材の頭部とばね部材との間に枠部材を挿入する必要がある。しかし、従来技術3では、軸部材の頭部とばね部材との間に枠部材を挿入するときに、ばね部材の復元力に抗してこれらの間に枠部材を挿入するためには過大な力が必要となり、作業に手間がかかる問題点がある。
【0009】
この発明の課題は、レール締結装置を簡単に組立及び分解することができるとともに、レール締結装置を螺締式から無螺締式に簡単に交換することができるレール締結装置の組立方法とその分解方法及びレール締結装置の交換方法を提供することである。
【課題を解決するための手段】
【0010】
この発明は、以下に記載するような解決手段により、前記課題を解決する。
なお、この発明の実施形態に対応する符号を付して説明するが、この実施形態に限定するものではない。
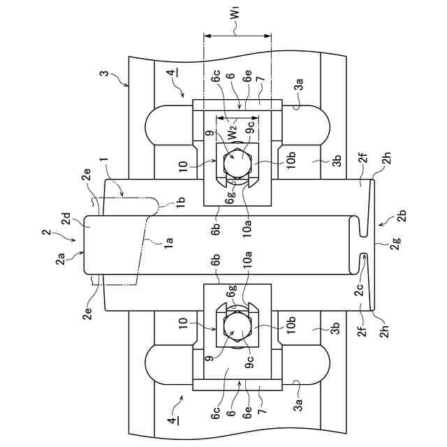
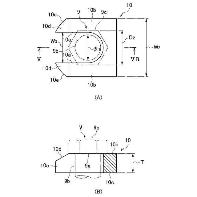
請求項1の発明は、図1、図2、図4、図6、図13、図14、図17、図18、図20及び図22に示すように、レール(2)を支持体(3;12)に締結するレール締結装置の組立方法であって、前記レールを押え付ける締結ばね(6)と、前記支持体に取り付けられる固定部材(9)との間に、挿入部材(10)を挿入するための隙間(Δ)が形成されるように、この締結ばねに荷重作用部(11)から荷重を作用させる荷重作用工程(#230)を含むことを特徴とするレール締結装置の組立方法(#200)である。
(【0011】以降は省略されています)
この特許をJ-PlatPat(特許庁公式サイト)で参照する
関連特許
日本精機株式会社
路面投影装置
1か月前
GX株式会社
仮設防護体
21日前
範多機械株式会社
路面切削機
1か月前
株式会社熊谷組
床版接合構造
2日前
GX株式会社
昇降式仮設防護体
12日前
GX株式会社
仮設防護体連結構造
1か月前
前田工繊株式会社
防護柵
14日前
株式会社熊谷組
床版継手装置、及び、床版
2日前
中井商工株式会社
橋梁の桁端止水工法
2日前
浅香工業株式会社
レーキ
9日前
株式会社トップ
立て看板用スロープおよび立て看板
1か月前
株式会社幸和道路
自走式道路路面標示文字描画車両
20日前
株式会社三共
足場用移動屋根装置及び橋梁用足場
22日前
十武建設株式会社
舗装材吹付け装置、および吹付け施工方法
20日前
株式会社NIPPO
法面機械
12日前
酒井重工業株式会社
振動ローラ
1か月前
株式会社栗本鐵工所
検査路及びステップ
29日前
株式会社大林組
新設床版の設置工法
1か月前
共和ゴム株式会社
床版敷設シール材
26日前
株式会社NIPPO
路面切削装置及び路面切削方法
1か月前
株式会社NIPPO
法面作業装置
12日前
株式会社NIPPO
法面作業装置
12日前
日本環境アメニティ株式会社
吊下げ式減音装置及び高架橋
1か月前
五洋建設株式会社
床版部材設置装置及び床版部材の設置方法
20日前
株式会社NIPPO
コンクリート舗装の施工方法
2日前
ベルテクス株式会社
壁高欄部材及び壁高欄
1か月前
株式会社NIPPO
半たわみ性舗装及びその施工方法
1か月前
大成建設株式会社
床版接合部の設計方法
2日前
株式会社NIPPO
コンクリート舗装及びその施工方法
2日前
オリエンタル白石株式会社
床版設置高さ調整機構及び床版取替工法
1か月前
株式会社奥村組
鉄筋コンクリート柱の補強工法
1か月前
株式会社奥村組
鉄筋コンクリート柱の補強工法
1か月前
株式会社NIPPO
再生アスファルト混合物の製造方法
20日前
株式会社NIPPO
再生アスファルト混合物の製造方法
20日前
株式会社NIPPO
再生アスファルト混合物の製造方法
29日前
株式会社NIPPO
アスファルトフィニッシャ
23日前
続きを見る
他の特許を見る