TOP
|
特許
|
意匠
|
商標
特許ウォッチ
Twitter
他の特許を見る
10個以上の画像は省略されています。
公開番号
2025141787
公報種別
公開特許公報(A)
公開日
2025-09-29
出願番号
2024211129
出願日
2024-12-04
発明の名称
情報処理方法、情報処理装置、プログラム
出願人
株式会社リコー
代理人
弁理士法人ITOH
主分類
B22F
10/80 20210101AFI20250919BHJP(鋳造;粉末冶金)
要約
【課題】粉末成形体の形状を高精度に予測すること。
【解決手段】本発明は、情報処理装置が、焼結後の第一の造形物の形状を受け付け(S201)、焼結後の前記第一の造形物の形状と、記憶部に記憶された予測条件とに基づき、焼結前の前記第一の造形物の形状を予測し(S203)、予測した焼結前の前記第一の造形物の形状に関する情報を出力する情報処理方法であり、前記予測条件は、焼結により前記第一の造形物の粘度が第一の粘度から第二の粘度に低下する温度である温度閾値と、前記第一の粘度と、前記第二の粘度と、に基づく情報である。
【選択図】図14
特許請求の範囲
【請求項1】
情報処理装置が、
焼結後の第一の造形物の形状を受け付け、
焼結後の前記第一の造形物の形状と、記憶部に記憶された予測条件とに基づき、焼結前の前記第一の造形物の形状を予測し、
予測した焼結前の前記第一の造形物の形状に関する情報を出力する情報処理方法であり、
前記予測条件は、焼結により前記第一の造形物の粘度が第一の粘度から第二の粘度に低下する温度である温度閾値と、前記第一の粘度と、前記第二の粘度と、に基づく情報であることを特徴とする情報処理方法。
続きを表示(約 1,600 文字)
【請求項2】
情報処理装置が、
焼結前の第一の造形物の形状を受け付け、
焼結前の前記第一の造形物の形状と、記憶部に記憶された予測条件とに基づき、焼結後の前記第一の造形物の形状を予測し、
予測した焼結後の前記第一の造形物の形状に関する情報を出力する情報処理方法であり、
前記予測条件は、焼結により前記第一の造形物の粘度が第一の粘度から第二の粘度に低下する温度である温度閾値と、前記第一の粘度と、前記第二の粘度と、に基づく情報であることを特徴とする情報処理方法。
【請求項3】
前記第一の造形物の形状を受け付ける前に、
焼結前の第二の造形物の形状と、実際の焼結後の前記第二の造形物の形状を受け付け、
前記温度閾値、前記第一の粘度及び前記第二の粘度の範囲を受け付け、
前記範囲内で設定した前記温度閾値、前記第一の粘度及び前記第二の粘度に基づいて、焼結後の前記第二の造形物の形状を予測し、予測した焼結後の前記第二の造形物の形状と、実際の焼結後の前記第二の造形物の形状との第一の形状誤差を算出し、前記範囲内で設定した前記温度閾値、前記第一の粘度及び前記第二の粘度と、算出した前記第一の形状誤差とを対応付けた対応データを記憶する第一の処理を実行し、
前記第一の処理を所定の回数実行することにより記憶された複数の前記対応データに基づいて、前記予測条件を決定する請求項1又は2に記載の情報処理方法。
【請求項4】
前記第一の処理ごとに異なる組み合わせの、前記温度閾値、前記第一の粘度及び前記第二の粘度を設定する請求項3に記載の情報処理方法。
【請求項5】
前記第一の処理を所定の回数実行した後に、
複数の前記対応データを用いて、焼結後の前記第二の造形物の形状を予測し、予測した焼結後の前記第二の造形物の形状と、前記実際の焼結後の前記第二の造形物の形状との第二の形状誤差を算出する第二の処理を実行し、
前記第二の処理で算出した前記第二の形状誤差に基づいて、前記予測条件を決定する請求項3に記載の情報処理方法。
【請求項6】
前記第二の処理では、前記第一の処理とは異なる組み合わせで前記範囲内の前記温度閾値、前記第一の粘度及び前記第二の粘度を設定し、設定した前記範囲内の前記温度閾値、前記第一の粘度及び前記第二の粘度と、複数の前記対応データとに基づいて、焼結後の前記第二の造形物の形状を予測する請求項5に記載の情報処理方法。
【請求項7】
前記第二の処理で算出した前記第二の形状誤差が所定の条件を満たす場合に、前記予測条件を決定し、
前記第二の形状誤差が所定の条件を満たさない場合には、前記第二の処理を再度、実行する請求項6に記載の情報処理方法。
【請求項8】
前記第二の処理で算出した前記第二の形状誤差が所定の条件を満たさない場合には、前記第二の処理で設定した前記範囲内の前記温度閾値、前記第一の粘度及び前記第二の粘度の値と、算出した前記第二の形状誤差とを対応付けた対応データを記憶する請求項7に記載の情報処理方法。
【請求項9】
更に温度遷移領域の範囲を受け付け、
前記温度遷移領域は、焼結により前記第二の造形物の粘度が第一の粘度から第二の粘度に低下する温度の範囲であり、
前記温度閾値は、前記温度遷移領域の範囲内の値である請求項3に記載の情報処理方法。
【請求項10】
情報処理装置が、
更に前記第二の造形物の前記第一の形状誤差を算出する位置である評価ポイントを受け付け、
前記第一の形状誤差は、前記評価ポイントにおける予測した焼結後の前記第二の造形物の形状と前記実際の焼結後の前記第二の造形物の形状との誤差である請求項3に記載の情報処理方法。
(【請求項11】以降は省略されています)
発明の詳細な説明
【技術分野】
【0001】
本発明は、情報処理方法、情報処理装置、及びプログラムに関する。
続きを表示(約 1,900 文字)
【背景技術】
【0002】
従来から、粉末成形体の形状を予測する技術が知られている。例えば、特許文献1には、学習データセットを機械学習することによってモデルを作成し、造形時における三次元粉末成形体の形状をモデルで予測する技術が開示されている。
【発明の概要】
【発明が解決しようとする課題】
【0003】
しかしながら、従来の技術では、粉末成形体の形状を高精度に予測することが困難であった。
【0004】
本発明は、係る課題に鑑み、粉末成形体の形状を高精度に予測する技術を提供する。
【課題を解決するための手段】
【0005】
上記課題に鑑み、本発明は、情報処理装置が、焼結後の第一の造形物の形状を受け付け、焼結後の前記第一の造形物の形状と、記憶部に記憶された予測条件とに基づき、焼結前の前記第一の造形物の形状を予測し、予測した焼結前の前記第一の造形物の形状に関する情報を出力する情報処理方法であり、前記予測条件は、焼結により前記第一の造形物の粘度が第一の粘度から第二の粘度に低下する温度である温度閾値と、前記第一の粘度と、前記第二の粘度と、に基づく情報であることを特徴とする。
【0006】
また、本発明は、情報処理装置が、焼結前の第一の造形物の形状を受け付け、焼結前の前記第一の造形物の形状と、記憶部に記憶された予測条件とに基づき、焼結後の前記第一の造形物の形状を予測し、予測した焼結後の前記第一の造形物の形状に関する情報を出力する情報処理方法であり、前記予測条件は、焼結により前記第一の造形物の粘度が第一の粘度から第二の粘度に低下する温度である温度閾値と、前記第一の粘度と、前記第二の粘度と、に基づく情報であることを特徴とする。
【発明の効果】
【0007】
本発明は、粉末成形体の形状を高精度に予測できる。
【図面の簡単な説明】
【0008】
本発明の一実施形態に係る造形装置利用システムのシステム構成図である。
本発明の一実施形態に係る造形システムのシステム構成図である。
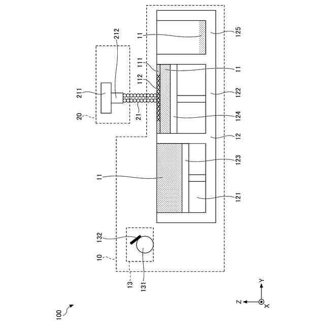
本発明の一実施形態に係る造形装置の構成図である。
本発明の一実施形態に係る造形方法を説明するフローチャート図である。
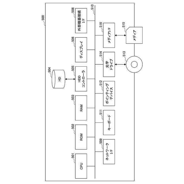
本発明の一実施形態に係る情報処理装置及びクラウドサーバのハードウェア構成図である。
本発明の一実施形態に係る情報処理装置の機能ブロック図である。
本発明の一実施形態に係る温度/粘度カーブを示す図である。
本発明の一実施形態に係る温度/粘度カーブを示す図である。
本発明の一実施形態に係る情報処理装置2が行う処理を示すフローチャート図である。
本発明の一実施形態に係る粉末成形体のモデル形状を示す図である。
形状誤差評価部が記録した対応データ(第一の粘度、第二の粘度、温度閾値、評価ポイントの形状誤差)の一例を示す図である。
本発明の一実施形態に係る機械学習を使用した回帰モデル構築部の機能ブロック図である。
本発明の一実施形態に係る焼結シミュレーションの結果を示す断面図である。
図9の処理で決定された最適なパラメーター(温度閾値、第一の粘度、第二の粘度)を用いたシミュレーションの流れを説明する一例のフローチャート図である。
図9の処理で決定された最適なパラメーター(温度閾値、第一の粘度、第二の粘度)を用いた逆解析によるシミュレーションの流れを説明する一例のフローチャート図である。
【発明を実施するための形態】
【0009】
以下、本発明を実施するための形態の一例として情報処理装置と、情報処理装置が行う情報処理方法について図面を参照しながら説明する。
<有限要素法>
有限要素法(Finite Element Method : FEM)とは、解析対象を微小な要素で構成される解析要素に分割し、各解析要素の方程式を解き、連結させることで、全体の方程式を解く方法である。FEMは方程式として支配方程式が用いられる。また、本実施形態の支配方程式は、粘性構成方程式が組み込まれる。粘性構成方程式は、材料の応力とひずみ速度の関係を示す。本実施形態では、情報処理装置が、有限要素法に基づいて粉末成形体又は最終成形体の形状を予測する。
【0010】
粉末成形体の形状は、所定の部位の寸法や角度等で表される。粉末成形体の形状は、モデル形状からの寸法や角度の差異で表されてもよい。
(【0011】以降は省略されています)
この特許をJ-PlatPat(特許庁公式サイト)で参照する
関連特許
株式会社リコー
画像形成装置
8日前
株式会社リコー
液体塗布装置
9日前
株式会社リコー
画像形成装置
5日前
株式会社リコー
画像形成装置
5日前
株式会社リコー
画像形成装置
1日前
株式会社リコー
画像形成装置
5日前
株式会社リコー
印刷システム
5日前
株式会社リコー
感熱記録媒体
2日前
株式会社リコー
生体情報測定装置
2日前
株式会社リコー
拡張アンテナ装置
8日前
株式会社リコー
印刷応答補償機構
9日前
株式会社リコー
画像形成システム
1日前
株式会社リコー
マーキングシステム
8日前
株式会社リコー
液体を吐出する装置
2日前
株式会社リコー
電極及びその製造方法
5日前
株式会社リコー
電極及びその製造方法
3日前
株式会社リコー
多孔質構造体の製造方法
5日前
株式会社リコー
定着装置及び画像形成装置
9日前
株式会社リコー
定着装置及び画像形成装置
15日前
株式会社リコー
ファイル分析・保存システム
5日前
株式会社リコー
センサ素子及びセンサアレイ
15日前
株式会社リコー
パルスバルブおよび塗布装置
5日前
株式会社リコー
センサ素子及びセンサアレイ
15日前
株式会社リコー
液吐出装置、及び液吐出方法
9日前
株式会社リコー
塗装システム、及び塗装方法
5日前
株式会社リコー
液体塗布装置および洗浄方法
5日前
株式会社リコー
印刷装置および印刷システム
1日前
株式会社リコー
定着装置、及び、画像形成装置
5日前
株式会社リコー
定着装置、及び、画像形成装置
5日前
株式会社リコー
液体吐出装置及び液体吐出方法
1日前
株式会社リコー
後処理装置および画像形成装置
5日前
株式会社リコー
液体吐出装置、及び液体吐出方法
5日前
株式会社リコー
レーザ照射装置、レーザ照射方法
5日前
株式会社リコー
ベルト装置、及び、画像形成装置
1日前
株式会社リコー
パーソナライズビデオメカニズム
3日前
株式会社リコー
システム、方法およびプログラム
1日前
続きを見る
他の特許を見る