TOP
|
特許
|
意匠
|
商標
特許ウォッチ
Twitter
他の特許を見る
公開番号
2025128754
公報種別
公開特許公報(A)
公開日
2025-09-03
出願番号
2024025641
出願日
2024-02-22
発明の名称
媒体処理装置
出願人
沖電気工業株式会社
代理人
個人
主分類
G07D
11/14 20190101AFI20250827BHJP(チェック装置)
要約
【課題】簡易な構成で、媒体が滞留していることを利用者に知らせることができるようにする。
【解決手段】媒体投入口と、前記媒体投入口と繋がっていて、投入された媒体を受け入れて前記媒体投入口へと案内する媒体投入皿と、前記媒体投入皿の上方に設けられ、前記媒体投入口周辺を映すミラーとを備える。
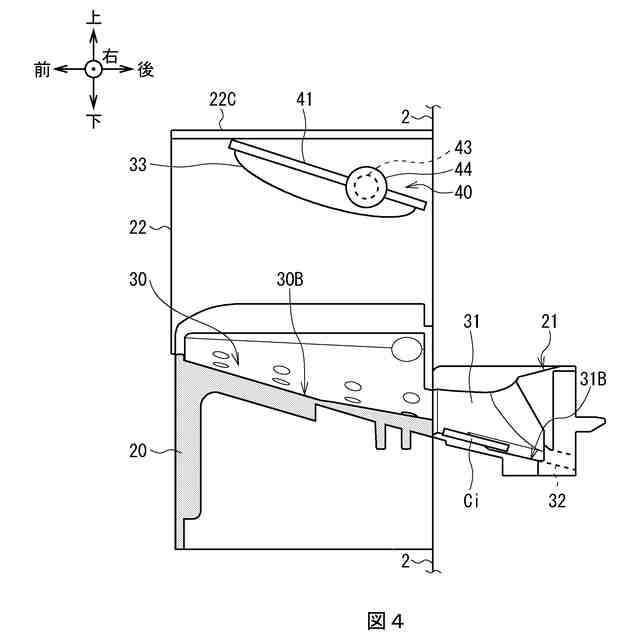
【選択図】図4
特許請求の範囲
【請求項1】
媒体投入口と、
前記媒体投入口と繋がっていて、投入された媒体を受け入れて前記媒体投入口へと案内する媒体投入皿と、
前記媒体投入皿の上方に設けられ、前記媒体投入口周辺を映すミラーと
を備える
ことを特徴とする媒体処理装置。
続きを表示(約 780 文字)
【請求項2】
前記ミラーは、
装置正面に対峙する利用者が前記ミラーを下から見上げるように見たときに、前記媒体投入口周辺が映る角度で取り付けられている
ことを特徴とする請求項1に記載の媒体処理装置。
【請求項3】
前記媒体投入皿の上方を覆うカバーをさらに備え、
前記カバーの内側に前記ミラーが取り付けられている
ことを特徴とする請求項2に記載の媒体処理装置。
【請求項4】
前記カバーは、
装置正面から見てアーチ状であり、
前記カバーの上端に位置する天井部の内側に前記ミラーが取り付けられている
ことを特徴とする請求項3に記載の媒体処理装置。
【請求項5】
前記ミラーの角度を調整する為のミラー角度調整機構をさらに備える
ことを特徴とする請求項3又は4に記載の媒体処理装置。
【請求項6】
前記媒体投入口は、
装置正面から見て前記媒体投入皿の後方に位置し、
前記ミラー角度調整機構は、
装置正面から見て左右方向に延びていて前記カバーに支持される回転軸を有し、前記回転軸に前記ミラーが取り付けられていて、前記回転軸を回転させることで前記ミラーの角度が変化する
ことを特徴とする請求項5に記載の媒体処理装置。
【請求項7】
前記媒体投入皿の上方に、装置正面から見て前方に突出するミラー取付部を設け、
前記ミラー取付部の下面に前記ミラーが取り付けられている
ことを特徴とする請求項1又は2に記載の媒体処理装置。
【請求項8】
前記カバーは、
前記媒体投入皿に対して着脱可能に設けられている
ことを特徴とする請求項3又は4に記載の媒体処理装置。
発明の詳細な説明
【技術分野】
【0001】
本発明は、媒体処理装置に関するものである。
続きを表示(約 1,200 文字)
【背景技術】
【0002】
従来、媒体処理装置として、複数枚の硬貨を1度に投入できるようにした硬貨処理装置がある。この硬貨処理装置は、硬貨投入口と、底面が硬貨投入口に向かって傾斜している硬貨投入皿とを有していて、硬貨投入皿に投入された複数枚の硬貨が当該硬貨投入皿の底面上を滑り落ちて硬貨投入口へと案内され、硬貨投入口から装置内部へと取り込まれるようになっている(例えば特許文献1参照)。
【0003】
この硬貨処理装置では、硬貨投入皿に1度に投入可能な硬貨の枚数に比べて、装置内部で1度に処理可能な硬貨の枚数が少ない為、硬貨投入口を狭くして1度に通過できる枚数を制限するようになっている。つまり、この硬貨処理装置では、硬貨投入皿に投入された硬貨の枚数が多い場合、投入された硬貨を複数回に分けて硬貨投入口から装置内部へと取り込むようになっていた。
【先行技術文献】
【特許文献】
【0004】
特開2000-298749号公報
【発明の概要】
【発明が解決しようとする課題】
【0005】
従来の硬貨処理装置では、硬貨投入口を1度に通過できる枚数を制限するようになっていることから、例えば硬貨投入口に硬貨が詰まるなどして硬貨投入口周辺で硬貨滞留が発生する場合があり、この場合、硬貨投入口から硬貨を取り込むことができなくなってしまう。
【0006】
この為、従来の硬貨処理装置では、滞留した硬貨を検出する滞留硬貨検出センサと、滞留硬貨検出センサの検出結果を監視装置に通知する通知手段とを備え、滞留硬貨検出センサにより滞留した硬貨を検出すると、当該滞留硬貨検出センサの検出結果を通知手段により監視装置に通知することで、当該監視装置から滞留した硬貨を取り除くよう利用者に音声などで促すようになっていた。
【0007】
このように従来の硬貨処理装置では、硬貨が滞留していることを利用者に知らせて取り除いてもらう為に滞留硬貨検出センサと通知手段が必要であり、部品点数が増えて構成が複雑になってしまうという問題を有していた。
【0008】
本発明は以上の点を考慮したものであり、簡易な構成でありながら、媒体が滞留していることを利用者に知らせることができる媒体処理装置を提案しようとするものである。
【課題を解決するための手段】
【0009】
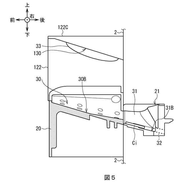
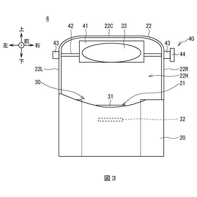
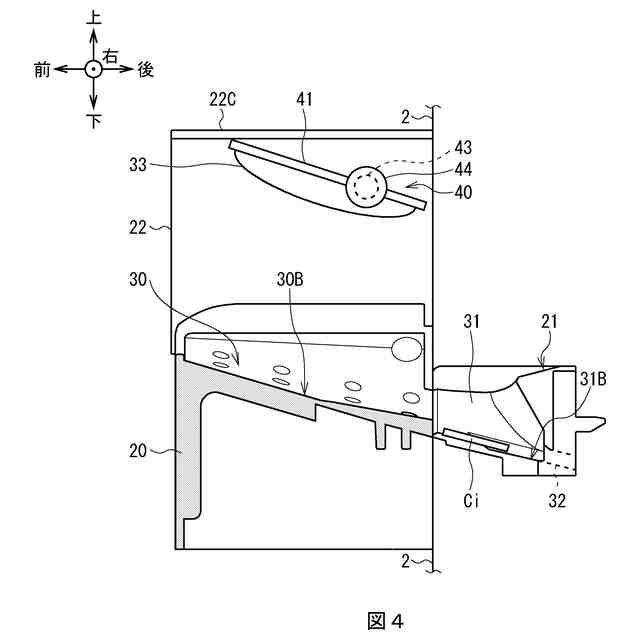
本発明の媒体処理装置は、媒体投入口と、前記媒体投入口と繋がっていて、投入された媒体を受け入れて前記媒体投入口へと案内する媒体投入皿と、前記媒体投入皿の上方に設けられ、前記媒体投入口周辺を映すミラーとを備える。
【0010】
本発明の媒体処理装置では、媒体投入口周辺に滞留している媒体がミラーに映ることにより媒体が滞留していることを利用者に視認させることができる。
【発明の効果】
(【0011】以降は省略されています)
この特許をJ-PlatPat(特許庁公式サイト)で参照する
関連特許
沖電気工業株式会社
画像形成装置
2日前
沖電気工業株式会社
電源制御装置及び画像形成装置
10日前
株式会社イシダ
商品処理装置
18日前
株式会社バンダイ
物品供給装置
3か月前
株式会社バンダイ
物品供給装置
3か月前
株式会社バンダイ
物品供給装置
3か月前
株式会社バンダイ
物品供給装置
3か月前
富士電機株式会社
通貨識別装置
2か月前
沖電気工業株式会社
媒体処理装置
2か月前
沖電気工業株式会社
媒体処理装置
1か月前
沖電気工業株式会社
施錠開閉装置
11日前
沖電気工業株式会社
紙幣処理装置
1か月前
沖電気工業株式会社
媒体処理装置
1か月前
株式会社ライト
情報処理装置
2か月前
株式会社ライト
情報処理装置
2か月前
富士電機株式会社
自動販売機
1か月前
株式会社ライト
情報処理装置
2か月前
富士電機株式会社
金銭処理装置
2か月前
株式会社デンソー
車載器
16日前
グローリー株式会社
物品投出装置
1か月前
トヨタ車体株式会社
出入検知装置
3か月前
グローリー株式会社
硬貨処理装置
3か月前
日本金銭機械株式会社
硬貨処理装置
20日前
日本金銭機械株式会社
硬貨処理装置
20日前
株式会社寺岡精工
商品登録システム
2日前
株式会社トイスピリッツ
景品提供システム
2か月前
ユニティガードシステム株式会社
入館監視システム
2か月前
パイオニア株式会社
ドライブレコーダ
3か月前
トヨタ自動車株式会社
記録装置
3か月前
沖電気工業株式会社
棒金収納装置
2か月前
沖電気工業株式会社
棒金収納装置
17日前
沖電気工業株式会社
現金処理装置
2か月前
沖電気工業株式会社
媒体処理装置
1か月前
旭精工株式会社
紙葉類処理装置および紙葉類処理方法
1か月前
沖電気工業株式会社
現金処理装置及び印字装置
1か月前
株式会社東芝
ドア構造
2か月前
続きを見る
他の特許を見る