TOP
|
特許
|
意匠
|
商標
特許ウォッチ
Twitter
他の特許を見る
公開番号
2025142501
公報種別
公開特許公報(A)
公開日
2025-10-01
出願番号
2024041898
出願日
2024-03-18
発明の名称
半導体装置の製造方法
出願人
キオクシア株式会社
代理人
弁理士法人サクラ国際特許事務所
主分類
H01L
21/3065 20060101AFI20250924BHJP(基本的電気素子)
要約
【課題】より高いエッチングレートを有するエッチング方法を含む半導体装置の製造方法を提供する。
【解決手段】半導体装置の製造方法は、アルコールを含む第1のガスまたは第1のガスとハロゲン元素を含む第2のガスとを導入することにより、0℃以下の温度で冷却された加工対象物の表面に形成された凹部の内底面に表面層を形成し、第2のガスまたは希ガス元素を含む第3のガスを導入し、第2のガスまたは第3のガスから第1のプラズマを生成し、第1のプラズマを用いたエッチングにより内底面を加工し、表面層の形成と、内底面の加工と、を交互に切り替える。
【選択図】図1
特許請求の範囲
【請求項1】
アルコールを含む第1のガスまたは前記第1のガスとハロゲン元素を含む第2のガスとを導入することにより、0℃以下の温度で冷却された加工対象物の表面に形成された凹部の内底面に表面層を形成し、
前記第2のガスまたは希ガス元素を含む第3のガスを導入し、前記第2のガスまたは前記第3のガスから第1のプラズマを生成し、前記第1のプラズマを用いたエッチングにより前記内底面を加工し、
前記表面層の形成と、前記内底面の加工と、を交互に切り替える、
半導体装置の製造方法。
続きを表示(約 1,300 文字)
【請求項2】
アルコールを含む第1のガスとハロゲン元素を含む第2のガスとを導入し、前記第1のガスと前記第2のガスとの混合ガスから第2のプラズマを生成し、0℃以下の温度で冷却された加工対象物の表面に形成された凹部の内底面に表面層を形成しつつ、前記第2のプラズマを用いたエッチングにより前記内底面を加工する、
半導体装置の製造方法。
【請求項3】
0℃以下の温度で冷却された加工対象物の表面に形成された凹部の内壁面に接する第1の領域と、前記凹部の内底面に接する第2の領域と、を有する疎水性膜を形成し、
前記第1の領域の少なくとも一部が残存したまま前記第2の領域を除去して前記内底面を露出させるとともに、前記内底面を親水性化し、
ハロゲン元素を含む第2のガス、希ガス元素を含む第3のガス、または水素元素を含む第4のガスを導入し、前記第2のガス、前記第3のガス、または前記第4のガスから第3のプラズマを生成し、前記第3のプラズマを用いたエッチングにより、親水性化された前記内底面を加工し、
前記内底面の親水性化と、前記内底面の加工と、を交互に切り替える、
半導体装置の製造方法。
【請求項4】
前記表面層を形成する前において、
前記凹部の内壁面に接する第1の領域と、前記内底面に接する第2の領域と、を有する疎水性膜を形成し、
前記第1の領域の少なくとも一部が残存したまま前記第2の領域を除去して前記内底面を露出させるとともに、前記内底面を親水性化する、
請求項1に記載の半導体装置の製造方法。
【請求項5】
前記表面層は、前記第1のガスと前記第2のガスとを導入することにより形成される、
請求項1に記載の半導体装置の製造方法。
【請求項6】
前記第1のガスは、前記ハロゲン元素を含まず、
前記表面層は、前記第1のガスを導入することにより形成される、
請求項1に記載の半導体装置の製造方法。
【請求項7】
前記表面層の形成と前記内底面の加工との間に、希ガス元素を含む第3のガスまたは酸素元素を含む第5のガスを導入し、前記第3のガスまたは前記第5のガスから第4のプラズマを生成し、前記第4のプラズマを用いたエッチングにより前記表面層に含まれる炭素の一部または前記アルコールの一部を除去する、
請求項1、請求項2、または請求項4に記載の半導体装置の製造方法。
【請求項8】
前記表面層は、前記第1のガスと前記第2のガスと個別に導入することにより形成される、
請求項1、請求項2、または請求項4に記載の半導体装置の製造方法。
【請求項9】
前記表面層は、前記第1のガスと前記第2のガスとを混合した後に導入することにより形成される、
請求項1、請求項2、または請求項4に記載の半導体装置の製造方法。
【請求項10】
前記加工対象物は、前記第1のガスの液相領域における温度および圧力で冷却される、
請求項1、請求項2、または請求項4に記載の半導体装置の製造方法。
(【請求項11】以降は省略されています)
発明の詳細な説明
【技術分野】
【0001】
本発明の実施形態は、半導体装置の製造方法に関する。
続きを表示(約 2,100 文字)
【背景技術】
【0002】
3次元メモリ等の半導体装置の製造方法において、フッ素化炭化水素化合物を含むエッチングガスを用いたエッチングにより加工対象物に凹部または開口を形成する技術が知られている。
【先行技術文献】
【特許文献】
【0003】
特開2021-019185号公報
国際公開第2018/220973号
【発明の概要】
【発明が解決しようとする課題】
【0004】
実施形態の発明が解決しようとする課題は、より高いエッチングレートを有するエッチング方法を含む半導体装置の製造方法を提供することである。
【課題を解決するための手段】
【0005】
実施形態の半導体装置の製造方法は、アルコールを含む第1のガスまたは第1のガスとハロゲン元素を含む第2のガスとを導入することにより、0℃以下の温度で冷却された加工対象物の表面に形成された凹部の内底面に表面層を形成し、第2のガスまたは希ガス元素を含む第3のガスを導入し、第2のガスまたは第3のガスから第1のプラズマを生成し、第1のプラズマを用いたエッチングにより内底面を加工し、表面層の形成と、内底面の加工と、を交互に切り替える。
【図面の簡単な説明】
【0006】
第1の実施形態における半導体装置の製造方法例を説明するためのフローチャートである。
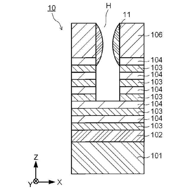
加工対象物の構造例を示す断面模式図である。
半導体製造装置の構成例を示す模式図である。
第1の実施形態におけるエッチング方法の例を説明するためのタイミングチャートである。
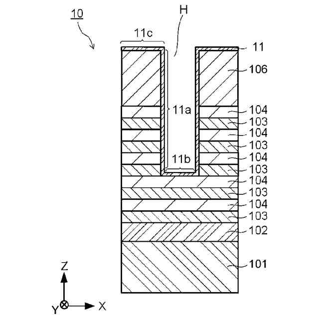
アルコール含有ガス導入ステップ(S2-1)を説明するための断面模式図である。
加工対象物に供給されるガスの状態の違いによる表面層の形状の違いを説明するための断面模式図である。
加工対象物に供給されるガスの状態の違いによる表面層の形状の違いを説明するための断面模式図である。
エッチングステップ(S2-2)を説明するための断面模式図である。
メモリ層形成工程を説明するための断面模式図である。
第1の実施形態における半導体装置の製造方法の変形例を説明するためのフローチャートである。
第1の実施形態の変形例におけるエッチング方法の例を説明するためのタイミングチャートである。
第2の実施形態における半導体装置の製造方法の例を説明するためのフローチャートである。
第2の実施形態におけるエッチング方法の例を説明するためのタイミングチャートである。
第3の実施形態における半導体装置の製造方法の例を説明するためのフローチャートである。
第3の実施形態における疎水性膜形成ステップ(S2-5)を説明するための断面模式図である。
第3の実施形態における親水性化ステップ(S2-6)を説明するための断面模式図である。
第3の実施形態におけるエッチングステップ(S2-2)を説明するための断面模式図である。
第4の実施形態における半導体装置の製造方法の例を説明するためのフローチャートである。
第4の実施形態における半導体装置の製造方法の例を説明するための断面模式図である。
【発明を実施するための形態】
【0007】
以下、実施形態について、図面を参照して説明する。図面に記載された各構成要素の厚さと平面寸法との関係、各構成要素の厚さの比率等は現物と異なる場合がある。また、実施形態において、実質的に同一の構成要素には同一の符号を付し適宜説明を省略する。
【0008】
<第1の実施形態>
図1は、第1の実施形態における半導体装置の製造方法例を説明するためのフローチャートである。半導体装置は、例えば3次元メモリである。半導体装置の製造方法例は、準備工程(S1)と、エッチング工程(S2)と、メモリ層形成工程(S3)と、を具備する。
【0009】
[準備工程]
準備工程では、エッチング工程においてエッチングされる対象である加工対象物を準備する。図2は、加工対象物の構造例を示す断面模式図である。図2は、X軸と、Y軸と、Z軸と、を示す。X軸、Y軸、Z軸は、互いに直交する。図2は、加工対象物10のX-Z断面の一部を示す。Z軸は、加工対象物10の厚さ方向に沿う。
【0010】
加工対象物10は、基板101と、基板101の上に設けられた下地層102と、下地層102の上に交互に積層された第1の層103と第2の層104とを有する積層と、上記積層の上に設けられたマスク層106と、内壁面HAと内底面HBとを有しマスク層106を貫通して積層の一部を露出させる凹部Hと、を備える。下地層102、第1の層103、第2の層104、およびマスク層106は、基板101の上に設けられる被加工膜の一例であって、被加工膜は上記構成に限定されない。
(【0011】以降は省略されています)
この特許をJ-PlatPat(特許庁公式サイト)で参照する
関連特許
個人
フレキシブル電気化学素子
5日前
日本発條株式会社
積層体
16日前
ローム株式会社
半導体装置
14日前
ローム株式会社
半導体装置
14日前
ローム株式会社
半導体装置
7日前
日新イオン機器株式会社
イオン源
1日前
ローム株式会社
半導体装置
14日前
株式会社ユーシン
操作装置
5日前
ローム株式会社
半導体装置
12日前
株式会社ホロン
冷陰極電子源
12日前
太陽誘電株式会社
コイル部品
5日前
個人
半導体パッケージ用ガラス基板
15日前
株式会社GSユアサ
蓄電装置
12日前
太陽誘電株式会社
全固体電池
12日前
株式会社GSユアサ
蓄電設備
5日前
株式会社GSユアサ
蓄電装置
16日前
株式会社GSユアサ
蓄電設備
5日前
オムロン株式会社
電磁継電器
6日前
日本特殊陶業株式会社
保持装置
12日前
日東電工株式会社
積層体
6日前
日本特殊陶業株式会社
保持装置
12日前
日本特殊陶業株式会社
保持装置
14日前
サクサ株式会社
電池の固定構造
5日前
トヨタ自動車株式会社
蓄電装置
5日前
TDK株式会社
電子部品
12日前
ローム株式会社
電子装置
16日前
トヨタ自動車株式会社
バッテリ
6日前
日本特殊陶業株式会社
保持装置
16日前
ノリタケ株式会社
熱伝導シート
5日前
住友電装株式会社
コネクタ
16日前
日東電工株式会社
電子装置
8日前
ローム株式会社
半導体装置
7日前
ローム株式会社
半導体装置
7日前
日本特殊陶業株式会社
電極
12日前
日本特殊陶業株式会社
電極
12日前
日本特殊陶業株式会社
電極
12日前
続きを見る
他の特許を見る