TOP
|
特許
|
意匠
|
商標
特許ウォッチ
Twitter
他の特許を見る
公開番号
2025142575
公報種別
公開特許公報(A)
公開日
2025-10-01
出願番号
2024042020
出願日
2024-03-18
発明の名称
計算機システム、処理方法、およびプログラム
出願人
日本電気株式会社
代理人
個人
,
個人
主分類
G06F
9/50 20060101AFI20250924BHJP(計算;計数)
要約
【課題】利便性を向上させる計算機システム、処理方法及びプログラムを提供する。
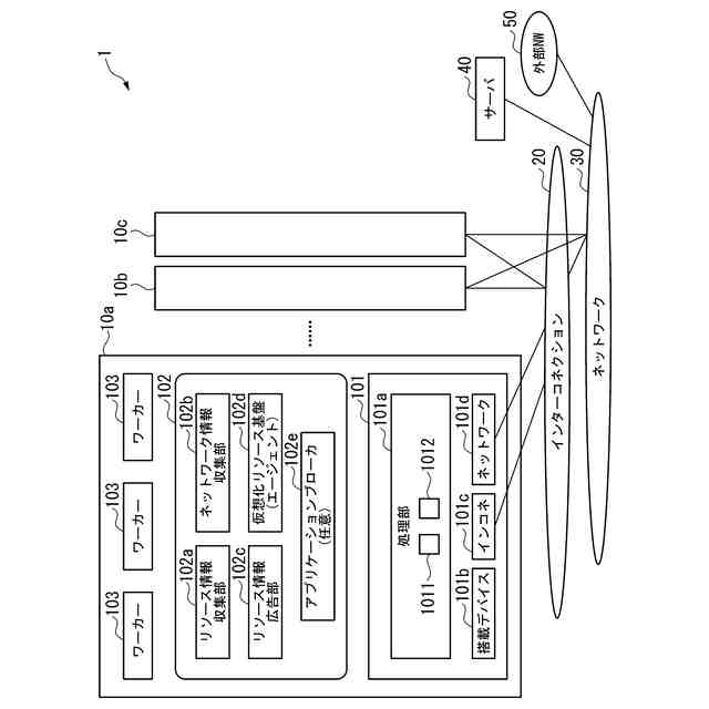
【解決手段】計算機システム1において、スマートリソース10a~cは、ミドルウェア102を実行する。リソース情報収集部は、スマートリソースの死活情報・負荷状況・電源・スマートリソース上のデバイスの種類・ネットワークポートのON/OFF状態情報等を含むハードウェア管理制御情報と動作状態情報を収集する。ネットワーク情報収集部は、通信のトラフィック量・遅延情報を収集し、リソース情報広告部は、リソース情報収集部とネットワーク情報収集部が収集した情報を、他のスマートリソース・サーバ40又は外部NW50に送信し、アプリケーションブローカは、実行を依頼されたアプリケーションプログラム実行用リソーステンプレートに合致するリソースを選択して、アプリケーションプログラムの一部又は全体タスクを、1以上のスマートリソースに割り振る。
【選択図】図1
特許請求の範囲
【請求項1】
CPUおよびメモリを備える演算部が搭載された複数のスマートリソース、
を備え、
前記複数のスマートリソースのそれぞれは、
自身のリソースの管理項目の情報をネットワークを介して広告する管理情報広告部、
を備える計算機システム。
続きを表示(約 990 文字)
【請求項2】
アプリケーションプログラムの実行をクライアントサーバから委託されるアプリケーションブローカ、
を備える請求項1に記載の計算機システム。
【請求項3】
前記アプリケーションブローカは、
前記クライアントサーバから渡されるアプリケーションプログラム実行用リソーステンプレートに合致するリソースを選択して、前記アプリケーションプログラム全体のタスク、または、前記アプリケーションプログラムの一部のタスクを、前記複数のスマートリソースのうちの1つまたは複数のスマートリソースに割り振る割り振り処理部、
を備える請求項2に記載の計算機システム。
【請求項4】
前記スマートリソース上のアプリケーションプログラムを実行する仮想化リソース基盤であって、前記割り振り処理部により割り振られた前記タスクを実行する仮想化リソース基盤、
を備える請求項3に記載の計算機システム。
【請求項5】
前記アプリケーションブローカは、
前記複数のスマートリソースのうちの少なくとも1つに備えられる、
請求項3または請求項4に記載の計算機システム。
【請求項6】
前記アプリケーションブローカは、
分散配置され、自律的にアプリケーションプログラムを実行する、
請求項3に記載の計算機システム。
【請求項7】
前記アプリケーションブローカからタスクの実行を請け負ったワーカーの間でデータの共有により当該タスクの処理の引き継ぎを行う引き継ぎ処理部、
を備える請求項3に記載の計算機システム。
【請求項8】
CPUおよびメモリを備える演算部が搭載された複数のスマートリソース、を備える計算機システムが実行する処理方法であって、
前記複数のスマートリソースのそれぞれのリソースの管理項目の情報をネットワークを介して広告すること、
を含む処理方法。
【請求項9】
CPUおよびメモリを備える演算部が搭載された複数のスマートリソース、を備える計算機システムに、
前記複数のスマートリソースのそれぞれのリソースの管理項目の情報をネットワークを介して広告すること、
を実行させるプログラム。
発明の詳細な説明
【技術分野】
【0001】
本開示は、計算機システム、処理方法、およびプログラムに関する。
続きを表示(約 1,200 文字)
【背景技術】
【0002】
さまざまな分野で計算機システムが使用されている。特許文献1には、関連する技術として、リソースにアプリケーション及びサービスを自動的に配備する計算機システム(コンピュータシステム)に関する技術が開示されている。
【先行技術文献】
【特許文献】
【0003】
特表2021-506044号公報
【発明の概要】
【発明が解決しようとする課題】
【0004】
特許文献1に関連する計算機システムでは、利便性を向上させることのできる技術が求められている。
【0005】
本開示の各態様は、上記の課題を解決することのできる計算機システム、処理方法、およびプログラムを提供することを目的の1つとしている。
【課題を解決するための手段】
【0006】
本開示の一態様によれば、計算機システムは、CPU(Central Processing Unit)およびメモリを備える演算部が搭載された複数のスマートリソース、を備え、前記複数のスマートリソースのそれぞれは、自身のリソースの管理項目の情報をネットワークを介して広告する管理情報広告部、を備える。
【0007】
本開示の別の態様によれば、処理方法は、CPU(Central Processing Unit)およびメモリを備える演算部が搭載された複数のスマートリソース、を備える計算機システムが実行する処理方法であって、前記複数のスマートリソースのそれぞれのリソースの管理項目の情報をネットワークを介して広告すること、を含む。
【0008】
本開示の別の態様によれば、プログラムは、CPU(Central Processing Unit)およびメモリを備える演算部が搭載された複数のスマートリソース、を備える計算機システムに、前記複数のスマートリソースのそれぞれのリソースの管理項目の情報をネットワークを介して広告すること、を実行させる。
【発明の効果】
【0009】
本開示の各態様によれば、利便性を向上させることができる。
【図面の簡単な説明】
【0010】
本開示のいくつかの実施形態にかかる計算機システムの構成の一例を示す図である。
本開示のいくつかの実施形態にかかる計算機システムの処理フローの一例を示す図である。
本開示のいくつかの実施形態にかかる計算機システムの構成の一例を示す図である。
本開示のいくつかの実施形態にかかる計算機システムの処理フローの一例を示す図である。
少なくとも1つの実施形態に係るコンピュータの構成を示す概略ブロック図である。
【発明を実施するための形態】
(【0011】以降は省略されています)
この特許をJ-PlatPat(特許庁公式サイト)で参照する
関連特許
日本電気株式会社
分析装置
3日前
日本電気株式会社
学習装置
27日前
日本電気株式会社
学習装置
1か月前
日本電気株式会社
原子発振器
29日前
日本電気株式会社
超伝導量子回路
23日前
日本電気株式会社
マルチバンドバラン
21日前
日本電気株式会社
量子回路装置と制御方法
3日前
日本電気株式会社
量子回路装置と制御方法
3日前
日本電気株式会社
検知装置および検知方法
3日前
日本電気株式会社
端末装置および無線通信方法
14日前
日本電気株式会社
機器冷却装置及びその冷却方法
15日前
日本電気株式会社
共振器及びそれを備えた導波回路
1日前
日本電気株式会社
TS合成装置および放送システム
1か月前
日本電気株式会社
処理装置、方法、及びプログラム
27日前
日本電気株式会社
プログラム、算出装置、及び方法
15日前
日本電気株式会社
システム及びマイグレーション方法
3日前
日本電気株式会社
推定装置、推定方法及びプログラム
6日前
日本電気株式会社
推定装置、推定方法及びプログラム
6日前
日本電気株式会社
リング共振器、およびその製造方法
28日前
日本電気株式会社
ピーク抑圧装置及びピーク抑圧方法
13日前
日本電気株式会社
リング共振器、およびその製造方法
29日前
日本電気株式会社
処理装置、処理方法、及びプログラム
1か月前
日本電気株式会社
画像管理システムおよび画像管理方法
1日前
日本電気株式会社
処理装置、処理方法、及びプログラム
3日前
日本電気株式会社
通信システム及びパケット順序補正方法
14日前
日本電気株式会社
管理システム、管理方法及びプログラム
13日前
日本電気株式会社
予測システム、予測方法及びプログラム
6日前
日本電気株式会社
判定装置、判定方法、及び、プログラム
23日前
日本電気株式会社
映像伝送装置、映像伝送方法、プログラム
3日前
日本電気株式会社
情報処理装置、情報処理方法、プログラム
27日前
日本電気株式会社
映像処理装置、映像処理方法、プログラム
3日前
日本電気株式会社
情報処理システム、処理方法、プログラム
3日前
日本電気株式会社
管理装置、管理方法および管理プログラム
1日前
日本電気株式会社
情報処理装置、情報処理方法、プログラム
27日前
日本電気株式会社
処理システム、処理方法およびプログラム
6日前
日本電気株式会社
画像選択装置、画像選択方法及び記憶媒体
1日前
続きを見る
他の特許を見る