TOP
|
特許
|
意匠
|
商標
特許ウォッチ
Twitter
他の特許を見る
公開番号
2025142933
公報種別
公開特許公報(A)
公開日
2025-10-01
出願番号
2024042566
出願日
2024-03-18
発明の名称
車両用ハンモック装置
出願人
日本発條株式会社
代理人
弁理士法人太陽国際特許事務所
主分類
B60N
3/00 20060101AFI20250924BHJP(車両一般)
要約
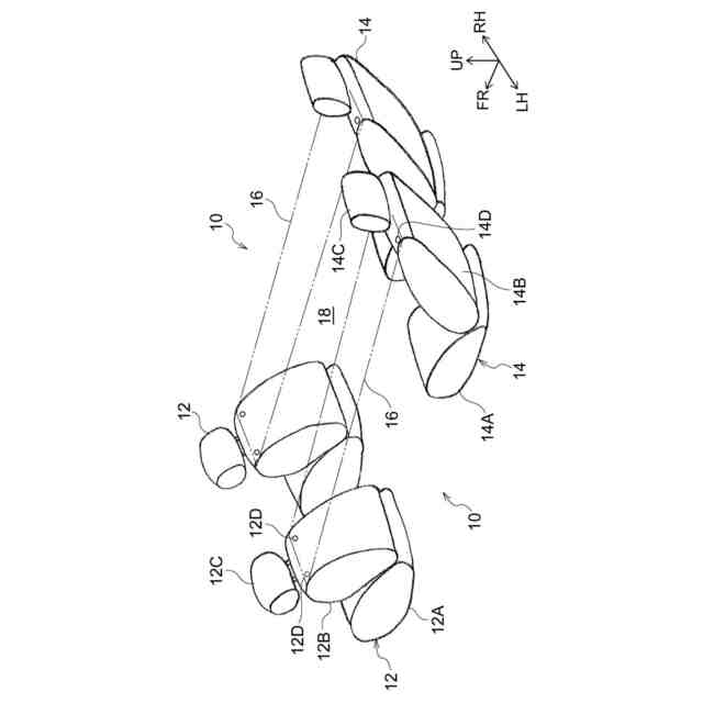
【課題】ハンモックを車室内においてより長く展開させることができるハンモック装置を得る。
【解決手段】車両用ハンモック装置10は、着座乗員の臀部を下方側から支持するシートクッション12Aと、着座乗員の背部を後方側から支持すると共に前後方向に傾動可能に支持されたシートバック12Bと、着座乗員の背部を支持可能な角度に対して前方側へ倒された状態のシートバックの姿勢を保持する前傾保持部20と、を備えた前席12を備えている。また、車両用ハンモック装置10は、シート状の部材を用いて長尺状に形成されていると共に長手方向の一方側の端部がシートバック12Bに係止され、前席12の後方側の車室内18において前後方向に掛け渡されるハンモック16を備えている。
【選択図】図1
特許請求の範囲
【請求項1】
着座乗員の臀部を下方側から支持するシートクッションと、着座乗員の背部を後方側から支持すると共に前後方向に傾動可能に支持されたシートバックと、着座乗員の背部を支持可能な角度に対して前方側へ倒された状態の前記シートバックの姿勢を保持する前傾保持部と、を備えた車両用シートと、
シート状の部材を用いて長尺状に形成されていると共に長手方向の一方側の端部が前記シートバックに係止され、前記車両用シートの後方側の車室内において前後方向に掛け渡されるハンモックと、
を備えた車両用ハンモック装置。
続きを表示(約 440 文字)
【請求項2】
前記車両用シートに対してシート後方側には、着座乗員の臀部を下方側から支持するシートクッションと、着座乗員の背部を後方側から支持すると共に前後方向に傾動可能に支持されたシートバックと、を備えた第2の車両用シートが設けられており、
前記ハンモックの長手方向他方側の端部が前記第2の車両用シートの前記シートバックに係止されている請求項1に記載の車両用ハンモック装置。
【請求項3】
前記車両用シート及び前記第2の車両用シートが、前後方向にスライド可能に支持されている請求項2に記載の車両用ハンモック装置。
【請求項4】
車体側に取付けられる車体側係止部材をさらに備え、
前記ハンモックの長手方向他方側の端部が前記車体側係止部材に係止されている請求項1に記載の車両用ハンモック装置。
【請求項5】
前記ハンモックが前記車両用シートの前記シートバックに格納可能となっている請求項1に記載の車両用ハンモック装置。
発明の詳細な説明
【技術分野】
【0001】
本発明は、車両用ハンモック装置に関する。
続きを表示(約 1,800 文字)
【背景技術】
【0002】
下記特許文献1及び特許文献2には、車両で使用することができるハンモック装置が開示されている。特許文献1に記載されたハンモック装置のハンモック(車両用休息具)の一方側の端部は、車両の前席のヘッドレストステーに係止されており、ハンモックの他方側の端部は、車両の後席に係止されている。これにより、車両の後席に着座した乗員の脚部をハンモックによって支持させることが可能となっている。また、下記特許文献2に記載されたハンモック装置のハンモックの一方側の端部は、車両の後席に係止されており、ハンモックの他方側の端部は、車両後方側へ展開している状態のバックドアに係止されている。これにより、車両の後席に着座した乗員の身体をハンモックによって支持させることが可能となっている。
【先行技術文献】
【特許文献】
【0003】
特開2022-179152号公報
実公昭60-56329号公報
【発明の概要】
【発明が解決しようとする課題】
【0004】
ところで、車両の乗員がハンモックを使用する際の用途によっては、当該ハンモックを車室内においてより長く展開させることが望まれることが考えられるが、上記特許文献1及び特許文献2に記載されたハンモック装置には、この点で改善の余地がある。
【0005】
本発明は上記事実を考慮し、ハンモックを車室内においてより長く展開させることができるハンモック装置を得ることが目的である。
【課題を解決するための手段】
【0006】
第1の態様の車両用ハンモック装置は、着座乗員の臀部を下方側から支持するシートクッションと、着座乗員の背部を後方側から支持すると共に前後方向に傾動可能に支持されたシートバックと、着座乗員の背部を支持可能な角度に対して前方側へ倒された状態の前記シートバックの姿勢を保持する前傾保持部と、を備えた車両用シートと、シート状の部材を用いて長尺状に形成されていると共に長手方向の一方側の端部が前記シートバックに係止され、前記車両用シートの後方側の車室内において前後方向に掛け渡されるハンモックと、を備えている。
【0007】
第1の態様の車両用ハンモック装置では、車両用シートのシートバックを前方側へ倒すことができると共に、前傾保持部によってシートバックの姿勢を着座乗員の背部を支持可能な角度に対して前方側へ倒された状態に保持することができる。そして、ハンモックは、長手方向の一方側の端部が車両用シートのシートバックに係止された状態で、車両用シートの後方側の車室内において前後方向に掛け渡される。この構成では、シートバックの姿勢を着座乗員の背部を支持可能な角度に対して前方側へ倒された状態に保持することができない構成と比べて、車両用シートの後方側の車室内においてハンモックが掛け渡される空間の前後方向への寸法を拡大することができる。これにより、ハンモックを車室内においてより長く展開させることができる。
【0008】
第2の態様の車両用ハンモック装置は、第1の態様の車両用ハンモック装置において、前記車両用シートに対してシート後方側には、着座乗員の臀部を下方側から支持するシートクッションと、着座乗員の背部を後方側から支持すると共に前後方向に傾動可能に支持されたシートバックと、を備えた第2の車両用シートが設けられており、前記ハンモックの長手方向他方側の端部が前記第2の車両用シートの前記シートバックに係止されている。
【0009】
第2の態様の車両用ハンモック装置では、ハンモックは、長手方向の一方側の端部が車両用シートのシートバックに係止された状態かつ長手方向の他方側の端部が第2の車両用シートのシートバックに係止された状態で、車両用シートの後方側の車室内において前後方向に掛け渡される。この構成では、第2の車両用シートのシートバックを後方側へ傾けることによっても、車両用シートの後方側の車室内においてハンモックが掛け渡される空間の前後方向への寸法を拡大することができる。
【0010】
第3の態様の車両用ハンモック装置は、第2の態様の車両用ハンモック装置において、前記車両用シート及び前記第2の車両用シートが、前後方向にスライド可能に支持されている。
(【0011】以降は省略されています)
この特許をJ-PlatPat(特許庁公式サイト)で参照する
関連特許
日本発條株式会社
積層体
15日前
日本発條株式会社
積層体
15日前
日本発條株式会社
記録装置
6日前
日本発條株式会社
駐車装置
1か月前
日本発條株式会社
駐車装置
1か月前
日本発條株式会社
支持構造物
5日前
日本発條株式会社
ヒータ装置
15日前
日本発條株式会社
放熱構造体
26日前
日本発條株式会社
支持構造物
5日前
日本発條株式会社
空調シート
1か月前
日本発條株式会社
車両用シート
1か月前
日本発條株式会社
車両用シート
25日前
日本発條株式会社
車両用シート
1か月前
日本発條株式会社
車両用シート
11日前
日本発條株式会社
車両用シート
1か月前
日本発條株式会社
車両用シート
1か月前
日本発條株式会社
車両用シート
11日前
日本発條株式会社
車両用シート
1か月前
日本発條株式会社
車両用シート
25日前
日本発條株式会社
車両用シート
6日前
日本発條株式会社
クリップ部材
19日前
日本発條株式会社
車両用シート
25日前
日本発條株式会社
車両用シート
5日前
日本発條株式会社
車両用シート
1か月前
日本発條株式会社
車両用シート
1か月前
日本発條株式会社
車両用シート
1か月前
日本発條株式会社
車両用シート
5日前
日本発條株式会社
車両用シート
5日前
日本発條株式会社
駐車システム
1か月前
日本発條株式会社
車両用支持装置
15日前
日本発條株式会社
車両用立寝装置
5日前
日本発條株式会社
シート空調装置
1か月前
日本発條株式会社
シート用操作装置
11日前
日本発條株式会社
車両用シート装置
5日前
日本発條株式会社
車両用リアシート
15日前
日本発條株式会社
車両用リアシート
13日前
続きを見る
他の特許を見る