TOP
|
特許
|
意匠
|
商標
特許ウォッチ
Twitter
他の特許を見る
公開番号
2025145276
公報種別
公開特許公報(A)
公開日
2025-10-03
出願番号
2024045367
出願日
2024-03-21
発明の名称
内燃機関の燃料供給装置
出願人
トヨタ自動車株式会社
代理人
個人
,
個人
主分類
F02D
41/16 20060101AFI20250926BHJP(燃焼機関;熱ガスまたは燃焼生成物を利用する機関設備)
要約
【課題】燃圧制御実行中の開閉動作に伴う電磁弁の摩耗を抑える。
【解決手段】内燃機関10の燃料供給装置200は、燃料を貯蔵するタンク20と、気筒に燃料を供給する燃料噴射弁15と、タンク20内の燃料を燃料噴射弁15に供給する燃料通路と、燃料通路に設けられて燃料通路を開閉する第2遮断弁22と、第2遮断弁22に流入する燃料である流入燃料の温度を高める昇温機構300と、燃圧制御を実行する制御装置100とを有している。燃圧制御は、第2遮断弁22の下流に接続される燃料通路内の燃圧が既定の上限値及び既定の下限値にて規定される範囲内の圧力となるように第2遮断弁22の開閉駆動を繰り返し行う制御である。制御装置100は、燃圧制御の実行中において、第2遮断弁22に流入する流入燃料が昇温されるように昇温機構300を操作する昇温処理を実行する。
【選択図】図1
特許請求の範囲
【請求項1】
内燃機関の燃料供給装置であって、
前記燃料供給装置は、
燃料を貯蔵するタンクと、気筒に燃料を供給する燃料噴射弁と、前記タンク内の燃料を前記燃料噴射弁に供給する燃料通路と、前記燃料通路に設けられて当該燃料通路を開閉する電磁弁と、前記電磁弁に流入する燃料である流入燃料の温度を高める昇温機構と、燃圧制御を実行する処理回路と、を有しており、
前記燃圧制御は、前記燃料通路での燃料の流れ方向において前記電磁弁の下流に接続される前記燃料通路内の燃圧が既定の上限値及び既定の下限値にて規定される範囲内の圧力となるように前記電磁弁の開閉駆動を繰り返し行う制御であり、
前記処理回路は、前記燃圧制御の実行中において、前記流入燃料が昇温されるように前記昇温機構を操作する昇温処理を実行する
内燃機関の燃料供給装置。
続きを表示(約 550 文字)
【請求項2】
前記燃料通路での燃料の流れ方向において前記電磁弁の上流に接続される前記燃料通路を上流側燃料通路としたときに、
前記昇温機構は、熱源で受熱した燃料が流れるとともに前記上流側燃料通路に対して並列に接続されている管と、前記上流側燃料通路と前記管との連通状態を操作する操作弁と、を有しており、
前記昇温処理は、前記上流側燃料通路と前記管とが連通状態となるように前記操作弁を操作する処理である
請求項1に記載の内燃機関の燃料供給装置。
【請求項3】
前記熱源は前記内燃機関である
請求項2に記載の内燃機関の燃料供給装置。
【請求項4】
前記熱源は、前記内燃機関の冷却水と熱交換を行うラジエータである
請求項2に記載の内燃機関の燃料供給装置。
【請求項5】
前記燃料通路での燃料の流れ方向において前記電磁弁の上流に接続される前記燃料通路を上流側燃料通路としたときに、
前記昇温機構は、当該上流側燃料通路に設けられたヒータであり、
前記昇温処理は、前記上流側燃料通路を流れる燃料が昇温されるように前記ヒータの作動状態を操作する処理である
請求項1に記載の内燃機関の燃料供給装置。
発明の詳細な説明
【技術分野】
【0001】
本発明は、内燃機関の燃料供給装置に関するものである。
続きを表示(約 1,800 文字)
【背景技術】
【0002】
例えば特許文献1に記載の内燃機関は、タンクに貯留された気体燃料の燃圧を減圧して燃料噴射弁に供給するようにしている。
【先行技術文献】
【特許文献】
【0003】
特開2022-182969号公報
【発明の概要】
【発明が解決しようとする課題】
【0004】
上述したような燃圧制御として、以下のような制御を行うことが考えられる。
すなわち、燃料を貯蔵するタンクと気筒に燃料を供給する燃料噴射弁とを繋ぐ燃料通路に当該燃料通路を開閉する電磁弁を設ける。そして、目標とする燃圧に対して、許容できる上限値及び下限値を設定する。電磁弁が閉弁している状態で燃料噴射弁からの燃料噴射が行われると、電磁弁よりも下流の燃料通路からは燃料が流出するため、電磁弁よりも下流の燃圧は低下する。この下流の燃圧が下限値に達すると電磁弁を開弁駆動する。この電磁弁の開弁駆動により当該電磁弁よりも下流の燃料通路には燃料が供給されるため、電磁弁よりも下流の燃圧は上昇する。そして、当該下流の燃圧が上限値に達すると電磁弁を閉弁駆動する。こうした電磁弁の開閉駆動を繰り返し行うことにより、電磁弁よりも下流の燃圧であって燃料噴射弁に供給される燃料の圧力は、上限値及び下限値で挟まれる既定の範囲内の燃圧となるように調整される。
【0005】
ここで、電磁弁の開閉駆動が繰り返し行われる燃圧制御を実行すると、燃圧制御実行中の開閉動作に伴って電磁弁の摺動部などでは摩耗が進むおそれがある。
【課題を解決するための手段】
【0006】
上記課題を解決する内燃機関の燃料供給装置は、燃料を貯蔵するタンクと、気筒に燃料を供給する燃料噴射弁と、前記タンク内の燃料を前記燃料噴射弁に供給する燃料通路と、前記燃料通路に設けられて当該燃料通路を開閉する電磁弁と、前記電磁弁に流入する燃料である流入燃料の温度を高める昇温機構と、燃圧制御を実行する処理回路と、を有している。前記燃圧制御は、前記燃料通路での燃料の流れ方向において前記電磁弁の下流に接続される前記燃料通路内の燃圧が既定の上限値及び既定の下限値にて規定される範囲内の圧力となるように前記電磁弁の開閉駆動を繰り返し行う制御である。前記処理回路は、前記燃圧制御の実行中において、前記流入燃料が昇温されるように前記昇温機構を操作する昇温処理を実行する。
【発明の効果】
【0007】
この内燃機関の燃料供給装置は、燃圧制御実行中の開閉動作に伴う電磁弁の摩耗を抑えることができる。
【図面の簡単な説明】
【0008】
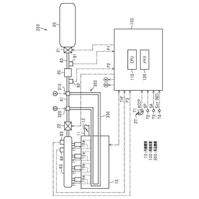
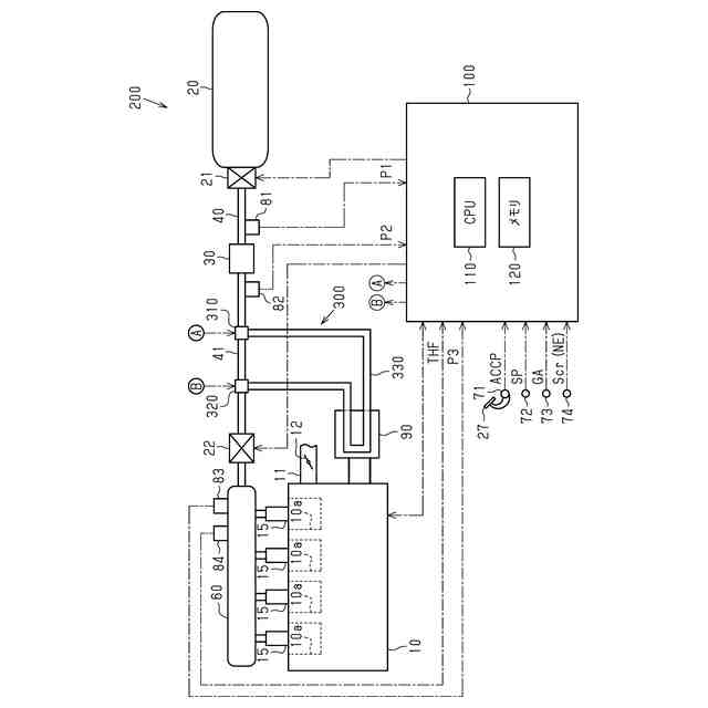
図1は、一実施形態における内燃機関及び燃料供給系及び制御装置を示す模式図である。
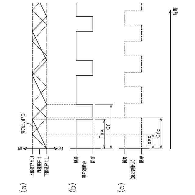
図2は、同実施形態の燃圧制御を示すタイミングチャートである。図2(a)は燃圧の変化、図2(b)は第2遮断弁の動作状態をそれぞれ示している。
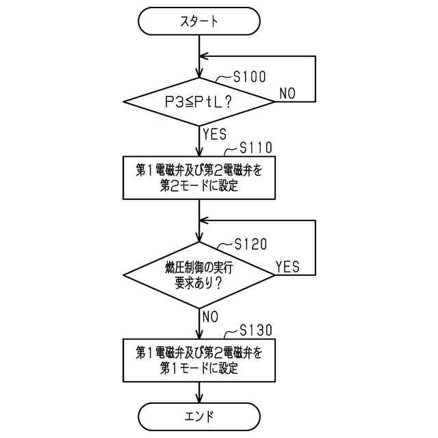
図3は、同実施形態の制御装置が実行する処理の手順を示すフローチャートである。
図4は、同実施形態の昇温処理の作用を示す図である。図4(a)は第3圧力の変化、図4(b)は本実施形態における第2遮断弁の動作状態、図4(c)は昇温機構を有していない場合の第2遮断弁の動作状態をそれぞれ示している。
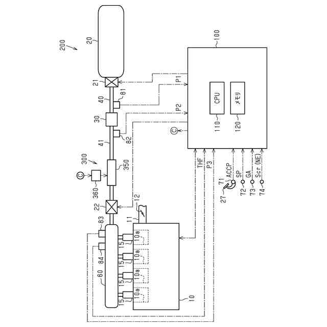
図5は、昇温機構の変更例を示す模式図である。
図6は、昇温機構の変更例を示す模式図である。
【発明を実施するための形態】
【0009】
以下、内燃機関の燃料供給装置を具体化した一実施形態について、図1~図4を参照して説明する。
<内燃機関及び燃料供給装置及び制御装置>
図1に示す内燃機関10は、車両に搭載されており、気体燃料である水素ガスを燃料とする内燃機関である。
【0010】
内燃機関10の吸気通路11には、吸入空気量を調整するスロットル弁12が設けられている。
内燃機関10が備える燃料供給装置200は、燃料噴射弁15、タンク20、燃料配管40、第1遮断弁21、第2遮断弁22、減圧弁30、デリバリパイプ60、及び昇温機構300を有している。
(【0011】以降は省略されています)
この特許をJ-PlatPat(特許庁公式サイト)で参照する
関連特許
トヨタ自動車株式会社
電池
4日前
トヨタ自動車株式会社
車両
28日前
トヨタ自動車株式会社
装置
24日前
トヨタ自動車株式会社
装置
24日前
トヨタ自動車株式会社
車両
4日前
トヨタ自動車株式会社
車両
25日前
トヨタ自動車株式会社
車両
今日
トヨタ自動車株式会社
車両
今日
トヨタ自動車株式会社
車両
1か月前
トヨタ自動車株式会社
車両
14日前
トヨタ自動車株式会社
車両
23日前
トヨタ自動車株式会社
モータ
15日前
トヨタ自動車株式会社
電解液
今日
トヨタ自動車株式会社
回転子
今日
トヨタ自動車株式会社
回転子
15日前
トヨタ自動車株式会社
電動車
14日前
トヨタ自動車株式会社
電動車
今日
トヨタ自動車株式会社
電動車
今日
トヨタ自動車株式会社
電動車
今日
トヨタ自動車株式会社
ロータ
2日前
トヨタ自動車株式会社
電動車
2日前
トヨタ自動車株式会社
サーバ
8日前
トヨタ自動車株式会社
二次電池
4日前
トヨタ自動車株式会社
駆動装置
今日
トヨタ自動車株式会社
内燃機関
14日前
トヨタ自動車株式会社
蓄電装置
28日前
トヨタ自動車株式会社
冷却装置
14日前
トヨタ自動車株式会社
検査装置
4日前
トヨタ自動車株式会社
蓄電装置
4日前
トヨタ自動車株式会社
電動車両
14日前
トヨタ自動車株式会社
給電装置
14日前
トヨタ自動車株式会社
蓄電装置
4日前
トヨタ自動車株式会社
電動車両
14日前
トヨタ自動車株式会社
蓄電装置
4日前
トヨタ自動車株式会社
制御装置
今日
トヨタ自動車株式会社
制御装置
4日前
続きを見る
他の特許を見る