TOP
|
特許
|
意匠
|
商標
特許ウォッチ
Twitter
他の特許を見る
10個以上の画像は省略されています。
公開番号
2025143411
公報種別
公開特許公報(A)
公開日
2025-10-01
出願番号
2025113121,2024074767
出願日
2025-07-03,2018-03-19
発明の名称
回折光学要素を使用した眼結像装置
出願人
マジック リープ, インコーポレイテッド
,
Magic Leap,Inc.
代理人
個人
,
個人
,
個人
,
個人
,
個人
主分類
G02B
27/02 20060101AFI20250924BHJP(光学)
要約
【課題】好適な回折光学要素を使用した眼結像装置を提供すること。
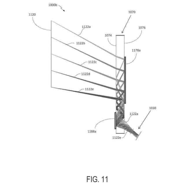
【解決手段】回折光学要素を使用した眼結像装置の実施例が、提供される。例えば、光学デバイスは、近位表面および遠位表面を有する、基板と、基板の近位表面および遠位表面のうちの1つ上に配置される、第1の結合光学要素と、基板の近位表面および遠位表面のうちの1つ上に配置され、第1の結合光学要素からオフセットされる、第2の結合光学要素とを備える。第1の結合光学要素は、光をある角度で偏向させ、光を近位表面と遠位表面との間で第2の結合光学要素に向かって全内部反射(TIR)させるように構成されることができ、第2の結合光学要素は、光を基板から外にある角度で偏向させるように構成されることができる。眼結像装置は、拡張または仮想現実ディスプレイ等の頭部搭載型ディスプレイ内で使用されることができる。
【選択図】図11
特許請求の範囲
【請求項1】
頭部搭載型ディスプレイシステムであって、前記頭部搭載型ディスプレイシステムは、
前記頭部搭載型ディスプレイの動作中に光プロジェクタシステムからの画像をユーザの眼に投影するための透明接眼レンズであって、前記透明接眼レンズは、前記光プロジェクタシステムからの光を前記ユーザの眼に指向するように構成される基板を備える、透明接眼レンズと、
カメラと、
結像アセンブリであって、前記結像アセンブリは、オブジェクト平面と、前記結像アセンブリのオブジェクトフィールドの中心点において前記オブジェクト平面に直交する軸とを画定し、前記結像アセンブリは、前記ユーザの眼が前記オブジェクトフィールド内に位置付けられるときに前記ユーザの眼を前記カメラに結像するように構成される、結像アセンブリと
を備え、
前記結像アセンブリは、前記ユーザの眼から前記透明接眼レンズの反対側に配列される反射光学要素を備え、前記反射光学要素は、前記透明接眼レンズによって透過された前記ユーザの眼からの光を前記カメラに向かって反射するように配列され、前記反射光学要素は、前記軸から離れるように位置付けられている、頭部搭載型ディスプレイシステム。
続きを表示(約 750 文字)
【請求項2】
前記基板に面した前記反射光学要素の表面は、凹状である、請求項1に記載の頭部搭載型ディスプレイシステム。
【請求項3】
前記基板の屈折率とは異なる屈折率を有する光学コンポーネントをさらに備え、前記光学コンポーネントは、前記ユーザの眼からの光を前記基板の中へと屈折させるように構成される、請求項1に記載の頭部搭載型ディスプレイシステム。
【請求項4】
前記光学コンポーネントは、光学カバーガラスまたは処方箋ガラスを含む、請求項3に記載の頭部搭載型ディスプレイシステム。
【請求項5】
前記光学コンポーネントは、前記基板に接触する、請求項3に記載の頭部搭載型ディスプレイシステム。
【請求項6】
前記反射光学要素の軸は、前記結像アセンブリの前記軸とは非平行である、請求項1に記載の頭部搭載型ディスプレイシステム。
【請求項7】
前記反射光学要素は、前記基板の世界側に配置されるプリズムを含む、請求項1に記載の頭部搭載型ディスプレイシステム。
【請求項8】
前記反射光学要素は、ゼロ屈折力を有する、請求項7に記載の頭部搭載型ディスプレイシステム。
【請求項9】
前記反射光学要素の反射表面は、前記軸に対して鋭角に角度付けられている、請求項8に記載の頭部搭載型ディスプレイシステム。
【請求項10】
前記基板の屈折率とは異なる屈折率を有する光学コンポーネントをさらに備え、前記光学コンポーネントは、前記ユーザの眼からの光を前記基板の中へと屈折させるように構成される、請求項7に記載の頭部搭載型ディスプレイシステム。
(【請求項11】以降は省略されています)
発明の詳細な説明
【技術分野】
【0001】
(関連出願の相互参照)
本願は、2017年3月21日に出願され“EYE-IMAGING APPARATUS USING DIFFRACTIVE OPTICAL ELEMENTS”と題された米国仮特許出願第62/474,419号に対する優先権の利益を主張するものであり、該米国仮特許出願の内容は、その全体が参照により本明細書中に援用される。
続きを表示(約 2,700 文字)
【0002】
本開示は、仮想現実および拡張現実結像および可視化システムに関し、特に、結合光学要素を使用して、光をカメラアセンブリに指向する、眼の画像を入手するためのコンパクトな結像システムに関する。
【背景技術】
【0003】
現代のコンピューティングおよびディスプレイ技術は、いわゆる「仮想現実」または「拡張現実」体験のためのシステムの開発を促進しており、デジタル的に再現された画像またはその一部が、現実であるように見える、またはそのように知覚され得る様式でユーザに提示される。仮想現実または「VR」シナリオは、典型的には、他の実際の実世界の視覚的入力に対する透過性を伴わずに、デジタルまたは仮想画像情報の提示を伴い、拡張現実または「AR」シナリオは、典型的には、ユーザの周囲の実際の世界の可視化に対する拡張としてのデジタルまたは仮想画像情報の提示を伴う。複合現実または「MR」シナリオは、一種のARシナリオであって、典型的には、自然世界の中に統合され、それに応答する、仮想オブジェクトを伴う。例えば、MRシナリオでは、AR画像コンテンツは、実世界内のオブジェクトによってブロックされて見える、または別様にそれと相互作用するように知覚される。
【0004】
図1を参照すると、拡張現実場面10が、描写され、AR技術のユーザには、人々、木々、背景における建物、およびコンクリートプラットフォーム30を特徴とする、実世界公園状設定20が見える。これらのアイテムに加え、AR技術のユーザはまた、実世界プラットフォーム30上に立っているロボット像40と、マルハナバチの擬人化のように見える、飛んでいる漫画のようなアバタキャラクタ50等の「仮想コンテンツ」を「見ている」と知覚するが、これらの要素40、50は、実世界には存在しない。ヒトの視知覚系は、複雑であって、他の仮想または実世界画像要素間における仮想画像要素の快適で、自然のような感覚で、かつ豊かな提示を促進する、AR技術の生成は、困難である。
【0005】
本明細書に開示されるシステムおよび方法は、ARおよびVR技術に関連する種々の課題に対処する。
【発明の概要】
【課題を解決するための手段】
【0006】
添付の請求項の範囲内である方法および装置の種々の実装はそれぞれ、いくつかの側面を有し、そのうちの単一の1つが、本明細書に開示される望ましい属性に関与するわけではない。添付の請求項の範囲を限定することなく、いくつかの顕著な特徴が、本明細書に説明される。
【0007】
本開示の一側面は、オブジェクトを直接視認しない、カメラアセンブリを用いて、オブジェクトを結像するステップを提供する。故に、本明細書に説明される実施形態による、光学デバイスは、直接視認位置にあるかのように、オブジェクトの画像を捕捉するように、オブジェクトからの光を軸外カメラアセンブリに指向するように構成される。
【0008】
いくつかの実施形態では、軸外カメラアセンブリを使用して、オブジェクトの画像を入手するためのシステム、デバイス、および方法が、開示される。一実装では、近位表面および遠位表面を有する、基板と、基板の近位表面および遠位表面のうちの1つ上に配置される、第1の結合光学要素と、基板の近位表面および遠位表面のうちの1つ上に配置され、第1の結合光学要素からオフセットされる、第2の結合光学要素とを含み得る、光学デバイスが、開示される。第1の結合光学要素は、光をある角度で偏向させ、光を近位表面と遠位表面との間で第2の結合光学要素に向かって全内部反射(TIR)させるように構成されてもよい。第2の結合光学要素は、光を基板から外にある角度で偏向させるように構成されてもよい。いくつかの実施形態では、第1および第2の結合光学要素のうちの少なくとも1つは、複数の回折特徴を含む。
【0009】
いくつかの実施形態では、軸外カメラアセンブリを使用して、オブジェクトの画像を入手するためのシステム、デバイス、および方法が、開示される。一実装では、フレームと、一対の光学要素の各光学要素がユーザの眼の前方に配置されることが可能であるように、フレームによって支持される、一対の光学要素と、結像システムとを含み得る、ユーザの頭部上に装着されるように構成される、頭部搭載型ディスプレイ(HMD)が、開示される。結像システムは、フレームに搭載される、カメラアセンブリと、光をカメラアセンブリに指向するための光学デバイスとを含んでもよい。光学デバイスは、近位表面および遠位表面を有する、基板と、基板の近位表面および遠位表面のうちの1つ上に配置される、第1の結合光学要素と、基板の近位表面および遠位表面のうちの1つ上に配置され、第1の結合光学要素からオフセットされる、第2の結合光学要素とを含んでもよい。第1の結合光学要素は、光をある角度で偏向させ、光を近位表面と遠位表面との間で第2の結合光学要素に向かってTIRするように構成されてもよい。第2の結合光学要素は、光を基板から外にある角度で偏向させるように構成されてもよい。
【0010】
いくつかの実施形態では、軸外カメラアセンブリを使用して、オブジェクトの画像を入手するためのシステム、デバイス、および方法が、開示される。一実装では、近位表面および遠位表面を有する、基板を含み得る、結像システムが、開示される。基板は、基板の近位表面および遠位表面のうちの1つ上に配置される、第1の回折光学要素と、基板の近位表面および遠位表面のうちの1つ上に配置され、第1の結合光学要素からオフセットされる、第2の回折光学要素とを含んでもよい。第1の回折光学要素は、光をある角度で偏向させ、光を近位表面と遠位表面との間で第2の結合光学要素に向かってTIRするように構成されてもよい。第2の回折光学要素は、その上に入射する光を基板から外にある角度で偏向させるように構成されてもよい。結像システムはまた、カメラアセンブリを含み、第2の結合光学要素によって偏向される光を結像してもよい。いくつかの実施形態では、第1および第2の回折光学要素は、軸外回折光学要素(DOE)、軸外回折格子、軸外回折光学要素(DOE)、軸外ホログラフィックミラー(OAHM)、または軸外立体回折光学要素(OAVDOE)、軸外コレステリック液晶回折格子(OACLCG)、ホットミラー、プリズム、または装飾レンズの表面のうちの少なくとも1つを含む。
(【0011】以降は省略されています)
この特許をJ-PlatPat(特許庁公式サイト)で参照する
関連特許
カンタツ株式会社
光学系
24日前
日本精機株式会社
表示装置
29日前
日本精機株式会社
表示装置
29日前
アイカ工業株式会社
反射防止フィルム
今日
アイカ工業株式会社
反射防止フィルム
24日前
キヤノン株式会社
映像表示装置
13日前
インターマン株式会社
立体映像表示装置
13日前
日本精機株式会社
ヘッドアップディスプレイ
29日前
沖電気工業株式会社
光導波路素子
29日前
沖電気工業株式会社
光導波路素子
29日前
沖電気工業株式会社
光導波路素子
29日前
個人
透過型及び反射型顕微鏡
13日前
東レ株式会社
プラスチック光ファイバ
23日前
キヤノン株式会社
画像表示装置
21日前
キヤノン株式会社
レンズ装置および撮像装置
1日前
レーザーテック株式会社
検査装置及び検査方法
3日前
キヤノン株式会社
表示装置
6日前
株式会社小糸製作所
画像投影装置
14日前
東レ株式会社
先端に凸面を有する光ファイバ
13日前
日東電工株式会社
光学積層体
14日前
株式会社小糸製作所
画像投影装置
13日前
キヤノン株式会社
光学系及び撮像装置
7日前
日東電工株式会社
光学積層体
27日前
株式会社小糸製作所
画像生成装置
22日前
日本電気株式会社
リング共振器、およびその製造方法
28日前
KDDI株式会社
光増幅器
13日前
KDDI株式会社
光増幅器
13日前
キヤノン株式会社
光学系および撮像装置
24日前
セイコーエプソン株式会社
虚像表示装置
3日前
住友化学株式会社
複合偏光板及び画像表示装置
1日前
キヤノン株式会社
光学装置
27日前
エピフォトニクス株式会社
光導波路素子
今日
KDDI株式会社
光増幅器
今日
KDDI株式会社
光増幅器
今日
日本電気株式会社
リング共振器、およびその製造方法
29日前
国立大学法人徳島大学
マイクロコム制御装置
27日前
続きを見る
他の特許を見る