TOP
|
特許
|
意匠
|
商標
特許ウォッチ
Twitter
他の特許を見る
10個以上の画像は省略されています。
公開番号
2025143515
公報種別
公開特許公報(A)
公開日
2025-10-01
出願番号
2025119765,2023566588
出願日
2025-07-16,2023-01-18
発明の名称
光学イメージングシステムに適用する視野制御装置及び光学イメージングシステム
出願人
安徽省東超科技有限公司
,
ANHUI EASPEED TECHNOLOGY CO., LTD.
代理人
弁理士法人鷲田国際特許事務所
主分類
G02B
30/56 20200101AFI20250924BHJP(光学)
要約
【課題】光学イメージングシステムに適用されフローティング実像の両側の残像の発生が抑制される視野制御装置を提供する。
【解決手段】光学イメージングシステム(100)に適用する視野制御装置(3)及び光学イメージングシステム(100)であって、光学イメージングシステム(100)に適用する視野制御装置(3)は、光を透過できる基体(302)と、それぞれ基体(302)に設けられ且つ互いに平行であり、基体(302)の第1の方向に順次に設けられ、且つ少なくとも隣接する2つが間隔をあけて隣接する2つの間に光透過領域を形成する複数の遮光部(303)と、を含む。
【選択図】図11
特許請求の範囲
【請求項1】
光学イメージングシステムに適用する視野制御装置であって、
光を透過できる基体と、
いずれも前記基体に設けられて且つ互いに平行であり、前記基体の第1の方向に順次に設けられる複数の遮光部であって、複数の前記遮光部のうち少なくとも隣接する2つの前記遮光部は間隔をあけて、隣接する2つ前記遮光部の間に光透過領域を形成し、前記遮光部は光不透過構造として構成される複数の遮光部と、
前記遮光部を遮光状態と非遮光状態との間で切り替えるように、前記遮光部を選択的に照射するバックライトと、
前記バックライトからの光線を前記遮光部にガイドするための導光板と、を含む、光学イメージングシステムに適用する視野制御装置。
続きを表示(約 850 文字)
【請求項2】
前記基体内に前記遮光部を取り付けるための複数の取付部が設けられ、複数の前記遮光部は複数の前記取付部に各々対応する、請求項1に記載の光学イメージングシステムに適用する視野制御装置。
【請求項3】
前記取付部は取付溝として構成され、前記取付溝は前記基体の厚さ方向に延びる、請求項2に記載の光学イメージングシステムに適用する視野制御装置。
【請求項4】
前記基体の厚さ方向に、前記遮光部は前記基体に垂直である、請求項2に記載の光学イメージングシステムに適用する視野制御装置。
【請求項5】
前記基体の厚さ方向に、前記遮光部は斜めに延びる、請求項2に記載の光学イメージングシステムに適用する視野制御装置。
【請求項6】
第1の保護シートと第2の保護シートをさらに含み、前記基体の厚さ方向に前記基体は対向する第1の表面と第2の表面を有し、前記第1の保護シート、前記第2の保護シートはそれぞれ前記第1の表面と前記第2の表面に設けられ、前記第1の保護シートと前記第2の保護シートの両方は光を透過できる、請求項1に記載の光学イメージングシステムに適用する視野制御装置。
【請求項7】
光学イメージングシステムであって、
平板レンズと、
前記平板レンズに向けて光線を出射するためのディスプレイと、
視野制御装置であって、前記平板レンズ及び/または前記ディスプレイに前記視野制御装置が設けられ、且つ前記ディスプレイが前記平板レンズに向けて出射した光線は前記視野制御装置を通過し、前記視野制御装置は請求項1-6のいずれか1項に記載の光学イメージングシステムに適用する視野制御装置である視野制御装置と、を含む光学イメージングシステム。
【請求項8】
前記視野制御装置は前記平板レンズの前記ディスプレイから遠い及び/または近い表面に設けられる、請求項7に記載の光学イメージングシステム。
発明の詳細な説明
【技術分野】
【0001】
本願は光学製造分野に関し、特に光学イメージングシステムに適用する視野制御装置及び光学イメージングシステムに関する。
続きを表示(約 2,600 文字)
【背景技術】
【0002】
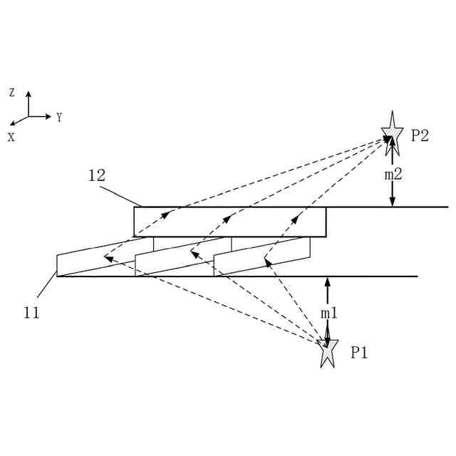
平板レンズの正式名称は等価負屈折率平板レンズであり、周期的に分布する2層のアレイ光導波路が互いに直交することにより、光線を2層のアレイ光導波路でそれぞれ1回ずつ全反射させ、互いに直交する矩形構造であるため、1回目の全反射時の入射角と2回目の全反射時の出射角が同じになる。光源の光線発散角内の全ての光線は、平板レンズを通過した後、それに応じて平板レンズを面対称とする三次元空間に収束し、1:1のフローティング実像が得られる。現在、市場に出回っている像源として使用されているディスプレイの視野角は大きく、180度近く可視化されている。この場合、平板レンズイメージングの特徴は、観察者がフローティング実像を観察すると同時に、実像の両側に斜めの残像が見えることであり、人間の目の位置が正視位置からずれ、ずれ角度が徐々に大きくなると、フローティング実像はますますぼやけ、実像の左右両側の残像の一方はより明らかになり、他方がぼやけ、残像の出現はフローティング実像へのユーザの観察に大きく影響する。
【発明の概要】
【発明が解決しようとする課題】
【0003】
本願は、従来の技術に存在する技術的問題の一つを少なくとも解決することを主旨とする。このため、本願の一つの目的は、光学イメージングシステムの視野角の大きさを小さくすることができ、これにより、光学イメージングシステムにおけるフローティング実像の両側の残像の発生が抑制され、ユーザの視聴体験を向上させることができる光学イメージングシステムに適用する視野制御装置を提供することである。
【課題を解決するための手段】
【0004】
本願は光学イメージングシステムをさらに提案する。
【0005】
本願による光学イメージングシステムに適用する視野制御装置は、光を透過できる基体と、いずれも前記基体に設けられて且つ互いに平行であり、前記基体の第1の方向に順次に設けられる複数の遮光部であって、且つ複数の前記遮光部のうち少なくとも隣接する2つの前記遮光部は間隔をあけて、隣接する2つ前記遮光部の間に光透過領域を形成する複数の遮光部と、を備える。
【0006】
本願による光学イメージングシステムに適用する視野制御装置は、基体と複数の遮光部の合わせにより、光学イメージングシステムの視野角の大きさを小さくすることができ、これにより、光学イメージングシステムにおけるフローティング実像の両側の残像の発生が抑制され、ユーザの視聴体験を向上させることができる。
【0007】
本願の追加の態様及び利点について、以下の説明では部分的に示されるか、部分的に以下の説明から明らかになるか、または本願の実践を通して理解される。
【図面の簡単な説明】
【0008】
本願の実施例による平面レンズの全体構成図である。
図1における箇所Kの側面視での部分拡大図である。
本願の実施例による平面レンズの分解図である。
本願の実施例による平面レンズの2層の直交する光導波路アレイのZ方向に沿った構造模式図である。
本願の実施例による平面レンズの2層の直交する光導波路アレイのイメージング模式図である。
本願の実施例による平面レンズの光源像を単層光導波路アレイを通過した場合のX方向のイメージング模式図である。
図6に示す光源像を単層光導波路アレイを通過した場合の立体方向のイメージング模式図である。
本願の実施例による平面レンズの光源像を2層の直交する光導波路アレイを通過する場合のイメージング光路原理図である。
光線が平面レンズの反射面に正入射及び斜めに入射した場合の光線方向経路模式図である。
光線が平面レンズの反射面に正入射した場合の光線方向経路模式図である。
光線が平面レンズの反射面に斜めに入射した場合の光線方向経路模式図である。
本願の実施例による視野制御装置模式図である。
本願の実施例による視野制御装置の遮光部が光を透過しない場合の模式図である。
本願の実施例による視野制御装置の遮光部が光を透過しない場合の模式図である。
本願の他の実施例による視野制御装置の模式図である。
本願の他の実施例による視野制御装置の遮光部が光を透過しない場合の模式図である。
本願の他の実施例による視野制御装置の遮光部が光を透過しない場合の模式図である。
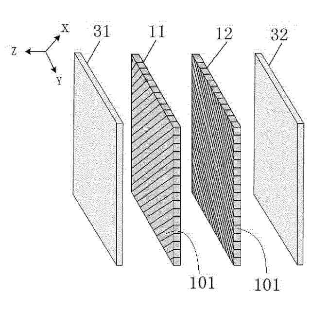
本願の実施例による視野制御装置の第1の保護シート、基体、遮光部及び第2の保護シートの組立模式図である。
本願の実施例による視野制御装置の遮光部の断面が台形である場合の模式図である。
本願の実施例による光学イメージングシステムの平板レンズとディスプレイの模式図である。
本願の実施例による光学イメージングシステムの模式図である。
本願の他の実施例による光学イメージングシステムの模式図である。
本願の他の実施例による光学イメージングシステムの模式図である。
本願の実施例による光学イメージングシステムの平板レンズとディスプレイの異なる置き位置の模式図である。
本願の他の実施例による光学イメージングシステムの模式図である。
本願の他の実施例による光学イメージングシステムの模式図である。
本願の他の実施例による光学イメージングシステムの模式図である。
【発明を実施するための形態】
【0009】
以下、本願の実施例を詳細に説明し、前記実施例の例を図面に示し、最初から最終まで同様または類似の符号は同様または類似の素子または同様または類似の機能を有する素子を示す。以下、図面を参照して説明した実施例は例示なものであり、本願を解釈するために使用され、本願を制限するものとして理解されるべきではない。
【0010】
以下、図1-図26を参照して本願の実施例による光学イメージングシステム100に適用する視野制御装置3を説明する。
(【0011】以降は省略されています)
この特許をJ-PlatPat(特許庁公式サイト)で参照する
関連特許
アイカ工業株式会社
反射防止フィルム
3日前
キヤノン株式会社
映像表示装置
16日前
インターマン株式会社
立体映像表示装置
16日前
個人
透過型及び反射型顕微鏡
16日前
日本分光株式会社
赤外顕微鏡
2日前
旭化成株式会社
成形体
2日前
旭化成株式会社
成形体
2日前
キヤノン株式会社
画像表示装置
2日前
キヤノン株式会社
画像表示装置
24日前
キヤノン株式会社
レンズ装置および撮像装置
4日前
東レ株式会社
プラスチック光ファイバ
26日前
レーザーテック株式会社
検査装置及び検査方法
6日前
キヤノン株式会社
表示装置
9日前
株式会社小糸製作所
画像生成装置
25日前
キヤノン株式会社
光学系及び撮像装置
10日前
東レ株式会社
先端に凸面を有する光ファイバ
16日前
株式会社小糸製作所
画像投影装置
17日前
日東電工株式会社
光学積層体
17日前
株式会社小糸製作所
画像投影装置
16日前
KDDI株式会社
光増幅器
16日前
KDDI株式会社
光増幅器
16日前
KDDI株式会社
光増幅器
3日前
セイコーエプソン株式会社
虚像表示装置
6日前
エピフォトニクス株式会社
光導波路素子
3日前
住友化学株式会社
複合偏光板及び画像表示装置
4日前
KDDI株式会社
光増幅器
3日前
株式会社キーエンス
観察装置
26日前
株式会社フォトニックラティス
透過型光学顕微鏡
10日前
遠視界科技股分有限公司
高視野角拡大装置
18日前
東レ株式会社
黒色樹脂組成物
2日前
レーザーテック株式会社
波長変換装置及び波長変換方法
10日前
TOPPANホールディングス株式会社
調光シート
18日前
住友ベークライト株式会社
電子調光デバイス
2日前
キヤノン株式会社
映像表示装置
6日前
住友ベークライト株式会社
電子調光デバイス
2日前
住友ベークライト株式会社
電子調光デバイス
2日前
続きを見る
他の特許を見る