TOP
|
特許
|
意匠
|
商標
特許ウォッチ
Twitter
他の特許を見る
公開番号
2025143733
公報種別
公開特許公報(A)
公開日
2025-10-02
出願番号
2024043122
出願日
2024-03-19
発明の名称
広告管理装置、方法およびプログラム、並びに広告印刷システム
出願人
理想科学工業株式会社
代理人
個人
主分類
G06Q
30/0242 20230101AFI20250925BHJP(計算;計数)
要約
【課題】梱包材への広告対象の選択の幅を広げるとともに、広告主が求める広告効果に見合った広告費を決定することができる広告管理装置、方法およびプログラム、並びに広告印刷システムを提供する。
【解決手段】梱包材に梱包される商品の属性情報を取得する梱包商品情報取得部13と、商品の属性情報に基づいて、梱包材に印刷される広告の広告費を決定する広告費決定部16とを備える。
【選択図】図1
特許請求の範囲
【請求項1】
梱包材に梱包される商品の属性情報を取得する梱包商品情報取得部と、
前記商品の属性情報に基づいて、前記梱包材に印刷される広告の広告費を決定する広告費決定部とを備えた広告管理装置。
続きを表示(約 730 文字)
【請求項2】
前記広告の対象の属性情報を取得する広告対象情報取得部を備え、
前記広告費決定部が、前記広告の対象の属性情報と前記商品の属性情報との関係に基づいて、前記広告費を決定する請求項1記載の広告管理装置。
【請求項3】
前記広告費決定部が、前記商品の属性情報に対応する予め指定された商品の属性の範囲に基づいて、前記広告費を決定する請求項1記載の広告管理装置。
【請求項4】
前記広告費決定部が、前記梱包材がリユースであるか否かに応じて、前記広告費を変更する請求項1記載の広告管理装置。
【請求項5】
前記属性情報が、前記商品のメーカ情報であり、
前記広告費決定部が、前記広告対象のメーカ情報と前記商品のメーカ情報との間の競合度に基づいて、前記広告費を決定する請求項1記載の広告管理装置。
【請求項6】
前記広告費決定部が、前記広告対象と前記商品との間の関連度に基づいて、前記広告費を決定する請求項1記載の広告管理装置。
【請求項7】
請求項1から6いずれか1項記載の広告管理装置と、
前記広告を前記梱包材に印刷する印刷装置とを備えた広告印刷システム。
【請求項8】
梱包材に梱包される商品の属性情報を取得し、
前記商品の属性情報に基づいて、前記梱包材に印刷される広告の広告費を決定する広告管理方法。
【請求項9】
梱包材に梱包される商品の属性情報を取得するステップと、
前記商品の属性情報に基づいて、前記梱包材に印刷される広告の広告費を決定するステップとをコンピュータに実行させる広告管理プログラム。
発明の詳細な説明
【技術分野】
【0001】
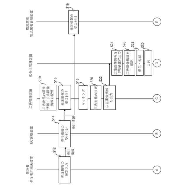
本発明は、梱包材に印刷される広告の広告費を決定する広告管理装置、方法およびプログラム、並びに広告印刷システムに関するものである。
続きを表示(約 1,300 文字)
【背景技術】
【0002】
近年、Amazon(登録商標)や楽天(登録商標)のようなEC(electronic commerce)の市場が拡大している。
【0003】
そして、ECサイトにおいて注文された商品を梱包材に梱包して受取人に発送する際に、梱包された商品以外の他商品の紹介や企業のブランドイメージをアピールする広告を同梱したり、梱包材に印刷したりすることが行われている。
【0004】
たとえば従来は、広告商品の画像を梱包材に印刷したり、広告商品の情報が掲載されたサイトへアクセスするためのコードを梱包材に印刷し、サイトへ誘導することよって広告が行われている。
【0005】
また、たとえば特許文献1においては、包材に印刷される広告について、広告サーバを介して、広告依頼者と広告募集者のマッチングを行うシステムが提案されている。また、特許文献2においては、広告出稿条件と広告募集条件のうちから適合する条件の組み合わせを検索し、その検索した組み合わせに対応する広告主に広告枠を販売することが提案されている。
【先行技術文献】
【特許文献】
【0006】
特開2001-338223号公報
特開2009-145758号公報
【発明の概要】
【発明が解決しようとする課題】
【0007】
しかしながら、特許文献1では、広告依頼者と広告募集者は競合関係にないことが前提であって、必然的に異業種の関係となる。したがって、広告対象の選定の範囲が狭くなるという問題がある。また、特許文献2では、広告依頼者と広告募集者の組み合わせの仕方については具体的記載がない。さらに、特許文献1および特許文献2では、広告費に関する記載はなく、広告主が求める広告効果に見合った広告費の設定が考慮されていなかった。
【0008】
本発明は、上記事情に鑑み、梱包材への広告対象の選択の幅を広げるとともに、広告主が求める広告効果に見合った広告費を決定することができる広告管理装置、方法およびプログラム、並びに広告印刷システムを提供することを目的とするものである。
【課題を解決するための手段】
【0009】
本発明の広告管理装置は、梱包材に梱包される商品の属性情報を取得する梱包商品情報取得部と、商品の属性情報に基づいて、梱包材に印刷される広告の広告費を決定する広告費決定部とを備える。
【発明の効果】
【0010】
本発明の広告管理装置によれば、商品の属性情報に基づいて、梱包材に印刷される広告の広告費を決定する。すなわち、梱包材に印刷される広告の広告費を、梱包される商品との関係で決定するようにしたので、たとえば梱包される商品に対して、競合関係にあるメーカや広告商品の広告を印刷することを許容することによって、高い広告効果を得ることができ、広告主の広告掲載のモチベーションを上げることができるので、広告主の範囲を拡大することができる。
(【0011】以降は省略されています)
この特許をJ-PlatPat(特許庁公式サイト)で参照する
関連特許
理想科学工業株式会社
包装物
18日前
理想科学工業株式会社
印刷装置
12日前
理想科学工業株式会社
印刷装置
18日前
理想科学工業株式会社
孔版印刷装置
1か月前
理想科学工業株式会社
封書作成装置
2か月前
理想科学工業株式会社
画像形成装置
2か月前
理想科学工業株式会社
画像形成装置
2か月前
理想科学工業株式会社
印刷システム
5日前
理想科学工業株式会社
画像処理装置
27日前
理想科学工業株式会社
シート搬送装置
8日前
理想科学工業株式会社
不吐出検出装置
1か月前
理想科学工業株式会社
ワイピング装置
1か月前
理想科学工業株式会社
シート搬送装置
2か月前
理想科学工業株式会社
印刷媒体設置装置
12日前
理想科学工業株式会社
メンテナンス装置
6日前
理想科学工業株式会社
インクジェット印刷装置
1か月前
理想科学工業株式会社
インクジェット印刷装置
2か月前
理想科学工業株式会社
インクジェット印刷装置
4日前
理想科学工業株式会社
インクジェット印刷装置
19日前
理想科学工業株式会社
搬送ローラの摩耗検知装置
2か月前
理想科学工業株式会社
油性インクジェットインク
18日前
理想科学工業株式会社
粘着シート、及び、被印刷物
18日前
理想科学工業株式会社
捺染物の製造方法および印刷装置
4日前
理想科学工業株式会社
印刷装置および捺染物の製造方法
4日前
理想科学工業株式会社
被覆ローラ及び被覆ローラの組立方法
1か月前
理想科学工業株式会社
インクジェットインク及びインクセット
2か月前
理想科学工業株式会社
再販支援システム、方法およびプログラム
5日前
理想科学工業株式会社
油性インクジェットインク及びその製造方法
1か月前
理想科学工業株式会社
転写媒体製造装置および方法並びに転写媒体
2か月前
理想科学工業株式会社
捺染物の製造方法及び捺染物の製造システム
11日前
理想科学工業株式会社
予約管理装置、方法、プログラムおよびシステム
4日前
理想科学工業株式会社
予約管理装置、方法、プログラムおよびシステム
4日前
理想科学工業株式会社
情報処理装置、情報処理方法、およびプログラム
4日前
理想科学工業株式会社
画像処理装置、画像処理方法、及び、プログラム
4日前
理想科学工業株式会社
画像処理装置、画像処理方法、及び、プログラム
1か月前
理想科学工業株式会社
予約管理装置、方法、プログラムおよびシステム
4日前
続きを見る
他の特許を見る