TOP
|
特許
|
意匠
|
商標
特許ウォッチ
Twitter
他の特許を見る
公開番号
2025143739
公報種別
公開特許公報(A)
公開日
2025-10-02
出願番号
2024043133
出願日
2024-03-19
発明の名称
シール材
出願人
三菱電線工業株式会社
代理人
弁理士法人前田特許事務所
主分類
F16J
15/10 20060101AFI20250925BHJP(機械要素または単位;機械または装置の効果的機能を生じ維持するための一般的手段)
要約
【課題】大きな締め付け力を必要とせずに取り付けることができるシール材を提供する。
【解決手段】シール材10は、環状の芯材11と、それを被覆するフッ素系樹脂で形成された被覆層12とを備える。被覆層12の厚さが0.20mm以下である。
【選択図】図1
特許請求の範囲
【請求項1】
環状の芯材と、前記芯材を被覆するフッ素系樹脂で形成された被覆層と、を備えたシール材であって、
前記被覆層の厚さが0.20mm以下であるシール材。
続きを表示(約 280 文字)
【請求項2】
請求項1に記載されたシール材において、
前記フッ素系樹脂がテトラフルオロエチレンパーフルオロアルキルビニルエーテル共重合体樹脂を含むシール材。
【請求項3】
請求項1に記載されたシール材において、
前記芯材がシリコーンゴムで形成されているシール材。
【請求項4】
請求項1に記載されたシール材において、
25%圧縮時の線荷重が3.0N/mm以下であるシール材。
【請求項5】
請求項1に記載されたシール材において、
前記シール材がOリングであるシール材。
発明の詳細な説明
【技術分野】
【0001】
本発明は、シール材に関する。
続きを表示(約 1,000 文字)
【背景技術】
【0002】
環状の芯材がフッ素系樹脂で被覆されたシール材が知られている。例えば特許文献1には、耐熱性ゴムの環状の芯材がフッ素系樹脂の被覆体で被覆されたOリングが開示されている。
【先行技術文献】
【特許文献】
【0003】
特許第5339620号公報
【発明の概要】
【発明が解決しようとする課題】
【0004】
芯材がフッ素系樹脂で被覆されたシール材では、取付時に大きな締め付け力を必要とするという問題がある。
【0005】
本発明の課題は、大きな締め付け力を必要とせずに取り付けることができるシール材を提供することである。
【課題を解決するための手段】
【0006】
本発明は、環状の芯材と、前記芯材を被覆するフッ素系樹脂で形成された被覆層とを備えたシール材であって、前記被覆層の厚さが0.20mm以下である。
【発明の効果】
【0007】
本発明によれば、芯材を被覆するフッ素系樹脂で形成された被覆層の厚さが0.20mm以下であることにより、大きな締め付け力を必要とせずに取り付けることができる。
【図面の簡単な説明】
【0008】
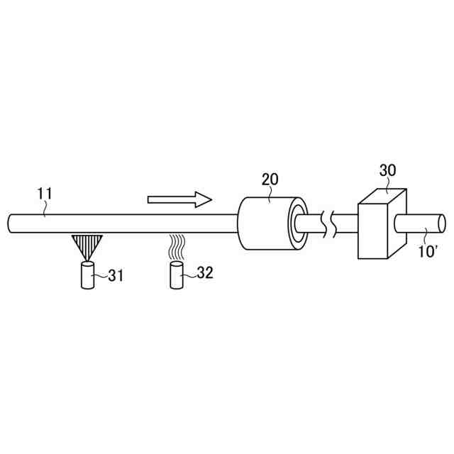
実施形態に係るOリングの断面図である。
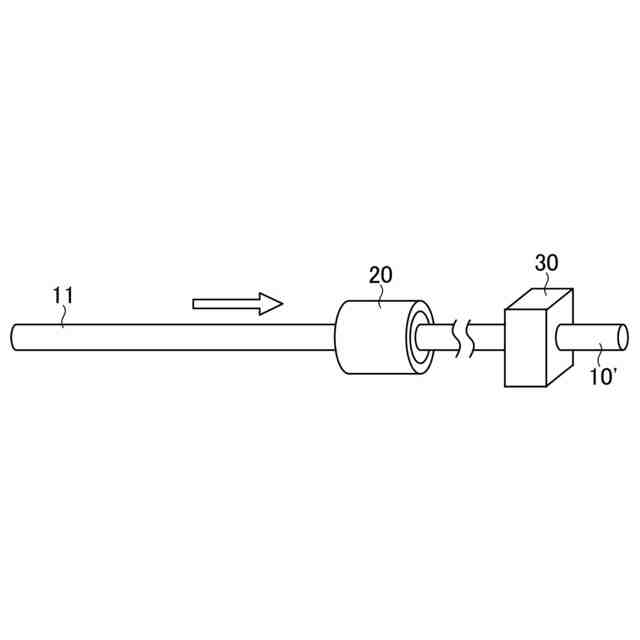
実施形態に係るOリングの製造方法を示す説明図である。
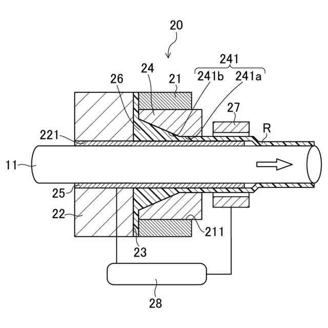
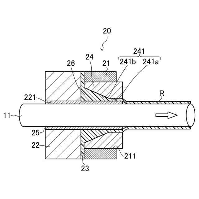
実施形態に係るOリングの製造方法で用いるヘッドの断面図である。
実施形態に係るOリングの製造方法の第1の変形例を示す説明図である。
実施形態に係るOリングの製造方法の第2の変形例を示す説明図である。
実施形態に係るOリングの製造方法の第3の変形例を示す説明図である。
実施形態に係るOリングの製造方法で用いるヘッドの変形例の断面図である。
【発明を実施するための形態】
【0009】
以下、実施形態について詳細に説明する。
【0010】
図1は、実施形態に係るOリング10(シール材)を示す。Oリング10は、その形状についてJIS B2401-1:2012に規定されているが、例えば内径が30mm以上500mm以下及び太さが2mm以上10mm以下である。
(【0011】以降は省略されています)
この特許をJ-PlatPat(特許庁公式サイト)で参照する
関連特許
三菱電線工業株式会社
シール材
2日前
三菱電線工業株式会社
シール材の製造方法
2日前
三菱電線工業株式会社
シール材の製造方法
2日前
三菱電線工業株式会社
シール材の製造方法
2日前
三菱電線工業株式会社
シール材の製造方法及びシール材
2日前
三菱電線工業株式会社
シール材の製造方法及びシール材
2日前
三菱電線工業株式会社
未架橋フッ素ゴム組成物並びにそれを用いて製造されるシール材及びその製造方法
17日前
個人
鍋虫ねじ
1か月前
個人
回転伝達機構
1か月前
個人
ホース保持具
5か月前
個人
紛体用仕切弁
1か月前
個人
差動歯車用歯形
3か月前
個人
トーションバー
6か月前
個人
ジョイント
15日前
株式会社不二工機
電磁弁
3か月前
個人
ボルトナットセット
6か月前
個人
地震の揺れ回避装置
2か月前
個人
ナット
16日前
株式会社不二工機
電磁弁
4か月前
個人
吐出量監視装置
1か月前
カヤバ株式会社
ダンパ
3か月前
カヤバ株式会社
緩衝器
2か月前
柿沼金属精機株式会社
分岐管
1か月前
カヤバ株式会社
緩衝器
6か月前
カヤバ株式会社
緩衝器
2か月前
株式会社三協丸筒
枠体
6か月前
カヤバ株式会社
ダンパ
3か月前
個人
固着具と固着具の固定方法
4か月前
株式会社ニフコ
クリップ
1日前
株式会社ノーリツ
分配弁
4か月前
日東精工株式会社
樹脂被覆ねじ
6か月前
個人
固着具と固着具の固定方法
4か月前
個人
固着具と固着具の固定方法
5か月前
株式会社ノーリツ
分配弁
4か月前
株式会社奥村組
制振機構
5日前
株式会社フジキン
ボールバルブ
3か月前
続きを見る
他の特許を見る