TOP
|
特許
|
意匠
|
商標
特許ウォッチ
Twitter
他の特許を見る
公開番号
2025143744
公報種別
公開特許公報(A)
公開日
2025-10-02
出願番号
2024043148
出願日
2024-03-19
発明の名称
シール材の製造方法
出願人
三菱電線工業株式会社
代理人
弁理士法人前田特許事務所
主分類
C09K
3/10 20060101AFI20250925BHJP(染料;ペイント;つや出し剤;天然樹脂;接着剤;他に分類されない組成物;他に分類されない材料の応用)
要約
【課題】薄い被覆層の表面におけるしわの発生を抑制する。
【解決手段】シール材の製造方法では、紐状の芯材11を長さ方向に沿って移動させる。紐状の芯材11の外周面を溶融したフッ素系樹脂Rで連続して被覆するとともに冷却することにより、紐状の芯材11をフッ素系樹脂の厚さが0.20mm以下の被覆層で被覆した長尺の線材とする。線材から所定長を切り出し、その両端を接合して環状に形成する。紐状の芯材11を被覆する前における溶融したフッ素系樹脂Rの紐状の芯材11との接触予定面に対してプラズマ処理を施す。
【選択図】図3
特許請求の範囲
【請求項1】
紐状の芯材を長さ方向に沿って移動させ、前記紐状の芯材の外周面を溶融したフッ素系樹脂で連続して被覆するとともに冷却することにより、前記紐状の芯材を前記フッ素系樹脂の厚さが0.20mm以下の被覆層で被覆した長尺の線材とし、前記線材から所定長を切り出し、その両端を接合して環状に形成するシール材の製造方法であって、
前記紐状の芯材を被覆する前における前記溶融したフッ素系樹脂の前記紐状の芯材との接触予定面に対してプラズマ処理を施すシール材の製造方法。
続きを表示(約 330 文字)
【請求項2】
請求項1に記載されたシール材の製造方法において、
前記紐状の芯材を筒状部材に挿通させて長さ方向に沿って移動させ、前記溶融したフッ素系樹脂を、前記筒状部材の外周面を被覆するようにダイから筒状に流出させて前記筒状部材の外周面上を移動させ、その端において、前記筒状部材から送り出される前記紐状の芯材の外周面上に載せ替えて送るシール材の製造方法。
【請求項3】
請求項2に記載されたシール材の製造方法において、
前記筒状部材をプラズマ電極として用いるシール材の製造方法。
【請求項4】
請求項1に記載されたシール材の製造方法において、
前記シール材がOリングであるシール材の製造方法。
発明の詳細な説明
【技術分野】
【0001】
本発明は、シール材の製造方法に関する。
続きを表示(約 1,200 文字)
【背景技術】
【0002】
環状の芯材がフッ素系樹脂で被覆されたシール材が知られている。例えば特許文献1には、耐熱性ゴムの環状の芯材がフッ素系樹脂の被覆体で被覆されたOリングが開示されている。
【先行技術文献】
【特許文献】
【0003】
特許第5339620号公報
【発明の概要】
【発明が解決しようとする課題】
【0004】
本発明の課題は、薄い被覆層の表面におけるしわの発生を抑制するシール材の製造方法を提供することである。
【課題を解決するための手段】
【0005】
本発明は、紐状の芯材を長さ方向に沿って移動させ、前記紐状の芯材の外周面を溶融したフッ素系樹脂で連続して被覆するとともに冷却することにより、前記紐状の芯材を前記フッ素系樹脂の厚さが0.20mm以下の被覆層で被覆した長尺の線材とし、前記線材から所定長を切り出し、その両端を接合して環状に形成するシール材の製造方法であって、前記紐状の芯材を被覆する前における前記溶融したフッ素系樹脂の前記紐状の芯材との接触予定面に対してプラズマ処理を施すものである。
【発明の効果】
【0006】
本発明によれば、紐状の芯材を被覆する前における溶融したフッ素系樹脂の紐状の芯材との接触予定面に対してプラズマ処理を施すことにより、フッ素系樹脂の被覆層の芯材との密着性が高められ、その結果として、厚さが0.20mm以下の薄い被覆層の表面におけるしわの発生を抑制することができる。
【図面の簡単な説明】
【0007】
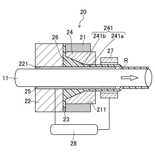
実施形態に係るOリングの断面図である。
実施形態に係るOリングの製造方法を示す説明図である。
実施形態に係るOリングの製造方法で用いるヘッドの断面図である。
実施形態に係るOリングの製造方法の第1の変形例を示す説明図である。
実施形態に係るOリングの製造方法の第2の変形例を示す説明図である。
実施形態に係るOリングの製造方法の第3の変形例を示す説明図である。
【発明を実施するための形態】
【0008】
以下、実施形態について詳細に説明する。
【0009】
図1は、実施形態に係るOリング10(シール材)を示す。Oリング10は、その形状についてJIS B2401-1:2012に規定されているが、例えば内径が30mm以上500mm以下及び太さが2mm以上10mm以下である。
【0010】
実施形態に係るOリング10は、環状の芯材11と、その芯材11を被覆する被覆層12とを備える。被覆層12は、フッ素系樹脂で形成されている。このことから、このOリング10は、半導体製造装置のように耐プラズマ性が要求される用途や耐薬品性が要求される用途のシール手段として好適に用いることができる。そして、被覆層12の厚さは、0.20mm以下である。
(【0011】以降は省略されています)
この特許をJ-PlatPat(特許庁公式サイト)で参照する
関連特許
三菱電線工業株式会社
シール材
1日前
三菱電線工業株式会社
シール材の製造方法
1日前
三菱電線工業株式会社
シール材の製造方法
1日前
三菱電線工業株式会社
シール材の製造方法
1日前
三菱電線工業株式会社
シール材の製造方法及びシール材
1日前
三菱電線工業株式会社
シール材の製造方法及びシール材
1日前
三菱電線工業株式会社
未架橋フッ素ゴム組成物並びにそれを用いて製造されるシール材及びその製造方法
16日前
ベック株式会社
被覆材
3か月前
日本化薬株式会社
インク
7日前
ベック株式会社
被膜形成方法
1か月前
株式会社日本触媒
インクセット
16日前
日本化薬株式会社
インク組成物
7日前
関西ペイント株式会社
塗料組成物
1か月前
ぺんてる株式会社
水性インキ組成物
3か月前
東ソー株式会社
土木用注入薬液組成物
8日前
シヤチハタ株式会社
油性インキ組成物
1か月前
AGC株式会社
液状組成物
2か月前
大日精化工業株式会社
顔料分散液
25日前
アイカ工業株式会社
光硬化型圧着組成物
1か月前
マクセル株式会社
粘着テープ
2か月前
東ソー株式会社
土質安定化注入薬液組成物
1か月前
東ソー株式会社
土質安定化注入薬液組成物
1か月前
ハニー化成株式会社
防反射処理剤
3か月前
アイカ工業株式会社
ポリマー被覆粒子の製造方法
2か月前
ダイキン工業株式会社
組成物
1か月前
artience株式会社
粘着剤及び粘着シート
2か月前
ハニー化成株式会社
親水防汚処理剤
3か月前
ユニチカ株式会社
易接着フィルム、および積層体
1か月前
東洋アルミニウム株式会社
複合顔料
7日前
ダイキン工業株式会社
組成物
1か月前
ダイキン工業株式会社
耐油剤
1か月前
ダイキン工業株式会社
耐油剤
2か月前
株式会社呉竹
絵具
2か月前
三洋化成工業株式会社
粘着剤主剤及び粘着剤組成物
2か月前
artience株式会社
印刷インキおよび印刷物
3か月前
第一三共ヘルスケア株式会社
凍結抑制剤
1か月前
続きを見る
他の特許を見る