TOP
|
特許
|
意匠
|
商標
特許ウォッチ
Twitter
他の特許を見る
10個以上の画像は省略されています。
公開番号
2025143837
公報種別
公開特許公報(A)
公開日
2025-10-02
出願番号
2024043290
出願日
2024-03-19
発明の名称
空調用レジスタ
出願人
豊田合成株式会社
代理人
個人
,
個人
主分類
B60H
1/34 20060101AFI20250925BHJP(車両一般)
要約
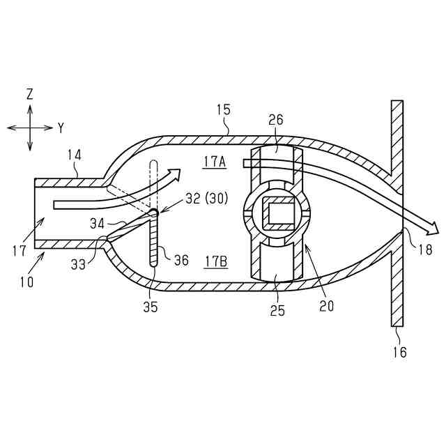
【課題】空調用レジスタの薄型化を図ることができる。
【解決手段】空調用レジスタは、リテーナ10と、リテーナ10内に設けられた下流フィンシャフト20と、リテーナ10内において下流フィンシャフト20に対して吹出口18とは反対側に設けられた上流フィンシャフト30とを備える。下流フィンシャフト20は、車幅方向Xに延在する第1軸線を中心に回転可能に構成される下流シャフト21と、下流シャフト21の外周面に突設されて第1軸線に直交する仮想平面に対して傾斜している下流フィン25,26とを有する。上流フィンシャフト30は、車幅方向Xに延在する第2軸線を中心に回転可能に構成される上流シャフト31と、車幅方向Xに延在する上流フィン32とを有する。車幅方向Xにおける下流シャフト21及び上流シャフト31の一側には、下流シャフト21及び上流シャフト31を回転駆動する駆動装置40が設けられている。
【選択図】図1
特許請求の範囲
【請求項1】
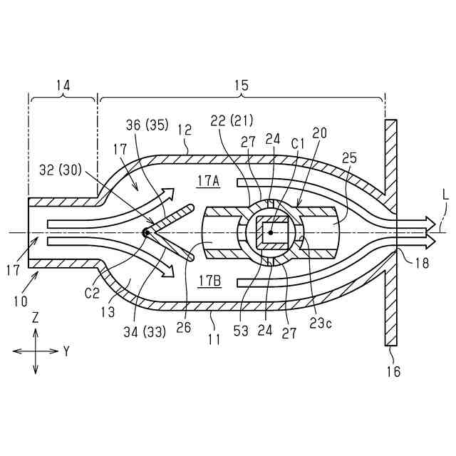
空調用空気を吹き出す吹出口を含む通風路を有するリテーナと、
前記リテーナ内に設けられた下流フィンシャフトと、
前記リテーナ内において前記下流フィンシャフトに対して前記吹出口とは反対側に設けられた上流フィンシャフトと、を備えており、
前記下流フィンシャフトは、
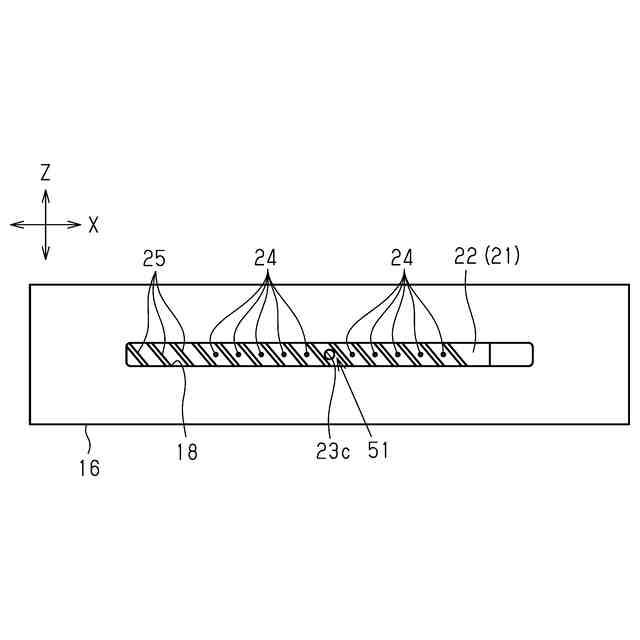
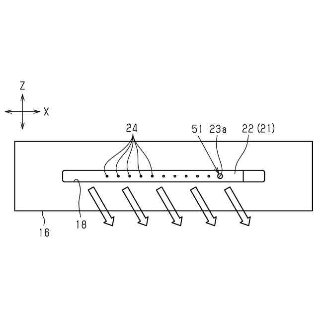
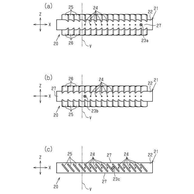
前記吹出口の開口面の面方向である第1方向に延在する第1軸線を中心に回転可能に構成される下流シャフトと、
前記下流シャフトの外周面に突設されて前記第1軸線に直交する仮想平面に対して傾斜している下流フィンと、を有しており、
前記上流フィンシャフトは、
前記第1方向に延在する第2軸線を中心に回転可能に構成される上流シャフトと、
前記第1方向に延在する上流フィンと、を有しており、
前記第1方向における前記下流シャフト及び前記上流シャフトの一側には、前記下流シャフト及び前記上流シャフトを回転駆動する駆動装置が設けられている、
空調用レジスタ。
続きを表示(約 1,400 文字)
【請求項2】
前記駆動装置は、前記下流シャフト及び前記上流シャフトに対してそれぞれ回転力を伝達する共通の駆動ギアを有している、
請求項1に記載の空調用レジスタ。
【請求項3】
前記下流シャフトの外周面には、前記下流シャフトの周方向において前記下流フィンが設けられていない部分である欠除部が設けられており、
前記第1方向に直交する方向であり、前記下流フィンシャフトと前記吹出口との並び方向を第2方向とし、前記第1方向及び前記第2方向の双方に直交する方向を第3方向とするとき、
前記通風路は、前記第3方向における前記下流シャフトの一側及び他側にそれぞれ位置する第1通路部及び第2通路部を有しており、
前記欠除部は、前記下流フィンが前記第2方向における前記下流シャフトの一側または他側に位置するときに、前記第1通路部及び前記第2通路部に位置するように構成されている、
請求項1に記載の空調用レジスタ。
【請求項4】
前記下流フィンを第1下流フィンとするとき、
前記下流シャフトの外周面には、前記第1下流フィンとは前記下流シャフトを挟んで反対側の部分に突設された第2下流フィンを有し、
前記第2下流フィンは、前記仮想平面に対する傾斜方向が前記第1下流フィンと同一である、
請求項3に記載の空調用レジスタ。
【請求項5】
前記上流フィンは、
前記第1通路部に対して前記空調用空気の流れを案内するとともに前記第2通路部に前記空調用空気が流れることを規制する第1風向制御位置と、
前記第2通路部に対して前記空調用空気の流れを案内するとともに前記第1通路部に前記空調用空気が流れることを規制する第2風向制御位置と、
前記第1通路部及び前記第2通路部の双方に対して前記空調用空気の流れを案内するニュートラル位置と、に変位可能に構成されている、
請求項3または請求項4に記載の空調用レジスタ。
【請求項6】
前記上流フィンは、前記第1方向に延在する第1面及び第2面を有しており、
前記リテーナは、
前記下流フィンシャフト及び前記上流フィンを収容するとともに前記吹出口を有する収容部と、
前記収容部における前記空調用空気の流れ方向の上流側に接続されるとともに、前記第3方向に対向する一対の内壁同士の距離が前記収容部よりも小さくされた接続部と、を有しており、
前記第1風向制御位置においては、前記第1面のみが、前記接続部から前記第1通路部に向かうように前記第2方向に対して傾斜して延在し、
前記第2風向制御位置においては、前記第2面のみが、前記接続部から前記第2通路部に向かうように前記第2方向に対して傾斜して延在し、
前記ニュートラル位置においては、前記第2面が、前記接続部から前記第1通路部に向かうように前記第2方向に対して傾斜して延在するとともに、前記第1面が、前記接続部から前記第2通路部に向かうように前記第2方向に対して傾斜して延在する、
請求項5に記載の空調用レジスタ。
【請求項7】
前記上流フィンは、前記通風路を遮断する遮断位置に変位可能に構成されている、
請求項5に記載の空調用レジスタ。
発明の詳細な説明
【技術分野】
【0001】
本発明は、空調用レジスタに関する。
続きを表示(約 1,500 文字)
【背景技術】
【0002】
自動車には、空調用空気を車室内に吹き出す空調用レジスタが設けられている(例えば特許文献1参照)。
特許文献1に記載の風向調整装置は、筒状のケース体、並びにケース体の内部に設けられる複数の中間可動フィン及び複数のリアフィンを備えている。
【0003】
複数の中間可動フィンは、吹出口の開口面の面方向であるY方向に互いに間隔をあけて設けられている。
複数のリアフィンは、中間可動フィンに対して吹出口とは反対側に設けられている。
【0004】
中間可動フィンと吹出口との並び方向をX方向とし、Y方向及びX方向の双方に直交する方向をZ方向とする。
中間可動フィンは、Z方向に延在する軸線を中心に回動可能に支持されている。中間可動フィンが回転することにより、空調用空気のY方向における風向が変更される。中間可動フィンを回転駆動する駆動機構は、Z方向におけるケース体の外側に設けられている。
【0005】
リアフィンは、Y方向に延在する軸線を中心に回動可能に支持されている。リアフィンが回転することにより、空調用空気のZ方向における風向が変更される。リアフィンを回転駆動する駆動機構は、Y方向におけるケース体の外側に設けられている。
【先行技術文献】
【特許文献】
【0006】
特開2022-150682号公報
【発明の概要】
【発明が解決しようとする課題】
【0007】
特許文献1に記載の風向調整装置においては、中間可動フィンを回転駆動する駆動機構が、Z方向におけるケース体の外側に設けられている。このため、空調用レジスタのZ方向における寸法を小さくすること、すなわち薄型化を図ることが難しい。
【課題を解決するための手段】
【0008】
上記課題を解決するための空調用レジスタの各態様を記載する。
[態様1]
空調用空気を吹き出す吹出口を含む通風路を有するリテーナと、
前記リテーナ内に設けられた下流フィンシャフトと、
前記リテーナ内において前記下流フィンシャフトに対して前記吹出口とは反対側に設けられた上流フィンシャフトと、を備えており、
前記下流フィンシャフトは、
前記吹出口の開口面の面方向である第1方向に延在する第1軸線を中心に回転可能に構成される下流シャフトと、
前記下流シャフトの外周面に突設されて前記第1軸線に直交する仮想平面に対して傾斜している下流フィンと、を有しており、
前記上流フィンシャフトは、
前記第1方向に延在する第2軸線を中心に回転可能に構成される上流シャフトと、
前記第1方向に延在する上流フィンと、を有しており、
前記第1方向における前記下流シャフト及び前記上流シャフトの一側には、前記下流シャフト及び前記上流シャフトを回転駆動する駆動装置が設けられている、
空調用レジスタ。
【0009】
同構成によれば、下流シャフト及び上流シャフトを回転駆動する駆動装置が、第1方向における下流シャフト及び上流シャフトの一側に設けられている。このため、第3方向における空調用レジスタの寸法が駆動装置に起因して大きくなることを抑制できる。したがって、空調用レジスタの薄型化を図ることができる。
【0010】
[態様2]
前記駆動装置は、前記下流シャフト及び前記上流シャフトに対してそれぞれ回転力を伝達する共通の駆動ギアを有している、
態様1に記載の空調用レジスタ。
(【0011】以降は省略されています)
この特許をJ-PlatPat(特許庁公式サイト)で参照する
関連特許
豊田合成株式会社
殺菌装置
14日前
豊田合成株式会社
着座装置
16日前
豊田合成株式会社
操作装置
1か月前
豊田合成株式会社
表示装置
1か月前
豊田合成株式会社
発光素子
1か月前
豊田合成株式会社
半導体素子
22日前
豊田合成株式会社
ガラスラン
今日
豊田合成株式会社
ガラスラン
7日前
豊田合成株式会社
ガラスラン
今日
豊田合成株式会社
乗員保護装置
1か月前
豊田合成株式会社
樹脂成形装置
8日前
豊田合成株式会社
流体殺菌装置
2か月前
豊田合成株式会社
流体殺菌装置
14日前
豊田合成株式会社
流体殺菌装置
14日前
豊田合成株式会社
流体殺菌装置
2か月前
豊田合成株式会社
流体殺菌装置
24日前
豊田合成株式会社
車両用外装品
28日前
豊田合成株式会社
乗員保護装置
2か月前
豊田合成株式会社
車両用外装品
28日前
豊田合成株式会社
下肢保護装置
1か月前
豊田合成株式会社
車載照明装置
1か月前
豊田合成株式会社
車両用外装品
1か月前
豊田合成株式会社
車両用内装品
2日前
豊田合成株式会社
流体殺菌装置
1か月前
豊田合成株式会社
情報処理装置
1か月前
豊田合成株式会社
乗員保護装置
1か月前
豊田合成株式会社
流体殺菌装置
1か月前
豊田合成株式会社
流体殺菌装置
2か月前
豊田合成株式会社
機器制御装置
今日
豊田合成株式会社
乗員保護装置
今日
豊田合成株式会社
車両用外装品
今日
豊田合成株式会社
車両用内装品
2日前
豊田合成株式会社
ミスト噴射装置
1か月前
豊田合成株式会社
車両の前部構造
1か月前
豊田合成株式会社
電動液体ポンプ
今日
豊田合成株式会社
電動液体ポンプ
今日
続きを見る
他の特許を見る