TOP
|
特許
|
意匠
|
商標
特許ウォッチ
Twitter
他の特許を見る
公開番号
2025145239
公報種別
公開特許公報(A)
公開日
2025-10-03
出願番号
2024045319
出願日
2024-03-21
発明の名称
車両用外装品
出願人
豊田合成株式会社
,
株式会社豊田自動織機
代理人
個人
,
個人
主分類
B60R
19/52 20060101AFI20250926BHJP(車両一般)
要約
【課題】ウェルドラインが基部に発生することを抑制することができる。
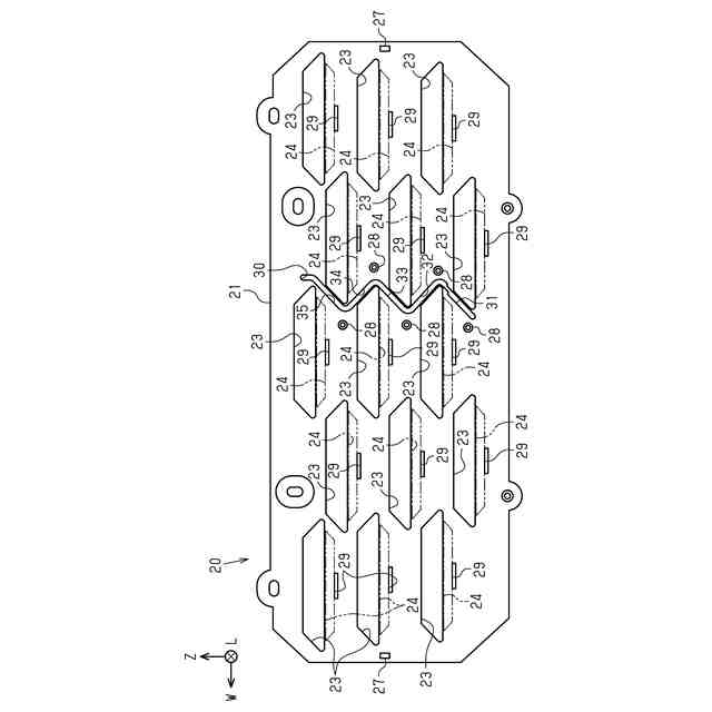
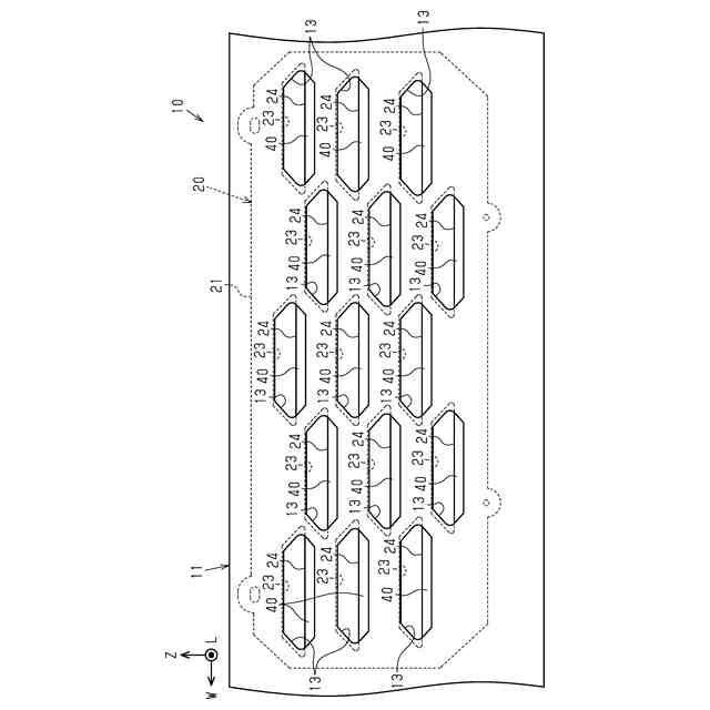
【解決手段】車両用外装品は、車両の外殻部分の一部を構成するバンパカバーと、バンパカバーに対して車両の内方であり、バンパカバーと対向して設けられるグリル20とを備える。バンパカバーは、バンパカバーを貫通する貫通孔を有する。グリル20は、貫通孔と前後方向Lにおいて重なる位置に設けられる基部24を有する樹脂基材21と、基部の外面に積層された加飾層とを有する。樹脂基材は、樹脂基材の車幅方向Wの両端にそれぞれ形成されたゲート痕27と、上下方向Zに延在するとともに樹脂基材を貫通する長孔30とを有する。長孔は、車幅方向Wにおいて基部と隣り合うとともに、上下方向Zにおいて基部の両端よりもそれぞれ外側まで延在しており、且つ前後方向Lにおいてバンパカバーと重なる位置に設けられて車両の外部に露出しないように構成されている。
【選択図】図5
特許請求の範囲
【請求項1】
車両の外殻部分の一部を構成する外装部材と、前記外装部材に対して前記車両の内方であり、前記外装部材と対向して設けられる加飾部材と、を備える車両用外装品であって、
前記外装部材は、前記外装部材と前記加飾部材との対向方向において前記外装部材を貫通する貫通孔を有し、
前記加飾部材は、前記貫通孔と前記対向方向において重なる位置に設けられる基部を有する樹脂基材と、前記基部の外面に積層された加飾層と、を有し、
前記樹脂基材は、前記樹脂基材の両端にそれぞれ形成されたゲート痕と、前記樹脂基材の面方向のうち2つの前記ゲート痕の並び方向に交差する延在方向に延在するとともに前記対向方向において前記樹脂基材を貫通する長孔と、を有し、
前記長孔は、前記並び方向において前記基部と隣り合うとともに、前記延在方向において前記基部の両端よりもそれぞれ外側まで延在しており、且つ前記対向方向において前記外装部材と重なる位置に設けられて前記車両の外部に露出しないように構成されている、
車両用外装品。
続きを表示(約 540 文字)
【請求項2】
前記樹脂基材は、長尺状であり、
2つの前記ゲート痕は、前記樹脂基材の長手方向の両端にそれぞれ形成されている、
請求項1に記載の車両用外装品。
【請求項3】
前記外装部材は、複数の前記貫通孔を有し、
前記樹脂基材は、複数の前記貫通孔にそれぞれ対応する複数の前記基部を有し、
前記基部は、前記並び方向において前記長孔の両側にそれぞれ設けられている、
請求項2に記載の車両用外装品。
【請求項4】
前記外装部材は、複数の前記貫通孔を有し、
前記樹脂基材は、複数の前記貫通孔にそれぞれ対応する複数の前記基部を有し、
前記基部は、前記延在方向に並んで複数設けられており、
前記長孔は、前記延在方向に並んで設けられる複数の前記基部全体にわたって設けられている、
請求項2または請求項3に記載の車両用外装品。
【請求項5】
前記加飾層は、ホットスタンプ層である、
請求項1に記載の車両用外装品。
【請求項6】
前記樹脂基材には、前記長孔を前記車両の内方から覆う補強部材が取り付けられている、
請求項1に記載の車両用外装品。
発明の詳細な説明
【技術分野】
【0001】
本発明は、車両用外装品に関する。
続きを表示(約 1,900 文字)
【背景技術】
【0002】
特許文献1には、加飾部材としてのラジエータグリルが記載されている。特許文献1に記載のラジエータグリルは、表面部材と、表面部材の車両後側に設けられる加飾基材とを有する。表面部材は、多数の通孔を有する板状である。加飾基材は、車幅方向に延在する帯状の基材基部、基材基部から車両前側に突出する複数の突出部、及び突出部の先端面に積層された加飾層を有する。複数の突出部は、車幅方向において互いに間隔をあけて設けられている。突出部は、表面部材の通孔と前後方向に重なる位置に設けられている。基材基部及び突出部は、樹脂により一体成形されている。加飾層は、ホットスタンプにより形成されている。
【先行技術文献】
【特許文献】
【0003】
特開2019-48559号公報
【発明の概要】
【発明が解決しようとする課題】
【0004】
ところで、特許文献1に記載の加飾部材の基材基部及び突出部(以下、樹脂基材)は、金型内へ溶融樹脂を供給することにより形成される。上記樹脂基材は車幅方向に延在する帯状であることから、金型のうち、樹脂基材の車幅方向の両側に対応する部分にそれぞれ設定されたゲートから溶融樹脂が金型内に供給される。この場合、両ゲートから金型内へ流入した溶融樹脂の合流部分に成形不良の跡であるウェルドラインが生じやすい。この場合、突出部に発生したウェルドラインによって突出部の先端面に積層される加飾層の外観が損なわれるおそれがある。
【課題を解決するための手段】
【0005】
上記課題を解決するための車両用外装品の各態様を記載する。
[態様1]
車両の外殻部分の一部を構成する外装部材と、前記外装部材に対して前記車両の内方であり、前記外装部材と対向して設けられる加飾部材と、を備える車両用外装品であって、前記外装部材は、前記外装部材と前記加飾部材との対向方向において前記外装部材を貫通する貫通孔を有し、前記加飾部材は、前記貫通孔と前記対向方向において重なる位置に設けられる基部を有する樹脂基材と、前記基部の外面に積層された加飾層と、を有し、前記樹脂基材は、前記樹脂基材の両端にそれぞれ形成されたゲート痕と、前記樹脂基材の面方向のうち2つの前記ゲート痕の並び方向に交差する延在方向に延在するとともに前記対向方向において前記樹脂基材を貫通する長孔と、を有し、前記長孔は、前記並び方向において前記基部と隣り合うとともに、前記延在方向において前記基部の両端よりもそれぞれ外側まで延在しており、且つ前記対向方向において前記外装部材と重なる位置に設けられて前記車両の外部に露出しないように構成されている、車両用外装品。
【0006】
ゲートから金型内に溶融樹脂を供給して樹脂基材を成形する場合、樹脂基材には、ゲートに対応した部分を除去した痕であるゲート痕が形成される。
上記構成によれば、長孔が、並び方向において樹脂基材の基部と隣り合うとともに、延在方向において基部の両端よりもそれぞれ外側まで延在している。このため、2つのゲートから金型内に溶融樹脂を供給して樹脂基材を成形する際に、各ゲートから供給される溶融樹脂同士が金型内のキャビティのうち上記基部を成形する部分において合流することが、金型の成形面のうち長孔を成形する部分、すなわち隔離壁によって抑制される。したがって、ウェルドラインが基部に発生することを抑制することができる。
【0007】
[態様2]
前記樹脂基材は、長尺状であり、2つの前記ゲート痕は、前記樹脂基材の長手方向の両端にそれぞれ形成されている、[態様1]に記載の車両用外装品。
【0008】
樹脂基材が長尺状である場合、樹脂基材を成形する際に、金型のうち樹脂基材の長手方向の両端にそれぞれ対応する箇所にゲートが設定されていると、各ゲートから供給される溶融樹脂同士が合流するまでに冷却されやすいためにウェルドラインが発生しやすい。
【0009】
この点、上記構成によれば、長尺状であり、且つ2つのゲート痕が長手方向の両端にそれぞれ形成されている樹脂基材において、ウェルドラインが基部に発生することを抑制できる。
【0010】
[態様3]
前記外装部材は、複数の前記貫通孔を有し、前記樹脂基材は、複数の前記貫通孔にそれぞれ対応する複数の前記基部を有し、前記基部は、前記並び方向において前記長孔の両側にそれぞれ設けられている、[態様2]に記載の車両用外装品。
(【0011】以降は省略されています)
この特許をJ-PlatPat(特許庁公式サイト)で参照する
関連特許
豊田合成株式会社
発光素子
1か月前
豊田合成株式会社
殺菌装置
19日前
豊田合成株式会社
表示装置
1か月前
豊田合成株式会社
操作装置
1か月前
豊田合成株式会社
着座装置
21日前
豊田合成株式会社
ガラスラン
5日前
豊田合成株式会社
半導体素子
27日前
豊田合成株式会社
ガラスラン
12日前
豊田合成株式会社
ガラスラン
5日前
豊田合成株式会社
樹脂成形装置
13日前
豊田合成株式会社
機器制御装置
5日前
豊田合成株式会社
車両用外装品
5日前
豊田合成株式会社
流体殺菌装置
19日前
豊田合成株式会社
流体殺菌装置
19日前
豊田合成株式会社
車両用内装品
7日前
豊田合成株式会社
車両用内装品
7日前
豊田合成株式会社
乗員保護装置
5日前
豊田合成株式会社
車両用外装品
1か月前
豊田合成株式会社
流体殺菌装置
1か月前
豊田合成株式会社
車載照明装置
1か月前
豊田合成株式会社
流体殺菌装置
1か月前
豊田合成株式会社
車両用外装品
1か月前
豊田合成株式会社
流体殺菌装置
29日前
豊田合成株式会社
車両の前部構造
1か月前
豊田合成株式会社
立体エアバッグ
5日前
豊田合成株式会社
ミスト噴射装置
1か月前
豊田合成株式会社
立体エアバッグ
20日前
豊田合成株式会社
電動液体ポンプ
5日前
豊田合成株式会社
電動液体ポンプ
5日前
豊田合成株式会社
電動液体ポンプ
5日前
豊田合成株式会社
電動液体ポンプ
5日前
豊田合成株式会社
電動液体ポンプ
5日前
豊田合成株式会社
空調用レジスタ
6日前
豊田合成株式会社
空調用レジスタ
6日前
豊田合成株式会社
空調用レジスタ
6日前
豊田合成株式会社
車両の音出力装置
9日前
続きを見る
他の特許を見る