TOP
|
特許
|
意匠
|
商標
特許ウォッチ
Twitter
他の特許を見る
10個以上の画像は省略されています。
公開番号
2025146376
公報種別
公開特許公報(A)
公開日
2025-10-03
出願番号
2024047115
出願日
2024-03-22
発明の名称
乗員保護装置
出願人
豊田合成株式会社
,
トヨタ自動車株式会社
代理人
個人
主分類
B60R
21/18 20060101AFI20250926BHJP(車両一般)
要約
【課題】エアバッグの導管部が車両のドアに挟まれることを抑制することができる乗員保護装置を提供する。
【解決手段】乗員保護装置10は、シート1と、シート1に着座する乗員Mの腰部MWを拘束するように構成されたラップベルト部13を有するシートベルト11と、膨張用ガスを放出するインフレーター24と、ラップベルト部13に設けられたエアバッグ30とを備える。エアバッグ30の導管部30bにおけるバッグ本体部30aとの接続部とインフレーター24との接続部との間の中間部30b4は、シート1のサイドカバー1cに固定されている。
【選択図】図8
特許請求の範囲
【請求項1】
車両の乗員を保護する乗員保護装置であって、
背もたれ部と、座部と、前記車両のドアと前記座部との間に配置され、前記座部の側面を覆うサイドカバーとを備えるシートと、
前記シートに着座する乗員の腰部を拘束するように構成されたラップベルト部を有するシートベルトと、
膨張用ガスを放出するインフレーターと、
前記ラップベルト部に設けられたエアバッグであって、前記膨張用ガスが供給されることにより膨張して乗員を受け止めるバッグ本体部と、一端側が前記インフレーターに接続され、他端側が前記バッグ本体部に接続され、前記インフレーターから放出される前記膨張用ガスを前記バッグ本体部に案内して前記バッグ本体部に前記膨張用ガスを流入させる導管部と、を有するエアバッグと、
を備え、
前記導管部における前記バッグ本体部との接続部と前記インフレーターとの接続部との間の中間部は、前記サイドカバーに固定されていることを特徴とする乗員保護装置。
続きを表示(約 320 文字)
【請求項2】
前記サイドカバーは、前記ドアと対向する対向部から前記座部側に凹む凹部を備え、
前記導管部は、前記凹部に収納されていることを特徴とする請求項1に記載の乗員保護装置。
【請求項3】
前記サイドカバーは、前記凹部の開口部を前記ドア側から覆う蓋部を備えることを特徴とする請求項2に記載の乗員保護装置。
【請求項4】
前記導管部は、前記凹部に嵌合することによって前記サイドカバーに固定されていることを特徴とする請求項2に記載の乗員保護装置。
【請求項5】
前記インフレーターは、前記座部の背面に固定されていることを特徴とする請求項1乃至4のいずれか1項に記載の乗員保護装置。
発明の詳細な説明
【技術分野】
【0001】
本発明は、車両のシートに着座する乗員を保護する乗員保護装置に関する。
続きを表示(約 1,700 文字)
【背景技術】
【0002】
従来から、乗員を保護する乗員保護装置として、乗員をシートに拘束するシートベルトを設ける構成が広く知られている。また、特許文献1では、シートベルトにおける乗員の腰部を拘束するラップベルト部にエアバッグを設け、エアバッグによって乗員を受け止めて保護する構成が記載されている。
【0003】
特許文献1に記載のエアバッグは、膨張用ガスが供給されることにより膨張して乗員を受け止めるバッグ本体部と、インフレーターに接続され、インフレーターから放出される膨張用ガスをバッグ本体部に案内してバッグ本体部に膨張用ガスを流入させる導管部を有する。
【先行技術文献】
【特許文献】
【0004】
特開2020-66425号公報
【発明の概要】
【発明が解決しようとする課題】
【0005】
特許文献1の構成では、導管部の長手方向の一端側はインフレーターに接続されて固定されており、他端側はバッグ本体部に接続されて固定されているものの、これらの間の中間部はどこにも固定されていない。そのため、この導管部の中間部が車両のドア側に垂れ下がり、ドアの開閉時にドアに挟まれてダメージを受けるおそれがある。
【0006】
そこで本発明は、エアバッグの導管部が車両のドアに挟まれることを抑制することができる乗員保護装置を提供することを目的とする。
【課題を解決するための手段】
【0007】
上記課題を解決するための本発明に係る乗員保護装置の代表的な構成は、車両の乗員を保護する乗員保護装置であって、背もたれ部と、座部と、前記車両のドアと前記座部との間に配置され、前記座部の側面を覆うサイドカバーとを備えるシートと、前記シートに着座する乗員の腰部を拘束するように構成されたラップベルト部を有するシートベルトと、膨張用ガスを放出するインフレーターと、前記ラップベルト部に設けられたエアバッグであって、前記膨張用ガスが供給されることにより膨張して乗員を受け止めるバッグ本体部と、一端側が前記インフレーターに接続され、他端側が前記バッグ本体部に接続され、前記インフレーターから放出される前記膨張用ガスを前記バッグ本体部に案内して前記バッグ本体部に前記膨張用ガスを流入させる導管部と、を有するエアバッグと、を備え、前記導管部における前記バッグ本体部との接続部と前記インフレーターとの接続部との間の中間部は、前記サイドカバーに固定されていることを特徴とする。
【0008】
本発明によれば、乗員保護装置において、エアバッグの導管部が車両のドアに挟まれることを抑制することができる。
【図面の簡単な説明】
【0009】
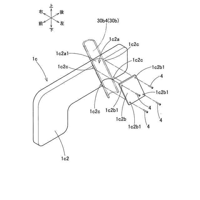
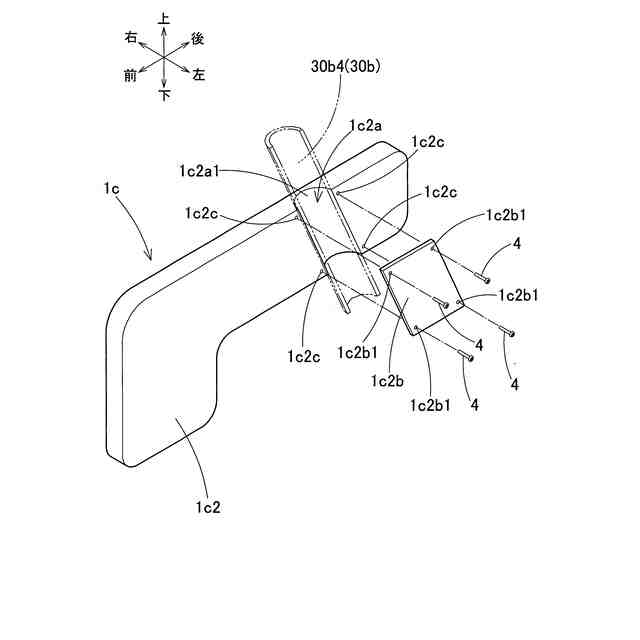
車両に搭載されたシートの斜視図である。
シートの分解斜視図である。
シートの左側面図である。
シートの正面図である。
エアバッグが膨張した状態のシートの左側面図である。
図4に示すA-A断面で切断したバッグ組付体の断面図である。
エアバッグが膨張した状態のバッグ組付体を下側から見た斜視図である。
蓋部を取り外した状態のシートのサイドカバーの左側面の斜視概略図である。
エアバッグの導管部とシートのサイドカバーの左側面の斜視概略図である。
【発明を実施するための形態】
【0010】
以下、本発明の一実施形態に係る乗員保護装置10について説明する。なお、以下に記載されている構成部品の寸法、材質、形状、その相対配置などは、特に特定的な記載がない限りは、この発明の範囲をそれらのみに限定する趣旨のものではない。また、以下の説明においては、特定的な記載がない限り、左右方向は車両50のシート1の左方向と右方向、具体的にはシート1に着座する乗員Mから見た左方向と右方向を意味する。また、前後方向はシート1の前方向と後方向、具体的にはシート1に着座する乗員Mから見た前方向と後方向を意味する。また、上下方向は鉛直方向の上方向と下方向を意味する。
(【0011】以降は省略されています)
この特許をJ-PlatPat(特許庁公式サイト)で参照する
関連特許
豊田合成株式会社
着座装置
17日前
豊田合成株式会社
表示装置
1か月前
豊田合成株式会社
操作装置
1か月前
豊田合成株式会社
発光素子
1か月前
豊田合成株式会社
殺菌装置
15日前
豊田合成株式会社
ガラスラン
1日前
豊田合成株式会社
ガラスラン
1日前
豊田合成株式会社
ガラスラン
8日前
豊田合成株式会社
半導体素子
23日前
豊田合成株式会社
流体殺菌装置
15日前
豊田合成株式会社
乗員保護装置
1か月前
豊田合成株式会社
車載照明装置
1か月前
豊田合成株式会社
車両用内装品
3日前
豊田合成株式会社
車両用外装品
1か月前
豊田合成株式会社
乗員保護装置
1か月前
豊田合成株式会社
情報処理装置
1か月前
豊田合成株式会社
樹脂成形装置
9日前
豊田合成株式会社
流体殺菌装置
15日前
豊田合成株式会社
機器制御装置
1日前
豊田合成株式会社
車両用外装品
1日前
豊田合成株式会社
流体殺菌装置
1か月前
豊田合成株式会社
流体殺菌装置
25日前
豊田合成株式会社
車両用外装品
29日前
豊田合成株式会社
流体殺菌装置
1か月前
豊田合成株式会社
車両用外装品
29日前
豊田合成株式会社
乗員保護装置
1日前
豊田合成株式会社
車両用内装品
3日前
豊田合成株式会社
立体エアバッグ
16日前
豊田合成株式会社
発光エンブレム
1か月前
豊田合成株式会社
立体エアバッグ
1日前
豊田合成株式会社
車両の前部構造
1か月前
豊田合成株式会社
ミスト噴射装置
1か月前
豊田合成株式会社
空調用レジスタ
2日前
豊田合成株式会社
電動液体ポンプ
1日前
豊田合成株式会社
電動液体ポンプ
1日前
豊田合成株式会社
電動液体ポンプ
1日前
続きを見る
他の特許を見る