TOP
|
特許
|
意匠
|
商標
特許ウォッチ
Twitter
他の特許を見る
公開番号
2025144424
公報種別
公開特許公報(A)
公開日
2025-10-02
出願番号
2024044185
出願日
2024-03-19
発明の名称
電動車両充電機器
出願人
東京瓦斯株式会社
代理人
個人
,
個人
主分類
H02J
3/14 20060101AFI20250925BHJP(電力の発電,変換,配電)
要約
【課題】家庭用の電源を利用して電動車両の充電を行う際の、利用者の利便性を向上させる。
【解決手段】電動車両充電機器は、家庭内の配線から電気を取るための家庭内コンセントに差し込むプラグと、電動車両を充電するための充電ケーブルに接続されたプラグを差し込むためのコンセントと、家庭内の電流値に関する情報を取得する取得部と、取得部により取得した電流値に関する情報をもとにプラグおよびコンセントを介した電動車両の充電を制御する制御部と、制御部により制御された電動車両の充電に関する情報を出力する出力部と、を有する。
【選択図】図1
特許請求の範囲
【請求項1】
家庭内の配線から電気を取るための家庭内コンセントに差し込むプラグと、
電動車両を充電するための充電ケーブルに接続されたプラグを差し込むためのコンセントと、
家庭内の電流値に関する情報を取得する取得部と、
前記取得部により取得した前記電流値に関する情報をもとに前記プラグおよび前記コンセントを介した前記電動車両の充電を制御する制御部と、
前記制御部により制御された前記電動車両の充電に関する情報を出力する出力部と、
を有することを特徴とする電動車両充電機器。
続きを表示(約 520 文字)
【請求項2】
前記取得部は、前記家庭内の電流値を計測する計測器から、現在の電流値である現在電流値を取得することを特徴とする請求項1に記載の電動車両充電機器。
【請求項3】
前記制御部は、電力会社と家庭とが契約している契約電流に対して余裕度を加味した目標電流値と現在電流値との差から得られる余力電流値を取得することを特徴とする請求項1または2に記載の電動車両充電機器。
【請求項4】
前記制御部は、前記余力電流値に対して前記電動車両の充電に必要な電流である充電電流値が小さい場合に充電を行い、当該余力電流値に対して当該充電電流値が大きい場合に充電を行わないことを特徴とする請求項3に記載の電動車両充電機器。
【請求項5】
前記出力部は、前記電動車両の充電に関する情報を、ネットワークを介して外部サーバに出力することを特徴とする請求項1に記載の電動車両充電機器。
【請求項6】
前記電動車両の充電に関する情報は、前記電動車両の充電時間、充電電力および充電時間、および充電電力量の少なくとも何れか一つであることを特徴とする請求項1または請求項5に記載の電動車両充電機器。
発明の詳細な説明
【技術分野】
【0001】
本発明は、電動車両充電機器に関する。
続きを表示(約 3,200 文字)
【背景技術】
【0002】
特許文献1には、設置場所の自由度を高くするとともに機能の追加に必要な費用及び手間を軽減するために、コンセントを収納する箱形の筐体とを備え、筐体は、造営材若しくは構造物に設けられる収納スペースに収納されることが開示されている。
特許文献2には、複数の電動車両のそれぞれに搭載された蓄電池を複数の充電機器によって適切に充電するため、第1電流値と第2電流値の合計が所定の上限値を超えないように、充電制御装置によって配分を決定することが記載されている。
【先行技術文献】
【特許文献】
【0003】
特開2012-105375号公報
特開2022-75347号公報
【発明の概要】
【発明が解決しようとする課題】
【0004】
ところで、電動車両(EV)を社用車として使用している会社では、例えば、従業員が会社に出社せず社用車を用いて自宅から直接目的地に向かい、業務が終わると会社へ戻らず社用車を用いてそのまま自宅に帰る勤務形態がある。この勤務形態では、従業員が、EVの社用車を従業員の家庭で充電することがありうる。この場合、EV用の充電機器を既に従業員が所持しているときは、そのままEVを充電できるが、一般には、EV用の充電機器を従業員が所持していないため、そのときには、家庭用の充電機器とは別に、EV用の充電機器を新たに設置する必要が生じる。また、例えば社用車を家庭で充電する場合には、家庭で用いる他の機器にて消費される電力と社用車のEVの充電にて消費される電力とを区別することが要請されるが、そのままでは社用車のEVの充電にかかる電気料金だけを計測することはできない。
本発明は、家庭用の電源を利用して電動車両の充電を行う際の、利用者の利便性を向上させることを目的とする。
【課題を解決するための手段】
【0005】
請求項1に記載の発明は、家庭内の配線から電気を取るための家庭内コンセントに差し込むプラグと、電動車両を充電するための充電ケーブルに接続されたプラグを差し込むためのコンセントと、家庭内の電流値に関する情報を取得する取得部と、前記取得部により取得した前記電流値に関する情報をもとに前記プラグおよび前記コンセントを介した前記電動車両の充電を制御する制御部と、前記制御部により制御された前記電動車両の充電に関する情報を出力する出力部と、を有することを特徴とする電動車両充電機器である。
請求項2に記載の発明は、前記取得部は、前記家庭内の電流値を計測する計測器から、現在の電流値である現在電流値を取得することを特徴とする請求項1に記載の電動車両充電機器である。
請求項3に記載の発明は、前記制御部は、電力会社と家庭とが契約している契約電流に対して余裕度を加味した目標電流値と現在電流値との差から得られる余力電流値を取得することを特徴とする請求項1または2に記載の電動車両充電機器である。
請求項4に記載の発明は、前記制御部は、前記余力電流値に対して前記電動車両の充電に必要な電流である充電電流値が小さい場合に充電を行い、当該余力電流値に対して当該充電電流値が大きい場合に充電を行わないことを特徴とする請求項3に記載の電動車両充電機器である。
請求項5に記載の発明は、前記出力部は、前記電動車両の充電に関する情報を、ネットワークを介して外部サーバに出力することを特徴とする請求項1に記載の電動車両充電機器である。
請求項6に記載の発明は、前記電動車両の充電に関する情報は、前記電動車両の充電時間、充電電力および充電時間、および充電電力量の少なくとも何れか一つであることを特徴とする請求項1または請求項5に記載の電動車両充電機器である。
【発明の効果】
【0006】
本発明は、家庭用の電源を利用して電動車両の充電を行う際の、利用者の利便性を向上させることができる。
【図面の簡単な説明】
【0007】
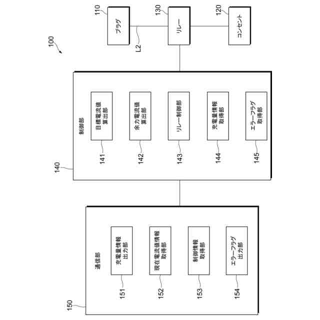
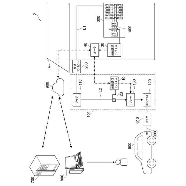
本実施の形態における充電量把握システムの全体構成例を示す図である。
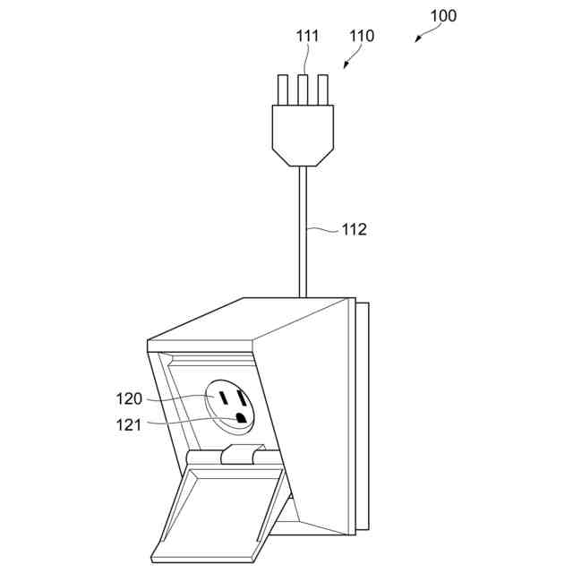
本実施の形態における充電機器の外部構造を説明する図である。
本実施の形態における充電機器の機能構成を説明する図である。
本実施の形態における制御部の制御処理の具体例を説明する図である。
本実施の形態における制御部の制御処理のフローチャートである。
充電量把握システムの変形例を説明する図である。
【発明を実施するための形態】
【0008】
以下、添付図面を参照して、本発明の実施の形態について詳細に説明する。
一般に、電動車両を社用車として使用している会社では、例えば、従業員に電動車両を貸与し、従業員が会社に出社せず自宅から直接、電動車両を用いて目的地に向かい、業務が終わると会社へ戻らずそのまま電動車両を用いて自宅に帰る勤務形態がありえる。このとき、従業員宅に電動車両の充電設備がない場合、従業員は勤務時間中に電動車両の充電ステーションに立ち寄り、充電(経路充電)を行う必要があり、業務効率・営業効率が低下する、という問題が生じている。
この問題を解決するために会社として従業員宅に電動車両用の充電設備を設置しようとすると、通常は電気設備工事が発生し、会社側に工事費が発生してしまう。さらに、転勤その他の事由により充電設備が不要となった際にも原状復旧(撤去)工事が発生し、会社側に工事費が発生してしまう。さらに電動車両の充電設備を導入した場合、通常は電動車両の充電電流分だけ電気の契約容量を増加させる必要があり、従業員が電力会社へ支払う電気基本料金が増加してしまう。また、例えば社用車を従業員宅で充電する場合には、従業員宅で用いる他の機器にて消費される電力と社用車の電動車両の充電にて消費される電力とを区別することが要請されるが、そのままでは社用車の電動車両の充電にかかる電気料金だけを計測することはできず、経費立替精算を正確に行うことができない。
これらの課題に対し、本実施の形態では、特別な工事を必要とせずに、電気契約容量の増加も不要で、正確な電動車両の充電料金の精算を可能としている。
【0009】
<充電量把握システムの説明>
図1は、本実施の形態における充電量把握システム1の全体構成例を示す図である。充電量把握システム1は、家庭Aにて用いられ、プラグとコンセントを有し電動車両500を充電するための電動車両充電機器の一例である充電機器100を有する。また、充電量把握システム1は、充電機器100に接続される屋外コンセント200と、分電盤300と、計測器400と、電動車両500と充電機器100とを接続する充電ケーブル600とを有する。さらに、充電量把握システム1は、インターネット等のネットワーク900を介して充電機器100から情報を取得する例えば電力会社の外部サーバ700と、ネットワーク900を介して外部サーバ700と接続される顧客側端末800とを有する。
【0010】
この充電機器100は、例えば、家庭Aに対して電力を提供する電力会社から提供される充電装置である。充電機器100は家庭A内の配線から電気を取るための屋外コンセント200に差し込むプラグ(後述)と、電動車両500を充電するための充電ケーブル600に接続された充電ケーブル側のプラグ(後述)を差し込むコンセント(後述)と、を有する。
(【0011】以降は省略されています)
この特許をJ-PlatPat(特許庁公式サイト)で参照する
関連特許
東京瓦斯株式会社
電力システム
26日前
東京瓦斯株式会社
データ管理装置
4日前
東京瓦斯株式会社
水電解システム
13日前
東京瓦斯株式会社
電動車両充電機器
3日前
東京瓦斯株式会社
充電量把握システム
3日前
東京瓦斯株式会社
情報処理装置、及びプログラム
2日前
株式会社LIXIL
可燃性ガス回収装置
2日前
東京瓦斯株式会社
商品提示システム、及び商品提示プログラム
2日前
東京瓦斯株式会社
炭素削減手段提案システムおよび炭素削減手段提案方法
27日前
東京瓦斯株式会社
電気ヒータのスケール検知方法、電気ヒータのスケール検知装置、及び、電気ボイラ
1か月前
東京瓦斯株式会社
電力需給管理システム、蓄電池システムの制御方法、蓄電池システム、および外部システム
2日前
東京瓦斯株式会社
二酸化炭素還元電極用カソードガス拡散層、二酸化炭素還元電極、及び、二酸化炭素電解セル
16日前
個人
電源装置
17日前
個人
バッテリ内蔵直流電源
16日前
株式会社FUJI
制御盤
6日前
オムロン株式会社
電源回路
10日前
オムロン株式会社
電源回路
10日前
オムロン株式会社
電源回路
10日前
トヨタ自動車株式会社
回転子
2日前
日産自動車株式会社
電子機器
27日前
トヨタ自動車株式会社
回転子
17日前
ニデック株式会社
モータの制御方法
24日前
ミサワホーム株式会社
居住設備
6日前
東京応化工業株式会社
発電装置
10日前
井関農機株式会社
充電システム
27日前
トヨタ自動車株式会社
溶接装置
1か月前
大豊工業株式会社
モータ
16日前
株式会社リコー
拡張アンテナ装置
9日前
ニチコン株式会社
AC入力検出回路
2日前
日産自動車株式会社
ステータ
3日前
トヨタ自動車株式会社
ロータ
4日前
富士電子工業株式会社
電力変換装置
18日前
ユタカ電業株式会社
ケーブルダクト
6日前
株式会社大林組
可搬式充電設備
3日前
株式会社デンソー
電力変換装置
2日前
NTN株式会社
モータユニット
6日前
続きを見る
他の特許を見る