TOP
|
特許
|
意匠
|
商標
特許ウォッチ
Twitter
他の特許を見る
公開番号
2025144012
公報種別
公開特許公報(A)
公開日
2025-10-02
出願番号
2024043565
出願日
2024-03-19
発明の名称
減圧脱泡装置及びガラス製造装置
出願人
日本電気硝子株式会社
代理人
個人
,
個人
,
個人
主分類
C03B
5/225 20060101AFI20250925BHJP(ガラス;鉱物またはスラグウール)
要約
【課題】減圧脱泡槽を溶融ガラスと反応しない密閉構造にする。
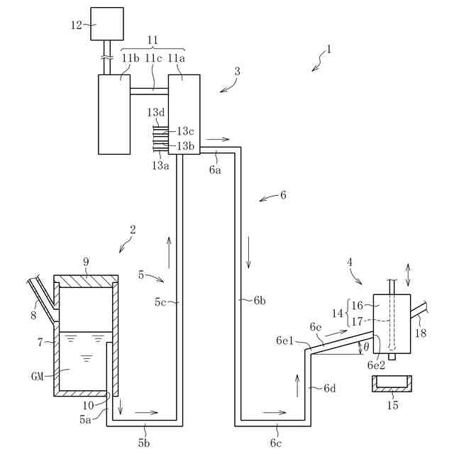
【解決手段】減圧脱泡装置3は、溶融ガラスGMを上方に移動させる上昇管5cと、溶融ガラスGMの脱泡処理を行う減圧脱泡槽11aと、減圧脱泡槽11aによって脱泡処理された溶融ガラスGMを下方に移動させる下降管6bと、を備える。減圧脱泡槽11aは、石英ガラスで構成されている。
【選択図】図1
特許請求の範囲
【請求項1】
溶融ガラスを上方に移動させる上昇管と、前記溶融ガラスの脱泡処理を行う減圧脱泡槽と、前記減圧脱泡槽によって脱泡処理された前記溶融ガラスを下方に移動させる下降管と、を備える減圧脱泡装置であって、
前記減圧脱泡槽は、石英ガラスで構成されている、
ことを特徴とする減圧脱泡装置。
続きを表示(約 1,000 文字)
【請求項2】
前記上昇管及び前記下降管は、石英ガラスで構成されている、
ことを特徴とする請求項1に記載の減圧脱泡装置。
【請求項3】
前記減圧脱泡槽は、上下方向に長尺な筒形状を有しており、
前記上昇管は、前記減圧脱泡槽に接続されており、
前記下降管は、水平管を介して前記減圧脱泡槽に接続されている、
ことを特徴とする請求項1に記載の減圧脱泡装置。
【請求項4】
前記減圧脱泡槽に接続されるクッション槽と、前記クッション槽に接続されるとともに前記減圧脱泡槽を減圧する減圧装置と、を備える、
ことを特徴とする請求項3に記載の減圧脱泡装置。
【請求項5】
前記減圧脱泡槽は、複数の温度計を備え、
前記複数の温度計は、上下方向に間隔をおいて配置されている、
ことを特徴とする請求項3に記載の減圧脱泡装置。
【請求項6】
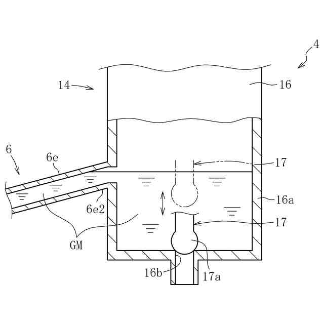
ガラス原料を溶融させて溶融ガラスを生成する溶融槽と、前記溶融槽で生成した前記溶融ガラスの脱泡処理を行う請求項1から5のいずれか一項に記載された減圧脱泡装置と、前記減圧脱泡槽によって脱泡処理された前記溶融ガラスを成形する成形装置と、を備えるガラス製造装置であって、
前記成形装置は、前記減圧脱泡槽によって脱泡処理された前記溶融ガラスを一時的に貯留する成形槽を備え、
前記溶融槽及び前記成形槽は、石英ガラスで構成されている、
ことを特徴とするガラス製造装置。
【請求項7】
前記溶融槽と前記上昇管とを接続する上流側接続管と、前記下降管と前記成形槽とを接続する下流側接続管と、を備え、
前記上流側接続管及び前記下流側接続管は、石英ガラスで構成されており、
前記溶融槽、前記上流側接続管、前記減圧脱泡槽、前記下流側接続管、及び、前記成形槽は、溶接によって一体化されている、
ことを特徴とする請求項6に記載のガラス製造装置。
【請求項8】
前記溶融槽は、前記ガラス原料を還元雰囲気下で溶融させるように構成され、
前記成形槽は、脱泡処理された前記溶融ガラスを還元雰囲気下で貯留するように構成される、
ことを特徴とする請求項7に記載のガラス製造装置。
【請求項9】
カルコゲナイドガラスの製造用である、
ことを特徴とする請求項8に記載のガラス製造装置。
発明の詳細な説明
【技術分野】
【0001】
本発明は、溶融ガラスの脱泡処理を行う減圧脱泡装置、及びガラス製造装置に関する。
続きを表示(約 1,100 文字)
【背景技術】
【0002】
周知のように、ガラスの製造工程では、溶融炉によってガラス原料を溶融させて溶融ガラスを生成した後に、溶融ガラス内に発生した気泡を除去する脱泡工程(清澄工程)が実施されている。
【0003】
例えば特許文献1は、脱泡工程に使用される減圧脱泡装置を開示している。この減圧脱泡装置は、減圧ハウジングと、減圧脱泡槽と、脱泡処理前の溶融ガラスを減圧脱泡槽に導入する導入手段としての上昇管と、脱泡処理後の溶融ガラスを減圧脱泡槽から導出する導出手段としての下降管と、を備える(同文献の請求項1及び段落0012、0013参照)。
【0004】
減圧脱泡槽は、耐熱性及び溶融ガラスに対する耐食性に優れる白金、白金合金等の金属により構成される中空管である(同文献の段落0014参照)。
【先行技術文献】
【特許文献】
【0005】
国際公開第2011/083736号
【発明の概要】
【発明が解決しようとする課題】
【0006】
例えば、カルコゲナイドガラスのように金属原料からなる溶融ガラスを生成する場合には、減圧脱泡槽を金属により構成すると、溶融ガラスと減圧脱泡槽とが反応してしまい、溶融ガラスの品質低下を招くおそれがある。また、減圧状態での脱泡処理を確実に行うことができるように、減圧脱泡槽を密閉しやすい構造にすることが必要となる。
【0007】
本発明は上記の事情に鑑みてなされたものであり、減圧脱泡槽を溶融ガラスと反応しない密閉構造にすることを技術的課題とする。
【課題を解決するための手段】
【0008】
(1) 本発明は上記の課題を解決するためのものであり、溶融ガラスを上方に移動させる上昇管と、前記溶融ガラスの脱泡処理を行う減圧脱泡槽と、前記減圧脱泡槽によって脱泡処理された前記溶融ガラスを下方に移動させる下降管と、を備える減圧脱泡装置であって、前記減圧脱泡槽は、石英ガラスで構成されている、ことを特徴とする。
【0009】
かかる構成によれば、減圧脱泡槽を石英ガラスで構成することで、減圧脱泡槽に流入した溶融ガラスと減圧脱泡槽とが反応することを防止できる。石英ガラスは、溶接等の手段により容易に接合できるため、減圧脱泡槽を密閉構造にすることが可能である。
【0010】
(2) 上記(1)の構成を備える減圧脱泡装置において、前記上昇管及び前記下降管は、石英ガラスで構成されていてもよい。
(【0011】以降は省略されています)
この特許をJ-PlatPat(特許庁公式サイト)で参照する
関連特許
日本電気硝子株式会社
ガラス製造装置
1日前
日本電気硝子株式会社
光アイソレータ
4日前
日本電気硝子株式会社
光学部材の製造方法
今日
日本電気硝子株式会社
減圧脱泡装置及びガラス製造装置
1日前
古野電気株式会社
電磁波整合装置、電磁波通過装置、及び壁
7日前
日本電気硝子株式会社
ガラス材
4か月前
個人
ガラス製品の製造方法
3か月前
株式会社フジクラ
シール装置
4か月前
日本電気硝子株式会社
ガラスの製造方法
3か月前
日本電気硝子株式会社
ガラス繊維用組成物
4か月前
日本電気硝子株式会社
ガラス繊維用組成物
3か月前
日本板硝子株式会社
自動車用窓ガラス
5か月前
株式会社オハラ
光学ガラス
4か月前
日東電工株式会社
ガラス樹脂複合体
5か月前
AGC株式会社
ガラス板の製造方法
5か月前
信越化学工業株式会社
ガラス母材の延伸方法
2か月前
AGC株式会社
車両用窓ガラスとその製造方法
1日前
日本電気硝子株式会社
ガラスの製造方法
1か月前
日本電気硝子株式会社
フィーダー
4か月前
AGC株式会社
感光性ガラス
22日前
AGC株式会社
複層ガラス、高地対応複層ガラス
15日前
AGC株式会社
ガラスペースト
4か月前
信越化学工業株式会社
光ファイバ母材の製造方法
2か月前
日本電気硝子株式会社
ガラス製造装置
1日前
日本板硝子株式会社
ビル用複層ガラス
1か月前
AGC株式会社
合わせガラス
1か月前
AGC株式会社
複層ガラス、及び複層ガラスの製造方法
5か月前
AGC株式会社
複層ガラス、及び複層ガラスの製造方法
5か月前
白金科技股分有限公司
微小球およびその調製方法
2か月前
日本電気硝子株式会社
ガラス板の製造方法
14日前
信越化学工業株式会社
石英ガラス棒およびその製造方法
7日前
日本板硝子株式会社
車両用合わせガラス体
2か月前
株式会社オハラ
光学ガラスおよび光学素子
4か月前
AGC株式会社
成形装置、及び成形方法
2か月前
日本板硝子株式会社
車両用調光合わせガラス
2か月前
日本電気硝子株式会社
ガラス物品の製造方法
28日前
続きを見る
他の特許を見る