TOP
|
特許
|
意匠
|
商標
特許ウォッチ
Twitter
他の特許を見る
10個以上の画像は省略されています。
公開番号
2025144124
公報種別
公開特許公報(A)
公開日
2025-10-02
出願番号
2024043746
出願日
2024-03-19
発明の名称
液体吐出ヘッド及び液体を吐出する装置
出願人
株式会社リコー
代理人
個人
主分類
B41J
2/14 20060101AFI20250925BHJP(印刷;線画機;タイプライター;スタンプ)
要約
【課題】所望の吐出特性を得ることができる液体吐出ヘッド及び液体を吐出する装置を提供する。
【解決手段】液体吐出ヘッドは、ノズル2を有するノズル層たるノズル板110と、ノズル2に連通する圧力室4を有する圧力室層たる圧力室基板100とを有する。また、圧力室4に連通する第一流体抵抗部たる供給流体抵抗部3aおよび圧力室4に連通する第二流体抵抗部たる排出流体抵抗部3bを有する流体抵抗層120と、供給流体抵抗部3aに連通する第一流路たる供給流路3a、排出流体抵抗部に3b連通する第二流路たる排出流路3b、および、供給流路3aと排出流路3bとを仕切る仕切り壁たる流路隔壁130aを有する流路層120bとを有する流体抵抗基板120を備えている。そして、液体吐出方向(Z方向)から見たとき、各流体抵抗部は、圧力室4の各流路に重なる領域の長手方向に長い形状である。
【選択図】図7
特許請求の範囲
【請求項1】
ノズルを有するノズル層と、
前記ノズルに連通する圧力室を有する圧力室層と、
前記圧力室に連通する第一流体抵抗部および前記圧力室に連通する第二流体抵抗部を有する流体抵抗層と、
前記第一流体抵抗部に連通する第一流路、前記第二流体抵抗部に連通する第二流路、および、前記第一流路と前記第二流路とを仕切る仕切り壁を有する流路層とを備えた液体吐出ヘッドにおいて、
液体吐出方向から見たとき、前記第一流体抵抗部は、前記圧力室の第一流路に重なる領域の長手方向に長い形状とし、前記第二流体抵抗部は、前記圧力室の第二流路に重なる領域の長手方向に長い形状としたことを特徴とする液体吐出ヘッド。
続きを表示(約 1,300 文字)
【請求項2】
請求項1に記載の液体吐出ヘッドにおいて、
前記圧力室は、前記液体吐出方向から見たとき、丸穴の前記ノズルと同心円状の円形形状であり、
前記液体吐出方向から見たとき、前記第一流体抵抗部および前記第二流体抵抗部は、前記仕切り壁の延設方向に長い形状としたことを特徴とする液体吐出ヘッド。
【請求項3】
請求項1に記載の液体吐出ヘッドにおいて、
前記第一流体抵抗部および前記第二流体抵抗部は、一つの圧力室に対してひとつ設けられていることを特徴とする液体吐出ヘッド。
【請求項4】
ノズルを有するノズル層と、
前記ノズルに連通する圧力室を有する圧力室層と、
前記圧力室に連通する第一流体抵抗部および前記圧力室に連通する第二流体抵抗部を有する流体抵抗層と、
前記第一流体抵抗部に連通する第一流路、前記第二流体抵抗部に連通する第二流路および前記第一流路と前記第二流路を仕切る仕切り壁を有する流路層とを備えた液体吐出ヘッドにおいて、
液体吐出方向から見たとき、前記圧力室の前記第一流路に重なる領域の長手方向に前記第一流体抵抗部を複数設け、前記圧力室の前記第二流路に重なる領域の長手方向に前記第二流体抵抗部を複数設けたことを特徴とする液体吐出ヘッド。
【請求項5】
請求項4に記載の液体吐出ヘッドにおいて、
前記圧力室は、前記ノズルからの液体の吐出方向から見たとき、丸穴の前記ノズルと同心円状の円形形状であり、
前記仕切り壁の延設方向に前記第一流体抵抗部および前記第二流体抵抗部を、複数設けたことを特徴とする液体吐出ヘッド。
【請求項6】
請求項4に記載の液体吐出ヘッドにおいて、
複数の前記第一流体抵抗部の分布領域が、前記圧力室の前記第一流路に重なる領域の長手方向に長く、複数の前記第二流体抵抗部の分布領域が、前記圧力室の前記第二流路に重なる領域の長手方向に長いことを特徴とする液体吐出ヘッド。
【請求項7】
請求項1または4に記載の液体吐出ヘッドにおいて、
前記第一流路および前記第二流路の前記流体抵抗層側と反対側には、ダンパ部材が設けられていることを特徴とする液体吐出ヘッド。
【請求項8】
請求項1または4に記載の液体吐出ヘッドにおいて、
前記第一流路に連通する第一共通液室と、前記第二流路に連通する第二共通液室とを有し、各共通液室を構成する壁の一部が、ダンパ部材で構成されていることを特徴とする液体吐出ヘッド。
【請求項9】
請求項1または4に記載の液体吐出ヘッドにおいて、
前記液体吐出方向から見たとき、前記仕切り壁の前記第一流体抵抗部および前記第二流体抵抗部に対向する部分にくぼみを設けたことを特徴とする液体吐出ヘッド。
【請求項10】
請求項1または4に記載の液体吐出ヘッドにおいて、
前記ノズル層に圧電体が設けられていることを特徴とする液体吐出ヘッド。
(【請求項11】以降は省略されています)
発明の詳細な説明
【技術分野】
【0001】
本発明は、液体吐出ヘッド及び液体を吐出する装置に関するものである。
続きを表示(約 2,300 文字)
【背景技術】
【0002】
従来、ノズルを有するノズル層と、ノズルに連通する圧力室を有する圧力室層と、圧力室に連通する第一流体抵抗部および圧力室に連通する第二流体抵抗部を有する流体抵抗層と、第一流体抵抗部に連通する第一流路、第二流体抵抗部に連通する第二流路、および、第一流路と第二流路とを仕切る仕切り壁を有する流路層とを備えた液体吐出ヘッドが知られている。
【0003】
特許文献1には、上記液体吐出ヘッドとして、圧力室が液体吐出方向から見たとき、円形状であり、仕切り壁が円形状の圧力室の中心を通るように延設され、第一流体抵抗部および第二流体抵抗部が丸穴状のものが記載されている。
【発明の概要】
【発明が解決しようとする課題】
【0004】
しかしながら、所望の吐出特性が得られないおそれがあった。
【課題を解決するための手段】
【0005】
上述した課題を解決するために、本発明は、ノズルを有するノズル層と、前記ノズルに連通する圧力室を有する圧力室層と、前記圧力室に連通する第一流体抵抗部および前記圧力室に連通する第二流体抵抗部を有する流体抵抗層と、前記第一流体抵抗部に連通する第一流路、前記第二流体抵抗部に連通する第二流路、および、前記第一流路と前記第二流路とを仕切る仕切り壁を有する流路層とを備えた液体吐出ヘッドにおいて、液体吐出方向から見たとき、前記第一流体抵抗部は、前記圧力室の第一流路に重なる領域の長手方向に長い形状とし、前記第二流体抵抗部は、前記圧力室の第二流路に重なる領域の長手方向に長い形状としたことを特徴とするものである。
【発明の効果】
【0006】
本発明によれば、所望の吐出特性を得ることができる。
【図面の簡単な説明】
【0007】
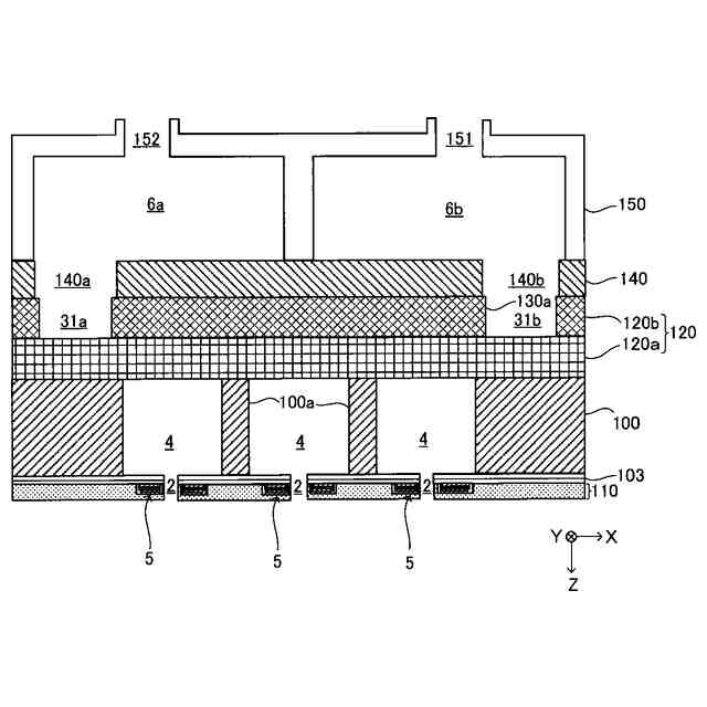
本実施形態におけるノズル板振動方式の液体吐出ヘッドを模式的に示す断面図。
図1のA-A′断面図。
図1のB-B′断面図。
図2のD-D′断面図。
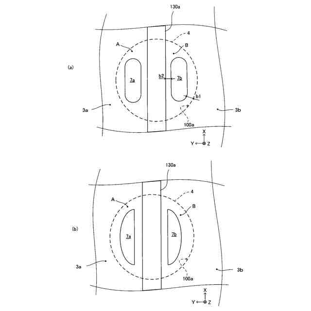
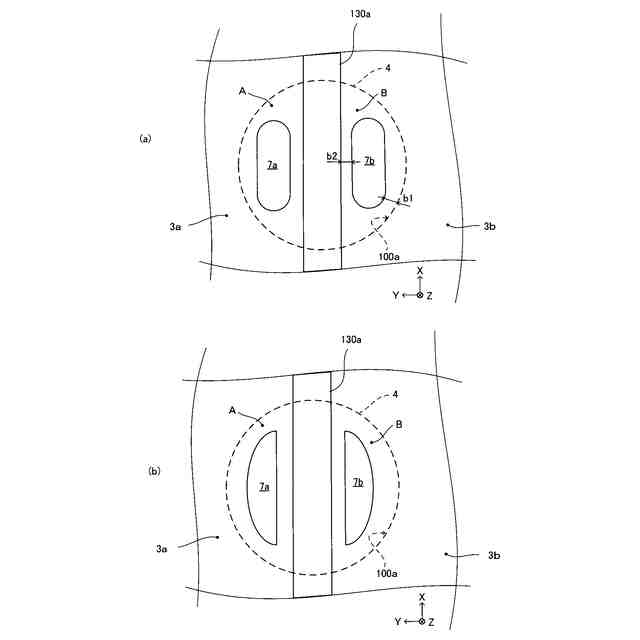
従来の各流体抵抗部を示す図。
従来における圧力室基板に対して流体抵抗基板が位置ズレして接合された場合の断面図。
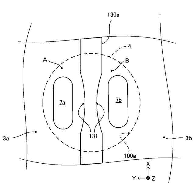
本実施形態の各流体抵抗部を示す模式図。
変形例1の各流体抵抗部の周辺を示す模式図。
変形例2の各流体抵抗部の周辺を示す模式図。
変形例3の液体吐出ヘッドを模式的に示す断面図。
変形例4の液体吐出ヘッドを模式的に示す断面図。
変形例4の液体吐出ヘッドにおける、図2に示すD-D′線と同一の位置の断面図である。
各流路と各共通液室とにダンパ部材を設けた例の液体吐出ヘッドを模式的に示す断面図。
実施形態における印刷装置の概略説明図。
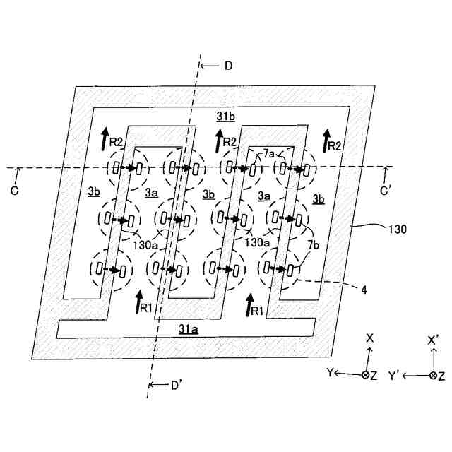
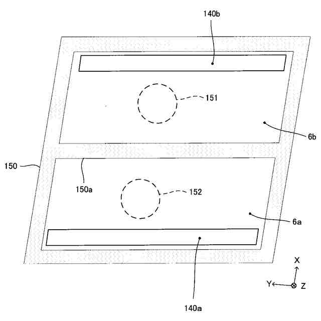
同印刷装置のヘッドユニットの一例の平面説明図。
他の印刷装置の要部平面説明図。
本例の印刷装置の要部側面説明図。
本例の液体吐出ユニットの要部平面説明図。
本例の液体吐出ユニットの正面説明図。
【発明を実施するための形態】
【0008】
以下に、本発明を実施するための最良の形態を図面に基づいて説明する。なお、いわゆる当業者は特許請求の範囲内における本発明を変更・修正をして他の実施形態をなすことは容易であり、これらの変更・修正はこの特許請求の範囲に含まれるものである。以下の説明はこの発明における最良の形態の例であって、この特許請求の範囲を限定するものではない。
【0009】
本実施形態における液体吐出ヘッドは、ノズルを有するノズル板に設けられるアクチュエータにより圧力室の圧力を変動させることにより圧力室内の液体をノズルから吐出するノズル板振動方式の液体吐出ヘッドである。ノズル板振動方式は、一般的なユニモルフ型ピエゾヘッド(圧力室のノズルに連通する連通口を有する壁部(ノズル形成壁)に対向する面を振動させて液体を吐出するもの)に比べて小さい力で液滴が飛ばせるという特徴があり、アクチュエータの省電力化を図ることができる。
【0010】
ノズル密度を高くすると電圧印加のための配線をレイアウトするスペースが限られ、基板表面での配線構築が困難となる。基板内に配線や駆動回路を構築することで、ノズル密度が高い構成でも、配線をレイアウトすることができる。一般に、アクチュエータとして用いられる圧電素子の材料として、圧電特性の高さから、ジルコン酸チタン酸鉛(PZT)が広く利用されている。ただし、配線や駆動回路が構築された基板上に圧電膜を成膜する場合、PZTの成膜・結晶化温度は600℃以上を要することから、圧電素子の材料としてPZTを用いると、基板内の駆動回路とその配線が高温に耐えられなくなる。そのため、基板内に配線や駆動回路を構築する構成では、圧電材料としては、PZTよりも成膜温度の低い圧電材料が求められ、PZTに比べ圧電特性の低い材料を選択することを余儀なくされる。しかしながら、上述したノズル板振動方式は、一般的なユニモルフ型ピエゾヘッドに比べ小さい力で液滴が飛ばせるという特徴があるため、PZTに比べ圧電特性の低い材料を選択しても、良好に液体を吐出することが可能である。よって、非鉛材料など成膜・結晶化温度は低いがパワーの小さい圧電材料でも良好に液体を吐出することができる。これにより、基板内に配線や駆動回路を構築することができ、高密度化が可能となる。さらに、ノズル板振動方式は、圧力室の容積を小さくできることから、ヘッドの小型化も可能となる。
(【0011】以降は省略されています)
この特許をJ-PlatPat(特許庁公式サイト)で参照する
関連特許
株式会社リコー
移動体
今日
株式会社リコー
画像形成装置
9日前
株式会社リコー
画像形成装置
9日前
株式会社リコー
画像形成装置
20日前
株式会社リコー
感熱記録媒体
6日前
株式会社リコー
画像形成装置
9日前
株式会社リコー
液体塗布装置
13日前
株式会社リコー
画像形成装置
5日前
株式会社リコー
印刷システム
9日前
株式会社リコー
画像形成装置
27日前
株式会社リコー
画像形成装置
12日前
株式会社リコー
画像形成装置
28日前
株式会社リコー
画像投射システム
20日前
株式会社リコー
投薬管理システム
28日前
株式会社リコー
生体情報測定装置
6日前
株式会社リコー
印刷応答補償機構
13日前
株式会社リコー
拡張アンテナ装置
12日前
株式会社リコー
画像形成システム
5日前
株式会社リコー
液体を吐出する装置
6日前
株式会社リコー
マーキングシステム
12日前
株式会社リコー
電極及びその製造方法
7日前
株式会社リコー
電極及びその製造方法
9日前
株式会社リコー
多孔質構造体の製造方法
9日前
株式会社リコー
定着装置及び画像形成装置
13日前
株式会社リコー
定着装置及び画像形成装置
19日前
株式会社リコー
パルスバルブおよび塗布装置
9日前
株式会社リコー
印刷装置および印刷システム
5日前
株式会社リコー
液吐出装置、及び液吐出方法
13日前
株式会社リコー
樹脂粒子およびその製造方法
28日前
株式会社リコー
塗装システム、及び塗装方法
9日前
株式会社リコー
センサ素子及びセンサアレイ
19日前
株式会社リコー
ファイル分析・保存システム
9日前
株式会社リコー
液体塗布装置および洗浄方法
9日前
株式会社リコー
センサ素子及びセンサアレイ
19日前
株式会社リコー
印刷ファイル前処理メカニズム
27日前
株式会社リコー
導光部材、光学系及び表示装置
21日前
続きを見る
他の特許を見る