TOP
|
特許
|
意匠
|
商標
特許ウォッチ
Twitter
他の特許を見る
公開番号
2025144125
公報種別
公開特許公報(A)
公開日
2025-10-02
出願番号
2024043747
出願日
2024-03-19
発明の名称
磁気記憶装置
出願人
キオクシア株式会社
代理人
弁理士法人スズエ国際特許事務所
主分類
H10N
50/80 20230101AFI20250925BHJP()
要約
【課題】 優れた特性を有する磁気抵抗効果素子を含む磁気記憶装置を提供する。
【解決手段】 実施形態に係る磁気記憶装置は、可変の磁化方向を有する第1の磁性層10と、固定された磁化方向を有する第2の磁性層20と、第2の磁性層の磁化方向に対して反平行の固定された磁化方向を有する第3の磁性層30と、非磁性層40と、スペーサ層50とを備え、第2の磁性層は、スペーサ層に近接する第1の近接層21を含み、第3の磁性層は、スペーサ層に近接する第2の近接層31を含み、第1の近接層は、コバルト(Co)で実質的に形成された第1の層部分21aと、窒素(N)を含有する第2の層部分21bとを含み、第1の層部分は、スペーサ層と第2の層部分との間に設けられ、スペーサ層及び第2の層部分に接し、第2の近接層は、コバルト(Co)で実質的に形成され、スペーサ層に接する第1の層部分31を含む。
【選択図】図1
特許請求の範囲
【請求項1】
可変の磁化方向を有する第1の磁性層と、
固定された磁化方向を有する第2の磁性層と、
前記第2の磁性層の磁化方向に対して反平行の固定された磁化方向を有する第3の磁性層と、
非磁性層と、
スペーサ層と、
を備える磁気記憶装置であって、
前記第1の磁性層と前記第3の磁性層との間に前記第2の磁性層が設けられ、
前記第1の磁性層と前記第2の磁性層との間に前記非磁性層が設けられ、
前記第2の磁性層と前記第3の磁性層との間に前記スペーサ層が設けられ、
前記第2の磁性層は、前記スペーサ層に近接する第1の近接層を含み、
前記第3の磁性層は、前記スペーサ層に近接する第2の近接層を含み、
前記第1の近接層は、コバルト(Co)で実質的に形成された第1の層部分と、窒素(N)を含有する第2の層部分とを含み、
前記第1の層部分は、前記スペーサ層と前記第2の層部分との間に設けられ、前記スペーサ層及び前記第2の層部分に接し、
前記第2の近接層は、コバルト(Co)で実質的に形成され、前記スペーサ層に接する第1の層部分を含む
ことを特徴とする磁気記憶装置。
続きを表示(約 1,500 文字)
【請求項2】
前記第1の近接層の前記第2の層部分は、コバルト(Co)をさらに含有する
ことを特徴とする請求項1に記載の磁気記憶装置。
【請求項3】
前記第1の近接層は、コバルト(Co)で実質的に形成された第3の層部分をさらに含み、
前記第1の近接層の前記第2の層部分は、前記第1の近接層の前記第1の層部分と前記第1の近接層の前記第3の層部分との間に設けられ、前記第1の近接層の前記第3の層部分に接している
ことを特徴とする請求項1に記載の磁気記憶装置。
【請求項4】
前記第2の近接層は、窒素(N)を含有する第2の層部分をさらに含み、
前記第2の近接層の前記第1の層部分は、前記スペーサ層と前記第2の近接層の前記第2の層部分との間に設けられ、前記第2の近接層の前記第2の層部分に接している
ことを特徴とする請求項1に記載の磁気記憶装置。
【請求項5】
可変の磁化方向を有する第1の磁性層と、
固定された磁化方向を有する第2の磁性層と、
前記第2の磁性層の磁化方向に対して反平行の固定された磁化方向を有する第3の磁性層と、
非磁性層と、
スペーサ層と、
を備える磁気記憶装置であって、
前記第1の磁性層と前記第3の磁性層との間に前記第2の磁性層が設けられ、
前記第1の磁性層と前記第2の磁性層との間に前記非磁性層が設けられ、
前記第2の磁性層と前記第3の磁性層との間に前記スペーサ層が設けられ、
前記第2の磁性層は、前記スペーサ層に近接する第1の近接層を含み、
前記第3の磁性層は、前記スペーサ層に近接する第2の近接層を含み、
前記第2の近接層は、コバルト(Co)で実質的に形成された第1の層部分と、窒素(N)を含有する第2の層部分とを含み、
前記第1の層部分は、前記スペーサ層と前記第2の層部分との間に設けられ、前記スペーサ層及び前記第2の層部分に接し、
前記第1の近接層は、コバルト(Co)で実質的に形成され、前記スペーサ層に接する第1の層部分を含む
ことを特徴とする磁気記憶装置。
【請求項6】
前記第2の近接層の前記第2の層部分は、コバルト(Co)をさらに含有する
ことを特徴とする請求項5に記載の磁気記憶装置。
【請求項7】
前記第2の近接層は、コバルト(Co)で実質的に形成された第3の層部分をさらに含み、
前記第2の近接層の前記第2の層部分は、前記第2の近接層の前記第1の層部分と前記第2の近接層の前記第3の層部分との間に設けられ、前記第2の近接層の前記第3の層部分に接している
ことを特徴とする請求項5に記載の磁気記憶装置。
【請求項8】
前記第2の磁性層は、前記非磁性層と前記第1の近接層との間に設けられ追加の層をさらに含む
ことを特徴とする請求項1又は5に記載の磁気記憶装置。
【請求項9】
前記追加の層は、鉄(Fe)を含有する層を含む
ことを特徴とする請求項8に記載の磁気記憶装置。
【請求項10】
前記追加の層は、モリブデン(Mo)、タンタル(Ta)又はタングステン(W)を含有し且つ前記第1の近接層と前記鉄を含有する層との間に設けられた層をさらに含む
ことを特徴とする請求項9に記載の磁気記憶装置。
(【請求項11】以降は省略されています)
発明の詳細な説明
【技術分野】
【0001】
本発明の実施形態は、磁気記憶装置に関する。
続きを表示(約 1,400 文字)
【背景技術】
【0002】
半導体基板上に複数の磁気抵抗効果素子が集積化された磁気記憶装置が提案されている。
【先行技術文献】
【特許文献】
【0003】
米国特許出願公開第2020/0082857号明細書
【発明の概要】
【発明が解決しようとする課題】
【0004】
優れた特性を有する磁気抵抗効果素子を含む磁気記憶装置を提供する。
【課題を解決するための手段】
【0005】
実施形態に係る磁気記憶装置は、可変の磁化方向を有する第1の磁性層と、固定された磁化方向を有する第2の磁性層と、前記第2の磁性層の磁化方向に対して反平行の固定された磁化方向を有する第3の磁性層と、非磁性層と、スペーサ層と、を備える磁気記憶装置であって、前記第1の磁性層と前記第3の磁性層との間に前記第2の磁性層が設けられ、前記第1の磁性層と前記第2の磁性層との間に前記非磁性層が設けられ、前記第2の磁性層と前記第3の磁性層との間に前記スペーサ層が設けられ、前記第2の磁性層は、前記スペーサ層に近接する第1の近接層を含み、前記第3の磁性層は、前記スペーサ層に近接する第2の近接層を含み、前記第1の近接層は、コバルト(Co)で実質的に形成された第1の層部分と、窒素(N)を含有する第2の層部分とを含み、前記第1の層部分は、前記スペーサ層と前記第2の層部分との間に設けられ、前記スペーサ層及び前記第2の層部分に接し、前記第2の近接層は、コバルト(Co)で実質的に形成され、前記スペーサ層に接する第1の層部分を含む。
【図面の簡単な説明】
【0006】
第1の実施形態に係る磁気記憶装置の基本的な構成を模式的に示した断面図である。
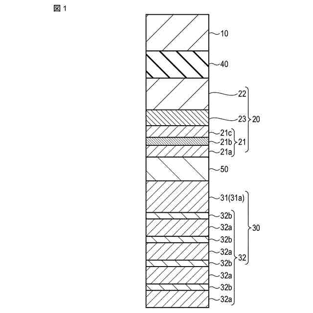
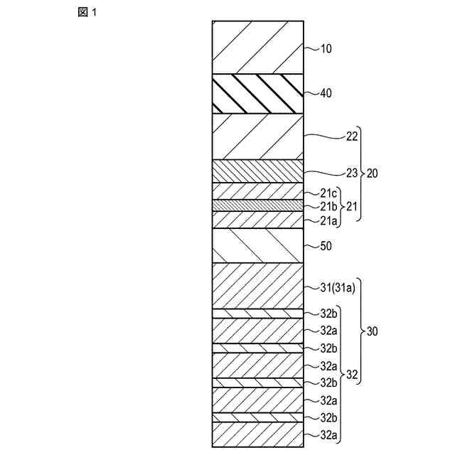
第1の実施形態の変形例に係る磁気記憶装置の基本的な構成を模式的に示した断面図である。
第2の実施形態に係る磁気記憶装置の基本的な構成を模式的に示した断面図である。
第2の実施形態の変形例に係る磁気記憶装置の基本的な構成を模式的に示した断面図である。
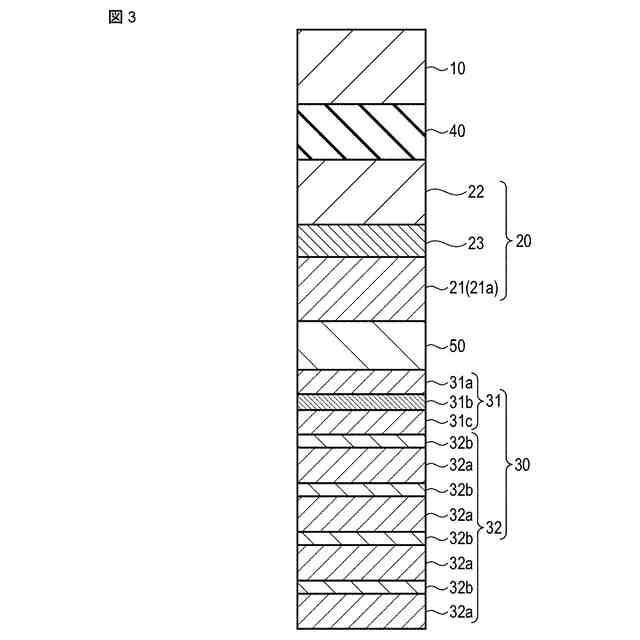
第3の実施形態に係る磁気記憶装置の基本的な構成を模式的に示した断面図である。
【発明を実施するための形態】
【0007】
以下、図面を参照して実施形態を説明する。
【0008】
(第1の実施形態)
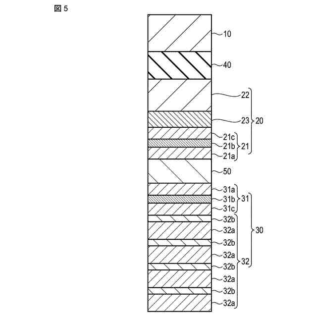
図1は、第1の実施形態に係る磁気記憶装置の基本的な構成を模式的に示した断面図である。具体的には、磁気記憶装置に含まれる磁気抵抗効果素子の基本的な構成を模式的に示した断面図である。磁気抵抗効果素子は、垂直磁化を有するMTJ(Magnetic Tunnel Junction)素子である。
【0009】
図1に示した磁気抵抗効果素子は、記憶層(第1の磁性層)10と、参照層(第2の磁性層)20と、シフトキャンセリング層(第3の磁性層)30と、トンネルバリア層(非磁性層)40と、スペーサ層50とを備えており、これらの層10~50が積層された構造を有している。
【0010】
より具体的には、記憶層10とシフトキャンセリング層30との間に参照層20が設けられ、記憶層10と参照層20の間にトンネルバリア層40が設けられ、参照層20とシフトキャンセリング層30との間にスペーサ層50が設けられている。
(【0011】以降は省略されています)
この特許をJ-PlatPat(特許庁公式サイト)で参照する
関連特許
キオクシア株式会社
メモリシステム
8日前
個人
半導体装置
3日前
東レ株式会社
太陽電池モジュール
3日前
エイブリック株式会社
半導体装置
9日前
富士電機株式会社
半導体装置
1か月前
富士電機株式会社
半導体装置
12日前
ローム株式会社
半導体装置
4日前
富士通株式会社
半導体装置
2日前
AGC株式会社
太陽電池モジュール
15日前
三菱電機株式会社
半導体装置
2日前
日亜化学工業株式会社
発光装置
1日前
キヤノン株式会社
有機発光素子
22日前
日亜化学工業株式会社
発光装置
1か月前
ミツミ電機株式会社
半導体装置
9日前
株式会社半導体エネルギー研究所
半導体装置
1か月前
日亜化学工業株式会社
発光素子
2日前
TDK株式会社
圧電素子
2日前
日亜化学工業株式会社
発光素子
10日前
ローム株式会社
窒化物半導体装置
1か月前
デクセリアルズ株式会社
受光装置
8日前
サンケン電気株式会社
半導体装置
8日前
ローム株式会社
半導体装置
10日前
住友電気工業株式会社
半導体装置
22日前
住友電気工業株式会社
半導体装置
22日前
TDK株式会社
光検知装置
9日前
株式会社東芝
熱電変換装置
10日前
ローム株式会社
窒化物半導体装置
1か月前
ローム株式会社
TVSダイオード
10日前
ローム株式会社
TVSダイオード
10日前
個人
半導体装置
1か月前
三菱電機株式会社
半導体装置
16日前
内山工業株式会社
太陽電池
8日前
沖電気工業株式会社
発光装置及び表示装置
3日前
株式会社カネカ
太陽光発電システム
1か月前
キオクシア株式会社
記憶装置
8日前
日亜化学工業株式会社
発光素子
1か月前
続きを見る
他の特許を見る