TOP
|
特許
|
意匠
|
商標
特許ウォッチ
Twitter
他の特許を見る
公開番号
2025144287
公報種別
公開特許公報(A)
公開日
2025-10-02
出願番号
2024043994
出願日
2024-03-19
発明の名称
作業環境監視システム及び作業環境監視システムの監視方法
出願人
大成建設株式会社
代理人
弁理士法人磯野国際特許商標事務所
主分類
E21F
1/00 20060101AFI20250925BHJP(地中もしくは岩石の削孔;採鉱)
要約
【課題】作業環境に関する注意喚起を作業者に迅速に提示できるとともに、作業環境の快適さを評価することで作業環境改善を効果的に図る。
【解決手段】作業環境監視システムは、作業者Hの後方を撮影するカメラ15で撮影した映像を表示可能なディスプレイ装置を備えたヘルメット10と、作業着20と、ヘルメット10及び/または作業着20に備わり、作業者Hの作業環境に関するデータを取得し、ディスプレイ装置の表示制御を実行する管理装置14と、管理装置14と通信可能な外部制御装置80と、を備えている。外部制御装置80は、作業環境に関するデータに基づいて危険因子の発生を検知可能であり、危険因子の発生を検知した場合に、管理装置14を通じてディスプレイ装置に警報情報を表示させる。
【選択図】図2
特許請求の範囲
【請求項1】
作業者の後方を撮影するカメラと、前記カメラで撮影した映像を表示可能なディスプレイ装置とを備えたヘルメットと、
作業者が着用する作業着と、
前記ヘルメット及び/または前記作業着に備わり、作業者の作業環境に関するデータを取得するとともに、前記ディスプレイ装置の表示制御を実行する管理装置と、
前記管理装置と通信可能な外部制御装置と、を備え、
前記外部制御装置は、前記管理装置に取得された作業者の作業環境に関するデータに基づいて危険因子の発生を検知可能であり、前記危険因子の発生を検知した場合に、前記管理装置を通じて前記ディスプレイ装置に警報情報を表示させることを特徴とする作業環境監視システム。
続きを表示(約 1,400 文字)
【請求項2】
前記ヘルメット及び/または前記作業着は、作業者のバイタルに関するデータを取得するセンサをさらに備えていることを特徴とする請求項1に記載の作業環境監視システム。
【請求項3】
トンネル坑内の換気を実行する換気設備を備え、
前記外部制御装置は、作業者の作業環境に関するデータと前記センサによる計測値との少なくとも一方に基づいて危険因子の発生を検知可能であり、当該危険因子の発生を検知した場合に、前記換気設備を作動させて換気量及び/または風向を調節することを特徴とする請求項2に記載の作業環境監視システム。
【請求項4】
トンネル坑内の照明の照度を調節可能な照明設備を備え、
前記外部制御装置は、作業者の作業環境に関するデータと前記センサによる計測値との少なくとも一方に基づいて危険因子の発生を検知可能であり、当該危険因子の発生を検知した場合に、前記照明設備の照明の照度及び/または照明の向きを調節することを特徴とする請求項2に記載の作業環境監視システム。
【請求項5】
前記ヘルメットは、光源の出力を調節可能なヘッドライトを備えており、
前記外部制御装置は、作業者の作業環境に関するデータと前記センサによる計測値との少なくとも一方に基づいて危険因子の発生を検知可能であり、当該危険因子の発生を検知した場合に、前記ヘッドライトによる照度が高くなるように前記光源の出力を調節することを特徴とする請求項2に記載の作業環境監視システム。
【請求項6】
前記外部制御装置は、作業者の作業環境に関するデータと前記センサによる計測値との少なくとも一方に基づいて危険因子の発生を検知可能であり、
作業者の作業環境に関するデータ、前記センサによる計測値、及び危険因子の発生に関する情報をそれぞれ蓄積する情報蓄積手段を備え、
前記情報蓄積手段に蓄積された情報は、外部の端末に配信可能であることを特徴とする請求項2に記載の作業環境監視システム。
【請求項7】
作業環境監視システムの監視方法であって、
作業環境監視システムは、作業者の後方を撮影するカメラと、前記カメラで撮影した映像を表示可能なディスプレイ装置とを備えたヘルメットと、作業者が着用する作業着と、前記ヘルメット及び/または前記作業着に備わり、作業者の作業環境に関するデータを取得するとともに、前記ディスプレイ装置の表示制御を実行する管理装置と、前記管理装置と通信可能な外部制御装置と、を備え、
作業者の作業環境に関するデータを取得する取得ステップと、
前記取得ステップにより取得した作業者の作業環境に関するデータを前記ディスプレイ装置に表示する表示ステップと、
前記取得ステップにより取得した作業者の作業環境に関するデータを前記外部制御装置に送出する送出ステップと、
前記送出ステップにより送られてきた作業者の作業環境に関するデータに基づいて危険因子の発生を検知する検知ステップと、
前記検知ステップにおいて危険因子の発生が検知された場合に、前記管理装置を通じて前記ディスプレイ装置に警報情報を表示させる警報情報表示ステップと、を含んでいることを特徴とする作業環境監視システムの監視方法。
発明の詳細な説明
【技術分野】
【0001】
本発明は、作業環境監視システム及び作業環境監視システムの監視方法に関する。
続きを表示(約 2,500 文字)
【背景技術】
【0002】
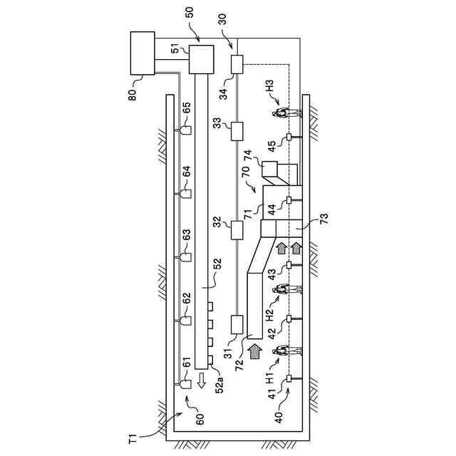
一般的に、トンネルの工事現場では、切羽の粉じん量に合わせて送気ファンや集塵機を作動させてトンネルの坑内の作業環境の改善を行っている。この場合、送気量を増やす方法や送風機の増設といった方法で作業環境の改善に対応している。
一方、トンネル坑内で工事に従事する作業者を保護する技術として特許文献1、2に開示されたものが知られている。特許文献1は、ヘルメットに関するものであり、作業者の後方を撮影するカメラを備え、カメラによって撮影された画像を表示するディスプレイがバイザの内側に設けられている。
特許文献2は、作業用スーツ及びヘルメットに関するものであり、ボディスーツ内の温度を調節する温度調節手段と、作業者の生体情報を計測する生体情報計測手段と、生体情報計測手段の情報、カメラの映像及び作業者の音声を外部に送信すると共に、外部からの指示を作業者に伝える送受信手段とを備えている。
【先行技術文献】
【特許文献】
【0003】
特開2021-119889号公報
特開2018-145537号公報
【発明の概要】
【発明が解決しようとする課題】
【0004】
特許文献1のヘルメットは、ディスプレイを視認することによって後方確認を行うことが可能である。しかしながら、後方からの車両を光の有無で判別できる程度の機能しか有しておらず、また、ディスプレイが視界を遮ったり、顔面に干渉したりする等、使い勝手が悪いという課題があった。
特許文献2の作業用スーツ及びヘルメットは、送受信手段を用いて作業の報告、把握、指示等を伝達できるとともに、健康状況を把握して安全に管理することが可能であるが、健康状況に関する改善対象が不明確であり、作業環境改善を効果的に図ることができないという課題があった。
本発明は、前記した課題を解決し、作業環境に関する注意喚起を作業者に迅速に提示できるとともに、作業環境の快適さを評価することで作業環境改善を効果的に図ることができる作業環境監視システム及び作業環境監視システムの監視方法を提案することを課題とする。
【課題を解決するための手段】
【0005】
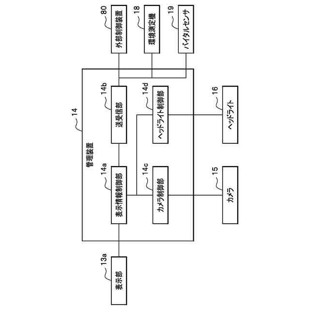
前記課題を解決するための本発明の作業環境監視システムは、作業者の後方を撮影するカメラと、前記カメラで撮影した映像を表示可能なディスプレイ装置とを備えたヘルメットと、作業者が着用する作業着と、前記ヘルメット及び/または前記作業着に備わり、作業者の作業環境に関するデータを取得するとともに、前記ディスプレイ装置の表示制御を実行する管理装置と、前記管理装置と通信可能な外部制御装置と、を備えている。前記外部制御装置は、前記管理装置に取得された作業者の作業環境に関するデータに基づいて危険因子の発生を検知可能であり、前記危険因子の発生を検知した場合に、前記管理装置を通じて前記ディスプレイ装置に警報情報を表示させる。
【0006】
本発明では、作業者の作業環境に関するデータをヘルメットや作業着から直接取得し、必要な情報をディスプレイ装置に表示できるので、作業環境に関する注意喚起を作業者に迅速に提示できる。また、従来は、主観的な指標で評価されていた作業環境の快適さを、外部制御装置による定量的な指標により評価することが可能であるので、改善対象が明確であり、作業環境改善を効果的に図ることができる。また、作業環境に関するデータに基づいて作業箇所毎の環境を把握できるので、作業内容毎、作業場所毎の環境改善に好適に反映させることができる。このことは、作業場所全体の環境改善を行う場合に比べて、より効率的かつ効果的である。
【0007】
作業環境監視システムは、前記ヘルメット及び/または前記作業着は、作業者のバイタルに関するデータを取得するセンサをさらに備えていることが好ましい。
この構成では、作業環境に関する注意喚起に加えてバイタルに関するデータを作業者に迅速に提示できる。この場合にも、外部制御装置による定量的な指標により作業者の健康を評価することが可能であるので、作業者に対する注意喚起を効果的に行うことができる。
【0008】
作業環境監視システムは、トンネル坑内の換気を実行する換気設備を備えている。前記外部制御装置は、作業者の作業環境に関するデータと前記センサによる計測値との少なくとも一方に基づいて危険因子の発生を検知可能であることが好ましい。当該危険因子の発生を検知した場合には、前記換気設備の作動を制御して換気量及び/または風向を調節することが好ましい。
この構成では、作業箇所毎の環境改善を迅速かつ効果的に行うことができる。
【0009】
作業環境監視システムは、トンネル坑内の照明の照度を調節可能な照明設備を備えている。前記外部制御装置は、作業者の作業環境に関するデータと前記センサによる計測値との少なくとも一方に基づいて危険因子の発生を検知可能であることが好ましい。当該危険因子の発生を検知した場合には、前記照明設備の照明の照度及び/または照明の向きを調節することが好ましい。
この構成では、作業箇所毎の環境改善を迅速かつ効果的に行うことができる。また、作業者に対する注意喚起を効果的に行うことができる。
【0010】
前記ヘルメットは、光源の出力を調節可能なヘッドライトを備えている。前記外部制御装置は、作業者の作業環境に関するデータと前記センサによる計測値との少なくとも一方に基づいて危険因子の発生を検知可能であることが好ましい。当該危険因子の発生を検知した場合には、前記ヘッドライトによる照度が高くなるように前記光源の出力を調節することが好ましい。
この構成では、作業箇所毎の環境改善を迅速かつ効果的に行うことができる。また、ヘッドライトによる照度が高くなるので、作業者に対する注意喚起を効果的に行うことができる。
(【0011】以降は省略されています)
特許ウォッチbot のツイートを見る
この特許をJ-PlatPat(特許庁公式サイト)で参照する
関連特許
大成建設株式会社
木質複合構造
20日前
大成建設株式会社
摩擦制振ダンパー
14日前
大成建設株式会社
ペレット製造装置
7日前
大成建設株式会社
気体貯蔵放出材料
1か月前
大成建設株式会社
既存建物の解体方法
6日前
大成建設株式会社
浮体式基礎の製作方法
1か月前
大成建設株式会社
床版接合部の設計方法
10日前
大成建設株式会社
杭の施工方法および杭
10日前
大成建設株式会社
木材性状推定システム
1日前
大成建設株式会社
推定装置および推定方法
1か月前
大成建設株式会社
推定装置および推定方法
1か月前
大成建設株式会社
浚渫用施設および浚渫方法
29日前
大成建設株式会社
木材縦弾性係数推定システム
1日前
大成建設株式会社
無線給電システム及び移動体
1か月前
大成建設株式会社
試料採取装置および特性評価方法
1か月前
大成建設株式会社
地下水排水構造と地下水排水方法
6日前
大成建設株式会社
異種コンクリートの切替り特定方法
6日前
大成建設株式会社
到達立坑における掘進機の回収方法
10日前
大成建設株式会社
汚泥処理方法および汚泥処理システム
1か月前
大成建設株式会社
水槽構造物および水槽構造物の施工方法
29日前
大成建設株式会社
凍結地盤の掘削土の排土装置と排土方法
6日前
大成建設株式会社
シールド到達構造およびシールド到達方法
29日前
大成建設株式会社
既設トンネルの坑口補強構造と坑口補強方法
6日前
大成建設株式会社
吊荷向き制御システムおよびブレード設置方法
21日前
大成建設株式会社
浮体式基礎の製作方法及び洋上風車の製作方法
1か月前
大成建設株式会社
浮体式基礎の製作方法及び洋上風車の製作方法
1か月前
大成建設株式会社
水中不分離性モルタル組成物、及び、その部材
29日前
大成建設株式会社
既設トンネルと分岐トンネルの接合構造と接合方法
6日前
大成建設株式会社
上面増厚床版の非破壊評価方法及び非破壊評価システム
7日前
大成建設株式会社
上下の既設トンネルを繋ぐ接合トンネルとその施工方法
6日前
大成建設株式会社
コンクリート組成物、及び、コンクリート部材の製造方法
1か月前
大成建設株式会社
鋼管により形成される立坑の坑口補強構造と坑口補強方法
10日前
大成建設株式会社
作業環境監視システム及び作業環境監視システムの監視方法
7日前
大成建設株式会社
遊離脂肪酸の分離方法および遊離脂肪酸生産微生物の培養方法
8日前
大成建設株式会社
半潜水浮体式基礎
6日前
大成建設株式会社
接触回避システム
28日前
続きを見る
他の特許を見る