TOP
|
特許
|
意匠
|
商標
特許ウォッチ
Twitter
他の特許を見る
10個以上の画像は省略されています。
公開番号
2025144840
公報種別
公開特許公報(A)
公開日
2025-10-03
出願番号
2024044719
出願日
2024-03-21
発明の名称
地下水排水構造と地下水排水方法
出願人
大成建設株式会社
,
株式会社精研
代理人
個人
,
個人
主分類
E21D
9/04 20060101AFI20250926BHJP(地中もしくは岩石の削孔;採鉱)
要約
【課題】既設の地下構造体の周辺の地盤を凍結させ、未凍結地盤から地下構造体の内部に地下水を排水するに際し、凍結させることなく地下水を効果的に排水することのできる、地下水排水構造と地下水排水方法を提供する。
【解決手段】地下水排水構造40であり、地下構造体10の壁面16の開口16aに連通する中空41aを備え、途中位置に枝管41cを備えているガイド管41と、ガイド管41の中空41aを介して地盤GBの内部に一部が挿入され、ガイド管41との間に地下水の流通する第1流路43を形成し、内部に流体が流通される挿入管44と、枝管41cよりも地下構造体10の内部側で第1流路43を遮断する第1バルブ47と、枝管41cを開閉する第2バルブ48とを有し、地下構造体10の周辺の地盤GBを凍結させた際に生じる凍結膨張圧によって圧力が上昇した地下水を、第2バルブ48を開放して地下構造体10の内部に排水する。
【選択図】図3
特許請求の範囲
【請求項1】
既設の地下構造体の周辺の地盤から、該地下構造体の内部に地下水を排水する、地下水排水構造であって、
前記地下構造体の壁面には地盤に臨む開口が設けられ、該地下構造体の内部に配設されて該壁面に接続され、該開口に連通する中空を備え、途中位置に枝管を備えている、ガイド管と、
前記ガイド管の前記中空を介して、地盤の内部に一部が挿入され、前記ガイド管との間に地下水の流通する第1流路を形成し、内部に流体が流通される挿入管と、
前記ガイド管における前記枝管よりも地下構造体の内部側に設置されて、前記第1流路を遮断する、第1バルブと、
前記枝管を開閉する、第2バルブとを有し、
前記地下構造体の周辺の地盤を凍結させた際に生じる凍結膨張圧によって圧力が上昇した前記第1流路の内部にある地下水を、前記第2バルブを開放して前記地下構造体の内部に排水することを特徴とする、地下水排水構造。
続きを表示(約 1,000 文字)
【請求項2】
前記挿入管は、外管と内管を備えた二重管であり、該外管と該内管の間には第2流路が設けられており、
前記外管は地盤側の先端が閉塞し、前記内管は地盤側の先端が開放しており、
前記外管に供給された前記流体が前記第2流路を流れて前記内管に入り、該内管を流通して前記地下構造体の内部に排水される、もしくは、該内管に供給された該流体が該第2流路に入り、該外管を流通して該地下構造体の内部に排水されることを特徴とする、請求項1に記載の地下水排水構造。
【請求項3】
前記ガイド管と前記二重管の間に、中空を有して地盤側の先端が閉塞しているケーシングが介在することを特徴とする、請求項2に記載の地下水排水構造。
【請求項4】
前記ガイド管、もしくは前記第1バルブ、もしくは前記第2バルブにおいて、前記第1流路の内部にある地下水の圧力を計測する圧力計が設けられていることを特徴とする、請求項1又は2に記載の地下水排水構造。
【請求項5】
前記圧力計が所定の圧力値以上となった際に、前記第2バルブが開制御されることを特徴とする、請求項4に記載の地下水排水構造。
【請求項6】
前記ケーシングと前記二重管の間に充填材が充填されていることを特徴とする、請求項3に記載の地下水排水構造。
【請求項7】
既設の地下構造体の周辺の地盤から、該地下構造体の内部に地下水を排水する、地下水排水方法であって、
前記地下構造体の壁面に設けられている地盤に臨む開口に対して、該開口に連通する中空を備えて途中位置に枝管を備えているガイド管を設置し、該中空を介して地盤の内部に挿入管の一部を挿入し、該ガイド管と該挿入管の間に地下水の流通する第1流路を形成し、該ガイド管における該枝管よりも地下構造体の内部側において該第1流路を第1バルブにて遮断し、前記枝管に対して該枝管を開閉する第2バルブを設けておき、該挿入管の内部に流体を流通させておく、準備工程と、
前記地下構造体の周辺の地盤を凍結させた際の凍結膨張圧によって前記第1流路の内部にある地下水の圧力が上昇した際に、前記第2バルブを開放して該第1流路の内部にある地下水を前記地下構造体の内部に排水する、排水工程とを有することを特徴とする、地下水排水方法。
発明の詳細な説明
【技術分野】
【0001】
本発明は、地下水排水構造と地下水排水方法に関する。
続きを表示(約 2,400 文字)
【背景技術】
【0002】
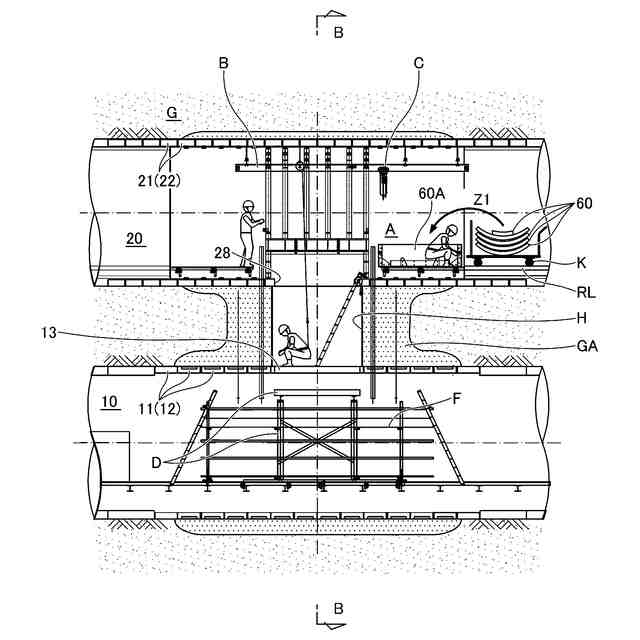
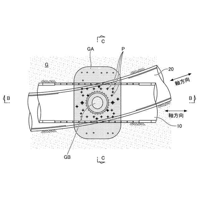
上下や左右の関係にある2つの既設の地下構造体の間を掘削して双方を繋ぐ施工において、その周囲に凍結工法や薬液注入工法、高圧噴射工法等の地盤改良による防護工を行った後に、地盤改良エリアの内側にある未改良エリアの掘削を行う場合がある。
防護工として凍結工法を適用する場合に、その内側の未凍結地盤にある地下水の圧力が高くなることが一般的であり、高水圧となった地下水を一方の地下構造体に排水するべく、当該地下構造体から未凍結地盤に水抜き管を設置する場合がある。未凍結地盤に設置された水抜き管により、未凍結地盤における地下水の水圧を低下させることに加えて、未凍結地盤の周囲に造成されている凍土の閉塞状況を確認(復圧の有無を確認)することができる。
しかしながら、通常の水抜き管を使用する場合に、造成されている凍土の影響によって水抜き管が凍ってしまう恐れがあり、さらには、凍土の造成完了後に未凍結地盤も凍ってしまい、本来的に未凍結地盤を掘削するはずであった当該未凍結地盤が凍結することにより、掘削の際の施工性が格段に低下することになって好ましくない。
【0003】
以上のことから、既設の地下構造体の周辺の地盤を凍結させ、未凍結地盤から当該地下構造体の内部に地下水を排水するに際し、凍結させることなく地下水を排水することのできる地下水排水構造と地下水排水方法が望まれる。
【0004】
ここで、特許文献1には、凍結工法における凍土内に流動域を造成する方法が提案されている。この方法は、凍結工法において、凍結管を埋設した後、凍結管の周囲の空隙に解凍後に流動性が高い注入材を充填し、凍結工事終了後に、凍結管に温水を循環させることにより、注入材を融解して流動域を造成する方法である。
【先行技術文献】
【特許文献】
【0005】
特開平8-199553号公報
【発明の概要】
【発明が解決しようとする課題】
【0006】
特許文献1に記載される方法によれば、凍結前の凍結管の周囲の空隙に解凍後に流動性が高い充填材を充填し、凍結工事完了後に凍結管に温水を循環させ、充填材を融解して流動域を造成するようにしたことにより、凍結管の抜去に際して抜去加重が小さくなり、容易に抜去することができるとしている。しかしながら、上記する課題、すなわち、既設の地下構造体の周辺の地盤を凍結させ、未凍結地盤から当該地下構造体の内部に地下水を排水するに際し、凍結させることなく地下水を排水する手段を開示するものではない。
【0007】
本発明は、既設の地下構造体の周辺の地盤を凍結させ、未凍結地盤から当該地下構造体の内部に地下水を排水するに際し、凍結させることなく地下水を効果的に排水することのできる、地下水排水構造と地下水排水方法を提供することを目的としている。
【課題を解決するための手段】
【0008】
前記目的を達成すべく、本発明による地下水排水構造の一態様は、
既設の地下構造体の周辺の地盤から、該地下構造体の内部に地下水を排水する、地下水排水構造であって、
前記地下構造体の壁面には地盤に臨む開口が設けられ、該地下構造体の内部に配設されて該壁面に接続され、該開口に連通する中空を備え、途中位置に枝管を備えている、ガイド管と、
前記ガイド管の前記中空を介して、地盤の内部に一部が挿入され、前記ガイド管との間に地下水の流通する第1流路を形成し、内部に流体が流通される挿入管と、
前記ガイド管における前記枝管よりも地下構造体の内部側に設置されて、前記第1流路を遮断する、第1バルブと、
前記枝管を開閉する、第2バルブとを有し、
前記地下構造体の周辺の地盤を凍結させた際に生じる凍結膨張圧によって圧力が上昇した前記第1流路の内部にある地下水を、前記第2バルブを開放して前記地下構造体の内部に排水することを特徴とする。
【0009】
本態様によれば、地下構造体の壁面に設けられている地盤に臨む開口に連通する中空を備え、途中位置に枝管を備えていて該壁面に接続されているガイド管と、ガイド管の中空を介して地盤の内部に一部が挿入されてガイド管との間に地下水の流通する第1流路を形成するとともに内部に流体が流通される挿入管とを有し、ガイド管が第1流路を遮断する第1バルブと枝管を開閉する第2バルブを備え、凍結膨張圧によって圧力が上昇した第1流路の内部にある地下水を第2バルブを開放して地下構造体の内部に排水することにより、挿入管の内部に流体が流通することで第1流路を流通する地下水が凍結することを防止しながら、凍結膨張圧によって圧力が上昇した第1流路の内部にある地下水を第2バルブを介して地下構造体の内部に効果的に排水することができる。
このことにより、未凍結地盤を削孔する際の良好な施工性を保証することができる。
また、未凍結地盤の周囲に造成されている凍土の閉塞状況を常時確認することができ、さらには、未凍結地盤の一部が凍結しそうな場合でも流体が内部を流通する挿入管によって部分的に解凍することが可能になる。
【0010】
ここで、地下構造体には、シールドトンネルや推進トンネル等のトンネルや立坑等を挙げることができ、シールドトンネル等は鋼製セグメントにより形成されるトンネルや、コンクリート系セグメント(RC(Reinforced Concrete)セグメントや、鋼殻とコンクリートが合成された合成セグメント)により形成されるトンネル等が含まれる。また、挿入管の内部に流通する流体には、温水や常温水等を挙げることができる。
(【0011】以降は省略されています)
この特許をJ-PlatPat(特許庁公式サイト)で参照する
関連特許
大成建設株式会社
木質複合構造
22日前
大成建設株式会社
ペレット製造装置
9日前
大成建設株式会社
摩擦制振ダンパー
16日前
大成建設株式会社
既存建物の解体方法
8日前
大成建設株式会社
木材性状推定システム
3日前
大成建設株式会社
床版接合部の設計方法
12日前
大成建設株式会社
杭の施工方法および杭
12日前
大成建設株式会社
浚渫用施設および浚渫方法
1か月前
大成建設株式会社
木材縦弾性係数推定システム
3日前
大成建設株式会社
免震基礎構造およびその構築方法
1日前
大成建設株式会社
地下水排水構造と地下水排水方法
8日前
大成建設株式会社
異種コンクリートの切替り特定方法
8日前
大成建設株式会社
到達立坑における掘進機の回収方法
12日前
大成建設株式会社
水槽構造物および水槽構造物の施工方法
1か月前
大成建設株式会社
凍結地盤の掘削土の排土装置と排土方法
8日前
大成建設株式会社
既設トンネルの坑口補強構造と坑口補強方法
8日前
大成建設株式会社
吊荷向き制御システムおよびブレード設置方法
23日前
大成建設株式会社
既設トンネルと分岐トンネルの接合構造と接合方法
8日前
大成建設株式会社
上下の既設トンネルを繋ぐ接合トンネルとその施工方法
8日前
大成建設株式会社
上面増厚床版の非破壊評価方法及び非破壊評価システム
9日前
大成建設株式会社
鋼管により形成される立坑の坑口補強構造と坑口補強方法
12日前
大成建設株式会社
作業環境監視システム及び作業環境監視システムの監視方法
9日前
大成建設株式会社
遊離脂肪酸の分離方法および遊離脂肪酸生産微生物の培養方法
10日前
大成建設株式会社
接触回避システム
1か月前
大成建設株式会社
半潜水浮体式基礎
8日前
大成建設株式会社
塔体の建て起こし装置
11日前
大成建設株式会社
分岐トンネル施工用の発進設備と、分岐トンネル施工用の掘進機の発進方法
12日前
株式会社カネカ
状態改善システム、状態改善方法、状態改善装置、状態改善プログラム
16日前
大成建設株式会社
耐硫酸性グラウト組成物、耐硫酸性モルタル組成物、耐硫酸性コンクリート組成物、およびこれらの製造方法
2日前
個人
掘削機
3か月前
株式会社奥村組
地山探査装置
1か月前
株式会社奥村組
地山探査方法
1か月前
株式会社奥村組
地山探査装置
1か月前
株式会社奥村組
地山探査装置
1か月前
株式会社奥村組
シールド掘進機
6か月前
株式会社笠原建設
横孔形成方法
5か月前
続きを見る
他の特許を見る