TOP
|
特許
|
意匠
|
商標
特許ウォッチ
Twitter
他の特許を見る
10個以上の画像は省略されています。
公開番号
2025145571
公報種別
公開特許公報(A)
公開日
2025-10-03
出願番号
2024045808
出願日
2024-03-22
発明の名称
既存建物の解体方法
出願人
大成建設株式会社
代理人
個人
主分類
E04G
23/08 20060101AFI20250926BHJP(建築物)
要約
【課題】解体用重機を使用した既存建物の解体方法を提供すること。
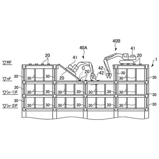
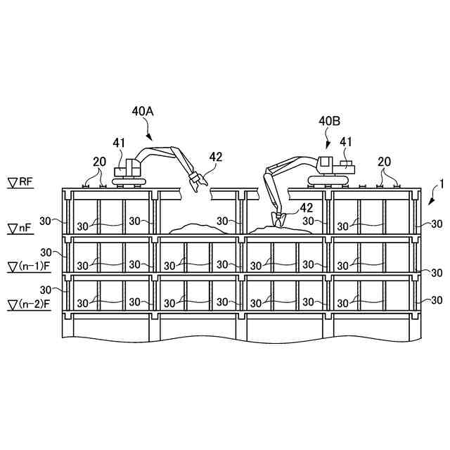
【解決手段】既存建物の解体方法は、既存建物1の解体対象階の床面上に、解体対象階の大梁11および小梁12のうち隣接するもの同士の間に跨がって複数の重機用歩み板20を敷設するとともに、解体対象階の大梁11および小梁12を直下階の床面上からサポート材30で支持するステップS1と、解体用重機40A、40Bが重機用歩み板20上を走行しながら、解体用重機40A、40Bの圧砕機42で解体対象階を解体するステップS2と、解体対象階の床面と解体対象階の直下階の床面との間に、重機用歩み板20を斜めに架設して、解体用重機40A、40Bを斜めに架設した重機用歩み板20上を走行させて、解体対象階の直下階に下ろすステップS3と、ステップS1からステップS3を下層に向かって繰り返すステップS4と、を備える。
【選択図】図4
特許請求の範囲
【請求項1】
既存建物の解体方法であって、
前記既存建物の解体対象階の床面上に、前記解体対象階の床梁のうち隣接するもの同士の間に跨がって複数の架設部材を敷設するとともに、前記解体対象階の床梁を前記解体対象階の直下階の床面上からサポート材で支持する第1工程と、
解体用重機が前記架設部材上を走行しながら、前記解体用重機の圧砕機で前記解体対象階を解体する第2工程と、
前記解体対象階の床面と前記解体対象階の直下階の床面との間に、架設部材を斜めに架設して、前記解体用重機を、前記斜めに架設した架設部材上を走行させて、前記解体対象階の直下階に下ろす第3工程と、
前記第1工程から前記第3工程を、下層に向かって繰り返す第4工程と、を備えることを特徴とする既存建物の解体方法。
続きを表示(約 99 文字)
【請求項2】
前記第3工程では、前記斜めに架設した架設部材の下端側を、前記解体対象階の直下階の床面にあと施工アンカーで仮固定することを特徴とする請求項1に記載の既存建物の解体方法。
発明の詳細な説明
【技術分野】
【0001】
本発明は、既存建物の解体方法に関する。
続きを表示(約 1,800 文字)
【背景技術】
【0002】
従来より、既存建物を解体する際に、解体用重機を桁式サポート装置で支持することが提案されている(特許文献1、2参照)。
特許文献1には、解体対象階の隣り合う床梁同士の間に跨がって設けられる桁式ショベル機サポート装置が提案されている。桁式ショベル機サポート装置は、ショベル機のカタビラが乗る作業台面を有する断面H字型形状の桁フレームと、この桁フレームの作業台面に溶接された滑り止めと、桁フレームの下部に設けられた補強筋かねおよび支持盤と、を備える。
【0003】
特許文献2には、桁式サポート装置を用いた建物の解体方法が提案されている。具体的には、ショベル機にて上層階のスラブに移動開口部を形成する。次に、下層階から移動開口部に桁式サポート装置を斜めに架け渡す。次に、桁式サポート装置を伝って移動開口部から上層階にショベル機を移動させる。これを繰り返して、ショベル機を屋上まで移動させる。その後、ショベル機で屋上から建物の解体を開始する。
【先行技術文献】
【特許文献】
【0004】
特開2002-371713号公報
特開2015-48586号公報
【発明の概要】
【発明が解決しようとする課題】
【0005】
本発明は、解体用重機を使用した既存建物の解体方法を提供することを課題とする。
【課題を解決するための手段】
【0006】
第1の発明の既存建物の解体方法は、既存建物(例えば、後述の既存建物1)の解体方法であって、前記既存建物の解体対象階(例えば、後述の屋上階)の床面上に、前記解体対象階の床梁(例えば、後述の大梁11、小梁12)のうち隣接するもの同士の間に跨がって複数の架設部材(例えば、後述の重機用歩み板20)を敷設するとともに、前記解体対象階の床梁を前記解体対象階の直下階(例えば、後述のn階)の床面上からサポート材(例えば、後述のサポート材30)で支持する第1工程(例えば、後述のステップS1)と、解体用重機(例えば、後述の解体用重機40A、40B)が前記架設部材上を走行しながら、前記解体用重機の圧砕機(例えば、後述の圧砕機42)で前記解体対象階を解体する第2工程(例えば、後述のステップS2)と、前記解体対象階の床面と前記解体対象階の直下階の床面との間に、架設部材を斜めに架設して、前記解体用重機を、前記斜めに架設した架設部材上を走行させて、前記解体対象階の直下階に下ろす第3工程(例えば、後述のステップS3)と、前記第1工程から前記第3工程を、下層に向かって繰り返す第4工程(例えば、後述のステップS4)と、を備えることを特徴とする。
【0007】
この発明によれば、解体対象階の床梁同士の間に複数の架設部材を架け渡すとともに、解体対象階の床梁を下からサポート材で支持する。その後、自走式の解体用重機が架設部材上を移動しながら、解体対象階を解体する。よって、解体用重機による荷重が、架設部材、梁、柱の順に伝達されるため、解体対象階の床スラブの強度が低い場合であっても、自走式の解体用重機を使用して既存建物を上層から下層に向かって容易に解体できる。また、解体対象階の床梁を下からサポート材で支持したので、既存躯体を大掛かりに補強することなく、解体対象階の床梁で架設部材を確実に支持できる。
【0008】
第2の発明の既存建物の解体方法は、前記第3工程では、前記斜めに架設した架設部材の下端側を、前記解体対象階の直下階の床面にあと施工アンカーで仮固定することを特徴とする。
【0009】
この発明によれば、解体対象階の床スラブと解体対象階の直下階の床スラブとの間に架設部材を斜めに架設し、この斜めに架設した架設部材の下端側を、解体対象階の直下階の床面にあと施工アンカーで仮固定した。これにより、解体用重機を斜めの架設部材上を走行させて下ろす際に、この斜めの架設部材がずれるのを防止できるから、解体用重機を安全に直下階に下ろすことができる。
【発明の効果】
【0010】
本発明によれば、解体用重機を使用した既存建物の解体方法を提供できる。
【図面の簡単な説明】
(【0011】以降は省略されています)
この特許をJ-PlatPat(特許庁公式サイト)で参照する
関連特許
大成建設株式会社
木質複合構造
14日前
大成建設株式会社
摩擦制振ダンパー
8日前
大成建設株式会社
気体貯蔵放出材料
1か月前
大成建設株式会社
ペレット製造装置
1日前
大成建設株式会社
既存建物の解体方法
今日
大成建設株式会社
杭の施工方法および杭
4日前
大成建設株式会社
浮体式基礎の製作方法
1か月前
大成建設株式会社
床版接合部の設計方法
4日前
大成建設株式会社
浚渫用施設および浚渫方法
23日前
大成建設株式会社
無線給電システム及び移動体
28日前
大成建設株式会社
試料採取装置および特性評価方法
1か月前
大成建設株式会社
地下水排水構造と地下水排水方法
今日
大成建設株式会社
異種コンクリートの切替り特定方法
今日
大成建設株式会社
到達立坑における掘進機の回収方法
4日前
大成建設株式会社
汚泥処理方法および汚泥処理システム
1か月前
大成建設株式会社
水槽構造物および水槽構造物の施工方法
23日前
大成建設株式会社
凍結地盤の掘削土の排土装置と排土方法
今日
大成建設株式会社
シールド到達構造およびシールド到達方法
23日前
大成建設株式会社
既設トンネルの坑口補強構造と坑口補強方法
今日
大成建設株式会社
浮体式基礎の製作方法及び洋上風車の製作方法
1か月前
大成建設株式会社
水中不分離性モルタル組成物、及び、その部材
23日前
大成建設株式会社
吊荷向き制御システムおよびブレード設置方法
15日前
大成建設株式会社
浮体式基礎の製作方法及び洋上風車の製作方法
1か月前
大成建設株式会社
既設トンネルと分岐トンネルの接合構造と接合方法
今日
大成建設株式会社
上面増厚床版の非破壊評価方法及び非破壊評価システム
1日前
大成建設株式会社
上下の既設トンネルを繋ぐ接合トンネルとその施工方法
今日
大成建設株式会社
鋼管により形成される立坑の坑口補強構造と坑口補強方法
4日前
大成建設株式会社
コンクリート組成物、及び、コンクリート部材の製造方法
1か月前
大成建設株式会社
作業環境監視システム及び作業環境監視システムの監視方法
1日前
大成建設株式会社
遊離脂肪酸の分離方法および遊離脂肪酸生産微生物の培養方法
2日前
大成建設株式会社
半潜水浮体式基礎
今日
大成建設株式会社
接触回避システム
22日前
大成建設株式会社
塔体の建て起こし装置
3日前
大成建設株式会社
分岐トンネル施工用の発進設備と、分岐トンネル施工用の掘進機の発進方法
4日前
大成建設株式会社
学習装置、学習方法、推定装置、推定方法、推定プログラム、および推定システム
1か月前
大成建設株式会社
回収可能なシールド掘進機と、回収可能なシールド掘進機を用いたトンネル施工方法
28日前
続きを見る
他の特許を見る