TOP
|
特許
|
意匠
|
商標
特許ウォッチ
Twitter
他の特許を見る
公開番号
2025144248
公報種別
公開特許公報(A)
公開日
2025-10-02
出願番号
2024043935
出願日
2024-03-19
発明の名称
ペレット製造装置
出願人
大成建設株式会社
,
株式会社チヨダマシナリー
代理人
弁理士法人磯野国際特許商標事務所
主分類
B29B
9/06 20060101AFI20250925BHJP(プラスチックの加工;可塑状態の物質の加工一般)
要約
【課題】植物由来の原料から安定して確実に固めて高品質のペレットを製造できるペレット製造装置を提供する。
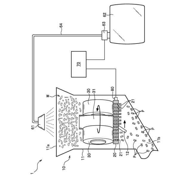
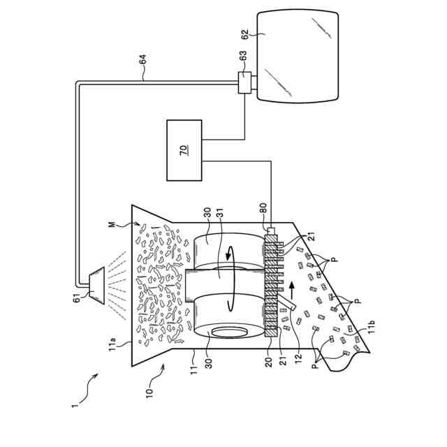
【解決手段】ペレット製造装置1であって、植物由来の原料Mを押出成形してペレットPを製造する押出機10と、原料Mに散水する散水装置60と、散水装置60を制御する制御装置70と、を備えている。押出機10は、成形孔21が貫通したダイス20と、ダイス20の温度を計測する温度センサ80と、を備えている。制御装置70は、ダイス20の温度が設定温度範囲の上限温度以上の場合には、散水装置60から散水させ、ダイス20の温度が設定温度範囲の下限温度以下の場合には、散水装置60の散水を停止させる。
【選択図】図2
特許請求の範囲
【請求項1】
植物由来の原料を押出成形してペレットを製造する押出機と、
前記原料に対して散水する散水装置と、
前記散水装置の散水を制御する制御装置と、を備え、
前記押出機は、
前記原料が押し込まれる成形孔が貫通したダイスと、
前記ダイスの温度を計測する温度センサと、を有し、
前記制御装置は、
前記温度が設定温度範囲の上限温度以上の場合には、前記散水装置から散水させ、
前記温度が前記設定温度範囲の下限温度以下の場合には、前記散水装置の散水を停止させることを特徴とするペレット製造装置。
続きを表示(約 380 文字)
【請求項2】
前記押出機は、
前記ダイスの上面を転動する複数のローラーと、
前記ダイスの下面側に配置された切断刃と、を備え、
前記ダイスの上面から下面に亘って前記成形孔が貫通していることを特徴とする請求項1に記載のペレット製造装置。
【請求項3】
前記原料は、ジャイアントミスカンサスであることを特徴とする請求項1に記載のペレット製造装置。
【請求項4】
前記上限温度は、83.0度であり、
前記下限温度は、82.4度であることを特徴とする請求項3に記載のペレット製造装置。
【請求項5】
前記原料を前記押出機に供給する原料供給装置を備え、
前記原料供給装置および前記押出機は、車両の荷台に搭載可能であることを特徴とする請求項1に記載のペレット製造装置。
発明の詳細な説明
【技術分野】
【0001】
本発明は、ペレット製造装置に関する。
続きを表示(約 2,000 文字)
【背景技術】
【0002】
灯油や重油などの石油資源からバイオマス資源へのエネルギー転換として、植物由来の原料を圧縮成形したペレットを燃料として利用することが知られている。
そして、植物由来の原料をローラーによってダイスの成形孔に押し込み、成形孔から押し出された原料を切断することで、ペレットを製造する方法がある。
さらに、前記したペレットの製造方法としては、成形直後のペレットの表面温度を計測し、その表面温度が所定の範囲内に収まるように制御することで、原料を確実に固めているものがある(例えば、特許文献1参照)。
【先行技術文献】
【特許文献】
【0003】
特開2010-252783号公報
【発明の概要】
【発明が解決しようとする課題】
【0004】
前記した従来のペレット製造装置では、成形直後のペレットの表面温度を精度良く計測し難いため、原料を安定して固めることが難しい。
【0005】
本発明は、前記した問題を解決し、植物由来の原料を安定して確実に固めて高品質のペレットを製造できるペレット製造装置を提供することを課題とする。
【課題を解決するための手段】
【0006】
前記課題を解決するため、本発明は、ペレット製造装置であって、植物由来の原料を押出成形してペレットを製造する押出機と、前記原料に対して散水する散水装置と、前記散水装置の散水を制御する制御装置と、を備えている。前記押出機は、前記原料が押し込まれる成形孔が貫通したダイスと、前記ダイスの温度を計測する温度センサと、を備えている。前記制御装置は、前記温度が設定温度範囲の上限温度以上の場合には、前記散水装置から散水させ、前記温度が前記設定温度範囲の下限温度以下の場合には、前記散水装置の散水を停止させる。
【0007】
植物由来の原料が押出成形によって固まる条件としては、原料の含水量が大きく影響している。また、ダイスの成形孔によって原料を押出成形する際に、原料の含水量が多いとダイスの温度が低下し、原料の含水量が少ないとダイスの温度が上昇する。このように、原料の含水量とダイスの温度とは相関している。
本発明では、押出成形に適した含水量を備えた原料を押出成形したときのダイスの温度範囲を予め算出しておき、その温度範囲内に収まるように、原料に対して散水して、ダイスの温度を調整することで、原料が確実に固まるように、原料の含水量を調整していることになる。
ダイスの温度は容易に精度良く計測できるため、本発明のペレット製造装置では、ダイスの温度に基づいて、原料の含水量を精度良く調整できる。これにより、本発明のペレット製造装置では、原料を安定して確実に固めて高品質のペレットを製造できる。
【0008】
前記押出機は、前記ダイスの上面を転動する複数のローラーと、前記ダイスの下面側に配置された切断刃と、を備え、前記ダイスの上面から下面に亘って前記成形孔が貫通しているフラットダイ方式を用いることができる。
例えば、原料が草である場合には、原料に含まれるリグニンの量が少ないため、リグニンの熱軟化のみに依存することなく、100度以下の低温におけるセルロース、ヘミセルロース等の熱軟化も利用した低温成形が望ましい。また、草は柔らかいため、原料を粉化するのが難しい。
前記したフラットダイ方式の押出機では、原料をチップ(小片)の状態で押出成形できるため、原料の処理が容易になる。また、前記したフラットダイ方式の押出機では、リングダイ方式の押出機に比べて、原料を押出成形する際のダイスの温度を抑えることができるため、原料が草である場合でも高品質のペレットを製造できる。
【0009】
前記原料としては、ジャイアントミスカンサス(Miscanthus×giganteus)を用いることができる。ススキ属植物のジャイアントミスカンサスは、低温環境および少ない肥料で栽培可能であるとともに、多年生植物で持続的な生産性や土壌中への炭素貯留機能を有している。また、ジャイアントミスカンサスは、収穫時の含水量が少ないため、収穫後に乾燥機によって含水量を調整しなくても、ペレットの原料として利用できる。
本発明のペレット製造装置では、環境に優しい環境再生型農業の作目であるジャイアントミスカンサスから高品質のペレットを製造できる。
【0010】
また、原料がジャイアントミスカンサスである場合には、前記上限温度を83.0度に設定し、前記下限温度を82.4度に設定することで、ペレットが崩れ難くなる。
(【0011】以降は省略されています)
この特許をJ-PlatPat(特許庁公式サイト)で参照する
関連特許
大成建設株式会社
新設構造物
1か月前
大成建設株式会社
木質複合構造
14日前
大成建設株式会社
気体貯蔵放出材料
1か月前
大成建設株式会社
摩擦制振ダンパー
8日前
大成建設株式会社
ペレット製造装置
1日前
大成建設株式会社
既存建物の解体方法
今日
大成建設株式会社
浮体式基礎の製作方法
1か月前
大成建設株式会社
床版接合部の設計方法
4日前
大成建設株式会社
杭の施工方法および杭
4日前
大成建設株式会社
推定装置および推定方法
1か月前
大成建設株式会社
推定装置および推定方法
1か月前
大成建設株式会社
浚渫用施設および浚渫方法
23日前
大成建設株式会社
無線給電システム及び移動体
28日前
大成建設株式会社
地下水排水構造と地下水排水方法
今日
大成建設株式会社
試料採取装置および特性評価方法
1か月前
大成建設株式会社
異種コンクリートの切替り特定方法
今日
大成建設株式会社
到達立坑における掘進機の回収方法
4日前
大成建設株式会社
汚泥処理方法および汚泥処理システム
1か月前
大成建設株式会社
水槽構造物および水槽構造物の施工方法
23日前
地中空間開発株式会社
トンネル掘削機
1か月前
大成建設株式会社
凍結地盤の掘削土の排土装置と排土方法
今日
大成建設株式会社
シールド到達構造およびシールド到達方法
23日前
大成建設株式会社
既設トンネルの坑口補強構造と坑口補強方法
今日
大成建設株式会社
吊荷向き制御システムおよびブレード設置方法
15日前
大成建設株式会社
水中不分離性モルタル組成物、及び、その部材
23日前
大成建設株式会社
浮体式基礎の製作方法及び洋上風車の製作方法
1か月前
大成建設株式会社
浮体式基礎の製作方法及び洋上風車の製作方法
1か月前
大成建設株式会社
既設トンネルと分岐トンネルの接合構造と接合方法
今日
大成建設株式会社
上面増厚床版の非破壊評価方法及び非破壊評価システム
1日前
大成建設株式会社
上下の既設トンネルを繋ぐ接合トンネルとその施工方法
今日
大成建設株式会社
コンクリート組成物、及び、コンクリート部材の製造方法
1か月前
大成建設株式会社
鋼管により形成される立坑の坑口補強構造と坑口補強方法
4日前
大成建設株式会社
作業環境監視システム及び作業環境監視システムの監視方法
1日前
大成建設株式会社
遊離脂肪酸の分離方法および遊離脂肪酸生産微生物の培養方法
2日前
大成建設株式会社
半潜水浮体式基礎
今日
大成建設株式会社
接触回避システム
22日前
続きを見る
他の特許を見る