TOP
|
特許
|
意匠
|
商標
特許ウォッチ
Twitter
他の特許を見る
10個以上の画像は省略されています。
公開番号
2025144844
公報種別
公開特許公報(A)
公開日
2025-10-03
出願番号
2024044723
出願日
2024-03-21
発明の名称
凍結地盤の掘削土の排土装置と排土方法
出願人
大成建設株式会社
代理人
個人
,
個人
主分類
E02F
7/00 20060101AFI20250926BHJP(水工;基礎;土砂の移送)
要約
【課題】既設トンネルの内部に取り込んだ凍土を効率的に解凍し、凍土が解凍されてできた泥土を比較的小径の連絡管を介して地上に効率的に搬出することのできる、凍結地盤の掘削土の排土装置と排土方法を提供する。
【解決手段】凍結地盤の掘削土の排土装置90であり、凍結状態である掘削土Tを集積するピット91と、ピット91の内部に供給されている循環水を循環させる、ポンプ94と、ピット91の内部に配設されるヒータ93と、ピット91の内部に一端96aが挿入されるバキューム管96と、バキューム管96の他端が流体連通するバキューム車95とを有し、ヒータ93にて循環水を温め、循環水にて凍結状態が融解してスラリー化した掘削土Tを、バキューム管96を介してバキューム車95に排出する。
【選択図】図11
特許請求の範囲
【請求項1】
凍結地盤の掘削土の排土装置であって、
凍結状態である前記掘削土を集積するピットと、
前記ピットの内部に供給されている循環水を循環させる、ポンプと、
前記ピットの内部に配設されるヒータと、
前記ピットの内部に一端が挿入されるバキューム管と、
前記バキューム管の他端が流体連通するバキューム車とを有し、
前記ヒータにて前記循環水を温め、該循環水にて凍結状態が融解してスラリー化した前記掘削土を、前記バキューム管を介して前記バキューム車に排出することを特徴とする、凍結地盤の掘削土の排土装置。
続きを表示(約 520 文字)
【請求項2】
前記ヒータが、透水性のゲージの内部に配設されることを特徴とする、請求項1に記載の凍結地盤の掘削土の排土装置。
【請求項3】
既設の地下構造体である既設トンネルが、マンホールを介して地上に通じており、
前記の既設トンネルの内部に前記ピットが配設され、
地上における前記マンホールの側方に、前記バキューム車が位置決めされることを特徴とする、請求項1又は2に記載の凍結地盤の掘削土の排土装置。
【請求項4】
凍結地盤の掘削土の排土方法であって、
凍結状態である前記掘削土をピットに集積する集積工程と、
前記ピットの内部にポンプとヒータを配置し、該ピットの内部に循環水を供給し、該ヒータにて循環水を温めながら、該ポンプにて循環水を循環させることにより、前記掘削土の凍結状態を融解させてスラリー化する、融解工程と、
前記ピットの内部にバキューム管の一端を挿入し、該バキューム管の他端をバキューム車に流体連通させ、スラリー化した前記掘削土を、該バキューム管を介して該バキューム車に排出する、排出工程とを有することを特徴とする、凍結地盤の掘削土の排土方法。
発明の詳細な説明
【技術分野】
【0001】
本発明は、凍結地盤の掘削土の排土装置と排土方法に関する。
続きを表示(約 2,100 文字)
【背景技術】
【0002】
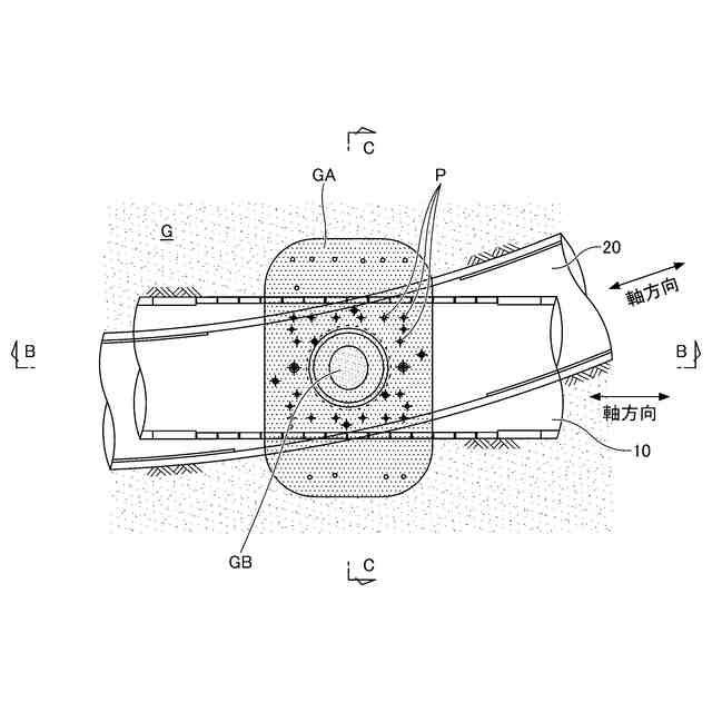
上下や左右の関係にある2つの既設の地下構造体の間を掘削して双方を繋ぐ施工において、その周囲に凍結工法や薬液注入工法、高圧噴射工法等の地盤改良による防護工を行った後に、地盤改良エリアの内側にある未改良エリアの掘削を行い、掘削後に2つの既設の地下構造体を接合する場合がある。
このような凍結工法等を行う場合に、未凍結地盤と言えども地盤は凍結にて硬くなっていることから、ブレーカやチッパー等で斫りながら人力による掘削が行われる。そして、掘削された地盤(凍土)は、産業廃棄物委託業者へ搬出するに際して、凍土を解凍して泥土とした後に搬出する方法や、凍土の状態で搬出する方法が適用される。
仮に、掘削された凍土を既設トンネルを介して地上へ搬出する際に、搬出路が比較的小径のマンホール等である場合に、凍土の状態でマンホールを介して地上へ荷揚げする場合は荷揚げ回数が多くなり、地上へ荷揚げしたとしても地上に待機するタンク車へ人力にて投入することから、凍土の搬出効率が極めて悪くなる。
そこで、凍土を解凍して泥土として搬出する方法を採用するとした場合に、既設トンネル等の内部で凍土を解凍した後に、マンホール等の比較的小径の連絡管を介して地上へ効率的に搬出する一連の方法に関する具体的な知見が存在しないことから、効率的な凍土の解凍方法や搬出方法が定かでない。
以上のことから、既設トンネルの内部に取り込んだ凍土を効率的に解凍し、凍土が解凍されてできた泥土を比較的小径の連絡管を介して地上に効率的に搬出することのできる排土装置と排土方法が望まれる。
【0003】
ここで、特許文献1には、掘削残土の処理方法が提案されている。この処理方法は、掘削土砂を自走式ミキサーに投入し、この土砂に少量の水と減水剤を投入して攪拌し、攪拌した土砂をポンプによって加圧して定置した土砂ピットまで圧送し、ピットにて静置して土砂を固化させ、固化した土砂を搬出用機械によってトラックに搭載して搬出する方法である。
【先行技術文献】
【特許文献】
【0004】
特開平11-152768号公報
【発明の概要】
【発明が解決しようとする課題】
【0005】
特許文献1に記載される掘削残土の処理方法によれば、掘削位置の変更に柔軟に対応しながら、容易に残土の処理を行うことができるとしているが、上記する課題、すなわち、既設トンネルの内部に取り込んだ凍土を効率的に解凍して地上に効率的に搬出する手段を開示するものではない。
【0006】
本発明は、既設トンネルの内部に取り込んだ凍土を効率的に解凍し、凍土が解凍されてできた泥土を比較的小径の連絡管を介して地上に効率的に搬出することのできる、凍結地盤の掘削土の排土装置と排土方法を提供することを目的としている。
【課題を解決するための手段】
【0007】
前記目的を達成すべく、本発明による上下の凍結地盤の掘削土の排土装置の一態様は、
凍結状態である前記掘削土を集積するピットと、
前記ピットの内部に供給されている循環水を循環させる、ポンプと、
前記ピットの内部に配設されるヒータと、
前記ピットの内部に一端が挿入されるバキューム管と、
前記バキューム管の他端が流体連通するバキューム車とを有し、
前記ヒータにて前記循環水を温め、該循環水にて凍結状態が融解してスラリー化した前記掘削土を、前記バキューム管を介して前記バキューム車に排出することを特徴とする。
【0008】
本態様によれば、例えば既設トンネルの内部に設置され、凍結状態の掘削土を集積するピットの内部に、循環水を循環させるポンプとヒータが配設され、既設トンネルと地上を繋ぐマンホール等の連絡管に通されてバキューム車に通じるバキューム管の一端がピットの内部に挿入され、ヒータにて温められた循環水により凍結状態が融解してスラリー化された掘削土をバキューム管を介してバキューム車に排出することにより、凍土を効率的に解凍しながら、凍土が解凍されてできた泥土を比較的小径の連絡管を介して地上に効率的に搬出することができる。
【0009】
また、本発明による凍結地盤の掘削土の排土装置の他の態様は、
前記ヒータが、透水性のゲージの内部に配設されることを特徴とする。
【0010】
本態様によれば、ヒータが透水性のゲージの内部に配設されることにより、ゲージの内部でヒータにて温められた水を、ポンプを介して、もしくはゲージの透水孔を介して、ピットの全域に効果的に供給することができる。例えば、凍土が集積されたピットの内部に凍土と接するようにしてヒータを配設した場合に、ヒータが接する凍土は直接温められるものの、ピット内の水を効率的に温めることができず、ピット内に集積される凍土の全体を効果的に温めてスラリー化することができない。
(【0011】以降は省略されています)
この特許をJ-PlatPat(特許庁公式サイト)で参照する
関連特許
大成建設株式会社
新設構造物
1か月前
大成建設株式会社
木質複合構造
15日前
大成建設株式会社
気体貯蔵放出材料
1か月前
大成建設株式会社
摩擦制振ダンパー
9日前
大成建設株式会社
ペレット製造装置
2日前
大成建設株式会社
既存建物の解体方法
1日前
大成建設株式会社
浮体式基礎の製作方法
1か月前
大成建設株式会社
床版接合部の設計方法
5日前
大成建設株式会社
杭の施工方法および杭
5日前
大成建設株式会社
推定装置および推定方法
1か月前
大成建設株式会社
推定装置および推定方法
1か月前
大成建設株式会社
浚渫用施設および浚渫方法
24日前
大成建設株式会社
無線給電システム及び移動体
29日前
大成建設株式会社
地下水排水構造と地下水排水方法
1日前
大成建設株式会社
試料採取装置および特性評価方法
1か月前
大成建設株式会社
異種コンクリートの切替り特定方法
1日前
大成建設株式会社
到達立坑における掘進機の回収方法
5日前
大成建設株式会社
汚泥処理方法および汚泥処理システム
1か月前
大成建設株式会社
水槽構造物および水槽構造物の施工方法
24日前
地中空間開発株式会社
トンネル掘削機
1か月前
大成建設株式会社
凍結地盤の掘削土の排土装置と排土方法
1日前
大成建設株式会社
シールド到達構造およびシールド到達方法
24日前
大成建設株式会社
既設トンネルの坑口補強構造と坑口補強方法
1日前
大成建設株式会社
吊荷向き制御システムおよびブレード設置方法
16日前
大成建設株式会社
水中不分離性モルタル組成物、及び、その部材
24日前
大成建設株式会社
浮体式基礎の製作方法及び洋上風車の製作方法
1か月前
大成建設株式会社
浮体式基礎の製作方法及び洋上風車の製作方法
1か月前
大成建設株式会社
既設トンネルと分岐トンネルの接合構造と接合方法
1日前
大成建設株式会社
上面増厚床版の非破壊評価方法及び非破壊評価システム
2日前
大成建設株式会社
上下の既設トンネルを繋ぐ接合トンネルとその施工方法
1日前
大成建設株式会社
コンクリート組成物、及び、コンクリート部材の製造方法
1か月前
大成建設株式会社
鋼管により形成される立坑の坑口補強構造と坑口補強方法
5日前
大成建設株式会社
作業環境監視システム及び作業環境監視システムの監視方法
2日前
大成建設株式会社
遊離脂肪酸の分離方法および遊離脂肪酸生産微生物の培養方法
3日前
大成建設株式会社
半潜水浮体式基礎
1日前
大成建設株式会社
接触回避システム
23日前
続きを見る
他の特許を見る