TOP
|
特許
|
意匠
|
商標
特許ウォッチ
Twitter
他の特許を見る
10個以上の画像は省略されています。
公開番号
2025144841
公報種別
公開特許公報(A)
公開日
2025-10-03
出願番号
2024044720
出願日
2024-03-21
発明の名称
既設トンネルと分岐トンネルの接合構造と接合方法
出願人
大成建設株式会社
代理人
個人
,
個人
主分類
E21D
13/02 20060101AFI20250926BHJP(地中もしくは岩石の削孔;採鉱)
要約
【課題】既設トンネルと上下方向に延びる分岐トンネルの接合部に作用する荷重を分岐トンネルから既設トンネルに対して安定的に伝達することのできる、既設トンネルと分岐トンネルの接合構造と接合方法を提供する。
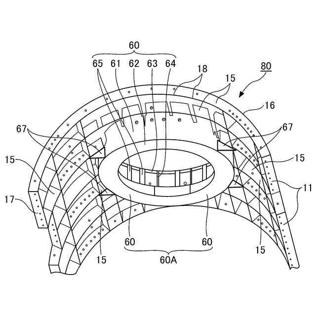
【解決手段】既設トンネル10を切り開いてできる坑口18に対して、上方に分岐する分岐トンネル50が接合されている、既設トンネルと分岐トンネルの接合構造80であり、分岐トンネル50は、坑口18に接合されて複数の第2鋼製セグメント60により形成されるセグメントリング60Aを備え、第2鋼製セグメント60は、上下方向に延びて坑口18に接合される側板61と、側板61の下端に設けられている下方主桁62と、側板61の上端に設けられている上方主桁63とを少なくとも備え、第1鋼製セグメント11の主桁15と側板61を接合する第1補強リブ67が設けられている。
【選択図】図7B
特許請求の範囲
【請求項1】
既設の地下構造体である、複数の第1鋼製セグメントにより形成される既設トンネルを切り開いてできる坑口に対して、上方に分岐する分岐トンネルが接合されている、既設トンネルと分岐トンネルの接合構造であって、
前記分岐トンネルは、前記坑口に接合されて複数の第2鋼製セグメントにより形成されるセグメントリングを備え、
前記第2鋼製セグメントは、上下方向に延びて前記坑口に接合される側板と、該側板の下端に設けられている下方主桁と、該側板の上端に設けられている上方主桁とを少なくとも備え、
前記第1鋼製セグメントの主桁と前記側板を接合する第1補強リブが設けられていることを特徴とする、既設トンネルと分岐トンネルの接合構造。
続きを表示(約 860 文字)
【請求項2】
前記第2鋼製セグメントにおいて、前記側板と前記下方主桁に接合される第2補強リブがさらに設けられていることを特徴とする、請求項1に記載の既設トンネルと分岐トンネルの接合構造。
【請求項3】
前記上方主桁と前記下方主桁と前記側板を繋ぐ縦リブがさらに設けられ、該縦リブと前記第2補強リブが相互に接合されていることを特徴とする、請求項2に記載の既設トンネルと分岐トンネルの接合構造。
【請求項4】
前記下方主桁と前記側板と前記上方主桁に囲まれた空間に充填材が充填され、二次覆工が形成されていることを特徴とする、請求項1又は2に記載の既設トンネルと分岐トンネルの接合構造。
【請求項5】
前記下方主桁におけるセグメントリングの中央側への幅が、前記上方主桁の幅よりも広く、前記二次覆工の厚みが該下方主桁の幅と同じであることを特徴とする、請求項4に記載の既設トンネルと分岐トンネルの接合構造。
【請求項6】
前記坑口と前記セグメントリングの間の隙間が、該セグメントリングを包囲する無端状の鋼板により閉塞されていることを特徴とする、請求項1又は2に記載の既設トンネルと分岐トンネルの接合構造。
【請求項7】
既設の地下構造体である、複数の第1鋼製セグメントにより形成される既設トンネルを切り開いてできる坑口に対して、上方に分岐する分岐トンネルを接合する、既設トンネルと分岐トンネルの接合方法であって、
前記坑口に対して、前記分岐トンネルを構成する、複数の第2鋼製セグメントにより形成されるセグメントリングを接合し、ここで、該第2鋼製セグメントは、上下方向に延びて前記坑口に接合される側板と、該側板の下端に設けられている下方主桁と、該側板の上端に設けられている上方主桁とを少なくとも備え、
前記第1鋼製セグメントの主桁と前記側板の双方に第1補強リブを接合することを特徴とする、既設トンネルと分岐トンネルの接合方法。
発明の詳細な説明
【技術分野】
【0001】
本発明は、既設トンネルと分岐トンネルの接合構造と接合方法に関する。
続きを表示(約 2,100 文字)
【背景技術】
【0002】
上下や左右の関係にある2つの既設の地下構造体の間を掘削して双方を繋ぐ施工において、その周囲に凍結工法や薬液注入工法、高圧噴射工法等の地盤改良による防護工を行った後に、地盤改良エリアの内側にある未改良エリアの掘削を行い、掘削後に2つの既設の地下構造体を接合する場合がある。
例えば、上下の関係にある2つの既設の地下構造体がいずれもシールドトンネル等のトンネルである場合に、双方を繋ぐ接続管には加工や溶接のし易さ等から、鋼製セグメントを用いたセグメントトンネルが適用されることがある。このような接続管は、上下のトンネルに対して、それらの軸方向から傾斜した方向(例えば直交する方向)に分岐していることから、分岐トンネルと称することができる。
さらに、双方の鋼製セグメントからなるシールドトンネルが下水や雨水の貯留管であり、双方を繋ぐ接続管も同様に貯留管の一部となる鋼製セグメントからなるセグメントトンネルである場合は、腐食や内面平滑性の観点から、鋼製セグメントからなる一次覆工の内側において、現場にてコンクリートやモルタルを打設することにより二次覆工が一般に施工される。
【0003】
このように、既設トンネルに対して上下方向(鉛直方向や鉛直斜め方向)に延びる分岐トンネルを施工する場合は、例えば下方の既設トンネルと分岐トンネルとの接合部に対して分岐トンネルの荷重が作用することとなり、分岐トンネルが上記する二次覆工を有する場合は作用する荷重がさらに大きくなることから、接合部に作用する荷重を分岐トンネルから既設トンネルに対して安定的に伝達できる接合構造が望まれる。
【0004】
ここで、特許文献1には、トンネルの開口予定部に用いられる開口部用セグメントが提案されている。この開口部用セグメントは、シールドトンネルの開口部が形成される位置に配設され、予め補強用鋼板を埋設して補強した開口部用セグメントである。
【先行技術文献】
【特許文献】
【0005】
特開2003-64995号公報
【発明の概要】
【発明が解決しようとする課題】
【0006】
特許文献1に記載される開口部用セグメントによれば、補強用鋼板が埋設されることにより開口部が補強されるとしているが、特許文献1に記載される開口部はシールドトンネルの側方に設けられるものであり、従って新たに施工される、上下方向に延びるトンネルから作用する荷重をその下方に位置する既設トンネルに伝達させる要請に対応するものではない。
【0007】
本発明は、鋼製セグメントにより形成される既設トンネルに対して、同様に鋼製セグメントにより形成されて上下方向に延びる分岐トンネルが接合される接合構造に関し、接合部に作用する荷重を分岐トンネルから既設トンネルに対して安定的に伝達することのできる、既設トンネルと分岐トンネルの接合構造と接合方法を提供することを目的としている。
【課題を解決するための手段】
【0008】
前記目的を達成すべく、本発明による既設トンネルと分岐トンネルの接合構造の一態様は、
既設の地下構造体である、複数の第1鋼製セグメントにより形成される既設トンネルを切り開いてできる坑口に対して、上方に分岐する分岐トンネルが接合されている、既設トンネルと分岐トンネルの接合構造であって、
前記分岐トンネルは、前記坑口に接合されて複数の第2鋼製セグメントにより形成されるセグメントリングを備え、
前記第2鋼製セグメントは、上下方向に延びて前記坑口に接合される側板と、該側板の下端に設けられている下方主桁と、該側板の上端に設けられている上方主桁とを少なくとも備え、
前記第1鋼製セグメントの主桁と前記側板を接合する第1補強リブが設けられていることを特徴とする。
【0009】
本態様によれば、第1鋼製セグメントにより形成される既設トンネルを切り開いてできる坑口に対して、その上方に分岐する第2鋼製セグメントにより形成される分岐トンネルが接合されている、既設トンネルと分岐トンネルの接合構造に関し、第2鋼製セグメントの側板と第1鋼製セグメントの主桁が第1補強リブを介して相互に接合されることにより、第2鋼製セグメントの側板を介して伝達された荷重を第1補強リブを介して第1鋼製セグメントの主桁に伝達することができ、接合部に作用する荷重を分岐トンネルから既設トンネルに対して安定的に伝達することが可能になる。
【0010】
ここで、既設トンネルの坑口の周囲に坑口コンクリートを打設して分岐トンネルを支持する構造も有効であるものと考えられるが、上記するように防護工に凍結工法を適用した場合は、凍結環境下でのコンクリート養生により、コンクリートが凍害を受ける恐れがあることから好ましくない。
(【0011】以降は省略されています)
この特許をJ-PlatPat(特許庁公式サイト)で参照する
関連特許
大成建設株式会社
木質複合構造
23日前
大成建設株式会社
気体貯蔵放出材料
1か月前
大成建設株式会社
摩擦制振ダンパー
17日前
大成建設株式会社
ペレット製造装置
10日前
大成建設株式会社
既存建物の解体方法
9日前
大成建設株式会社
杭の施工方法および杭
13日前
大成建設株式会社
木材性状推定システム
4日前
大成建設株式会社
浮体式基礎の製作方法
1か月前
大成建設株式会社
床版接合部の設計方法
13日前
大成建設株式会社
浚渫用施設および浚渫方法
1か月前
大成建設株式会社
木材縦弾性係数推定システム
4日前
大成建設株式会社
無線給電システム及び移動体
1か月前
大成建設株式会社
免震基礎構造およびその構築方法
2日前
大成建設株式会社
地下水排水構造と地下水排水方法
9日前
大成建設株式会社
到達立坑における掘進機の回収方法
13日前
大成建設株式会社
異種コンクリートの切替り特定方法
9日前
大成建設株式会社
汚泥処理方法および汚泥処理システム
1か月前
大成建設株式会社
凍結地盤の掘削土の排土装置と排土方法
9日前
大成建設株式会社
水槽構造物および水槽構造物の施工方法
1か月前
大成建設株式会社
シールド到達構造およびシールド到達方法
1か月前
大成建設株式会社
既設トンネルの坑口補強構造と坑口補強方法
9日前
大成建設株式会社
水中不分離性モルタル組成物、及び、その部材
1か月前
大成建設株式会社
浮体式基礎の製作方法及び洋上風車の製作方法
1か月前
大成建設株式会社
浮体式基礎の製作方法及び洋上風車の製作方法
1か月前
大成建設株式会社
吊荷向き制御システムおよびブレード設置方法
24日前
大成建設株式会社
既設トンネルと分岐トンネルの接合構造と接合方法
9日前
大成建設株式会社
上下の既設トンネルを繋ぐ接合トンネルとその施工方法
9日前
大成建設株式会社
上面増厚床版の非破壊評価方法及び非破壊評価システム
10日前
大成建設株式会社
鋼管により形成される立坑の坑口補強構造と坑口補強方法
13日前
大成建設株式会社
作業環境監視システム及び作業環境監視システムの監視方法
10日前
大成建設株式会社
遊離脂肪酸の分離方法および遊離脂肪酸生産微生物の培養方法
11日前
大成建設株式会社
接触回避システム
1か月前
大成建設株式会社
半潜水浮体式基礎
9日前
大成建設株式会社
塔体の建て起こし装置
12日前
大成建設株式会社
分岐トンネル施工用の発進設備と、分岐トンネル施工用の掘進機の発進方法
13日前
大成建設株式会社
学習装置、学習方法、推定装置、推定方法、推定プログラム、および推定システム
1か月前
続きを見る
他の特許を見る