TOP
|
特許
|
意匠
|
商標
特許ウォッチ
Twitter
他の特許を見る
公開番号
2025144328
公報種別
公開特許公報(A)
公開日
2025-10-02
出願番号
2024044059
出願日
2024-03-19
発明の名称
転倒検知装置、及び転倒検知方法
出願人
株式会社村田製作所
代理人
弁理士法人酒井国際特許事務所
主分類
A61B
5/11 20060101AFI20250925BHJP(医学または獣医学;衛生学)
要約
【課題】演算負荷を軽減した転倒検知装置、及び転倒検知方法を実現する。
【解決手段】センサと、センサの送受信信号に基づき、検知対象エリア内の複数のレンジビンごとの信号強度を算出する信号強度算出部と、レンジビンごとの信号強度変動量を算出する信号強度変動量算出部と、検知対象エリア内において、信号強度が信号強度閾値以上のレンジビンを含まない第1エリアを設定するエリア設定部と、第1エリア内の複数のレンジビンごとの信号強度変動量の統計値である第1信号強度変動量に基づき、検知対象エリア内における生体の転倒発生を検知する判定部と、を備える。
【選択図】図1
特許請求の範囲
【請求項1】
センサと、
前記センサの送受信信号に基づき、検知対象エリア内の複数のレンジビンごとの信号強度を算出する信号強度算出部と、
前記レンジビンごとの信号強度変動量を算出する信号強度変動量算出部と、
前記検知対象エリア内において、信号強度が信号強度閾値以上のレンジビンを含まない第1エリアを設定するエリア設定部と、
前記第1エリア内の複数のレンジビンごとの信号強度変動量の統計値である第1信号強度変動量に基づき、前記検知対象エリア内における生体の転倒発生を検知する判定部と、
を備える、
転倒検知装置。
続きを表示(約 1,100 文字)
【請求項2】
請求項1に記載の転倒検知装置であって、
前記センサは、FMCW(Frequency Modulated Continuous Wave)レーダ又はFCM(Fast Chirp Modulation)レーダである、
転倒検知装置。
【請求項3】
請求項1又は2に記載の転倒検知装置であって、
前記エリア設定部は、
前記検知対象エリア内の複数のレンジビンごとの信号強度変動量の統計値である信号強度変動量統計値が第1閾値未満である場合に、前記第1エリアを設定する、
転倒検知装置。
【請求項4】
請求項3に記載の転倒検知装置であって、
前記信号強度変動量統計値は、
前記検知対象エリア内の複数のレンジビンごとの信号強度変動量の最大値又は平均値である、
転倒検知装置。
【請求項5】
請求項3に記載の転倒検知装置であって、
前記第1信号強度変動量は、
前記第1エリア内の複数のレンジビンごとの信号強度変動量の最大値又は平均値である、
転倒検知装置。
【請求項6】
請求項3に記載の転倒検知装置であって、
前記エリア設定部は、
前記第1エリアを除く第2エリアを設定する、
転倒検知装置。
【請求項7】
請求項6に記載の転倒検知装置であって、
前記判定部は、
前記信号強度変動量統計値が第1閾値以上である場合に、前記第1信号強度変動量に基づき、前記検知対象エリア内における生体の転倒発生を検知する、
転倒検知装置。
【請求項8】
請求項7に記載の転倒検知装置であって、
前記判定部は、
前記第2エリア内の複数のレンジビンごとの信号強度変動量の統計値である第2信号強度変動量が第2閾値以下であり、かつ、前記第1信号強度変動量が第3閾値以上であり、かつ、前記第1信号強度変動量が前記第3閾値よりも大きい第4閾値以下である場合に、前記検知対象エリア内において生体の転倒が発生したものとして判定する、
転倒検知装置。
【請求項9】
請求項8に記載の転倒検知装置であって、
前記第2信号強度変動量は、
前記第2エリア内の複数のレンジビンごとの信号強度変動量の最大値又は平均値である、
転倒検知装置。
【請求項10】
請求項8に記載の転倒検知装置であって、
前記判定部は、
前記検知対象エリア内において転倒が発生したものとして判定したことを示す警報を外部機器に報知する、
転倒検知装置。
(【請求項11】以降は省略されています)
発明の詳細な説明
【技術分野】
【0001】
本発明は、転倒検知装置、及び転倒検知方法に関する。
続きを表示(約 1,700 文字)
【背景技術】
【0002】
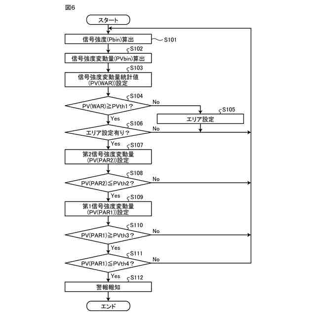
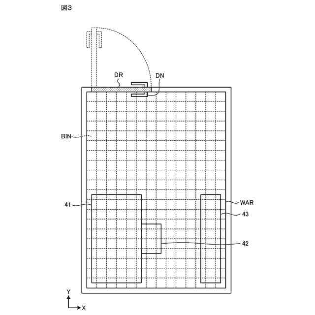
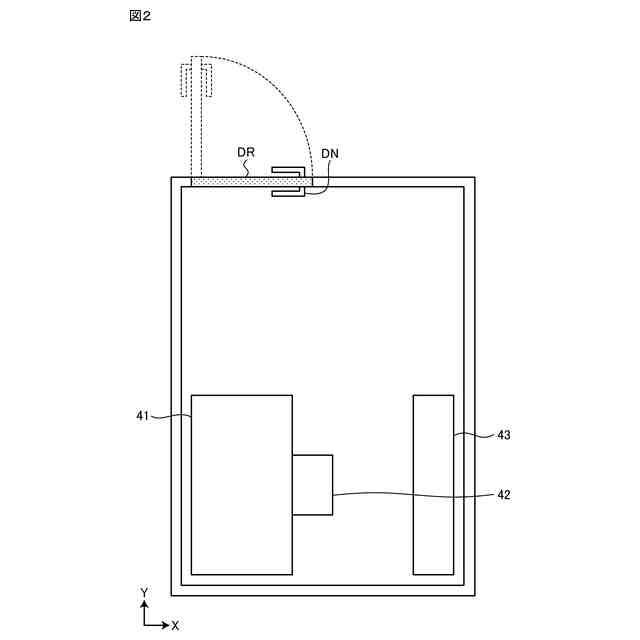
個室における事故や転倒はさまざまな場面で問題となっている。例えば介護施設においては、入居者が個室内で過ごす時間が長く、特に高齢者や要介護者は身体機能の低下や認知機能の変化などにより、転倒しやすい状況にある。工場においては、労働者が長時間単独で個室内の一人作業を行うことがあり、その間に転倒や不意の事故が発生するリスクが存在する。また単身者や作業者が一人で使用する個室以外の部屋であっても、周囲に他人が存在しない状態で転倒や不意の事故が発生した場合には、同様のリスクが生じうる。このような転倒事故が発生した場合、早期発見と迅速な処置が必要となるが、プライバシー等への配慮から、室内にカメラ等の監視装置を設置することはが困難なケースがあるため、異常の発見や処置の遅れが生じることが懸念される。このため、従来、レーダを用いて生体の動きをトラッキングし、検知された生体の位置や状態に基づいて異常状態を発見することが行われている(例えば、特許文献1)。
【0003】
具体的に、特許文献1には、測定対象者が存在する存在エリア(存在レンジビン)において、通常よりも大きな信号強度の時間変動が発現した場合や、生体が所定時間継続して静止状態にある場合に、生体が異常状態にあると判定することが開示されている。
【先行技術文献】
【特許文献】
【0004】
特開2020-081312号公報
【発明の概要】
【発明が解決しようとする課題】
【0005】
上記特許文献1では、検知領域の距離方向において複数に区切られたエリア(レンジビン)ごとに測定対象者が存在するか否かを判定する。このため、プロセッサによる演算負荷が重くなる可能性がある。
【0006】
本開示は、上記に鑑みてなされたものであって、演算負荷を軽減した転倒検知装置、及び転倒検知方法を実現することを目的とする。
【課題を解決するための手段】
【0007】
本開示の一側面の転倒検知装置は、センサと、前記センサの送受信信号に基づき、検知対象エリア内の複数のレンジビンごとの信号強度を算出する信号強度算出部と、前記レンジビンごとの信号強度変動量を算出する信号強度変動量算出部と、前記検知対象エリア内において、信号強度が信号強度閾値以上のレンジビンを含まない第1エリアを設定するエリア設定部と、前記第1エリア内の複数のレンジビンごとの信号強度変動量の統計値である第1信号強度変動量に基づき、前記検知対象エリア内における生体の転倒発生を検知する判定部と、を備える。
【0008】
この構成では、信号強度が信号強度閾値以上のレンジビンを含まない第1エリアを設定し、当該第1エリア内の複数のレンジビンごとの信号強度変動量の統計値である第1信号強度変動量に基づき、検知対象エリア内における生体の転倒発生を検知する。これにより、演算負荷を軽減することができる。
【0009】
本開示の一側面の転倒検知方法は、センサの送受信信号に基づき、検知対象エリア内の複数のレンジビンごとの信号強度を算出することと、前記レンジビンごとの信号強度変動量を算出することと、前記検知対象エリア内において、信号強度が信号強度閾値以上のレンジビンを含まない第1エリアを設定することと、前記第1エリア内の複数のレンジビンごとの信号強度変動量の統計値である第1信号強度変動量に基づき、前記検知対象エリア内における生体の転倒発生を検知することと、を含む。
【0010】
この構成では、信号強度が信号強度閾値以上のレンジビンを含まない第1エリアを設定し、当該第1エリア内の複数のレンジビンごとの信号強度変動量の統計値である第1信号強度変動量に基づき、検知対象エリア内における生体の転倒発生を検知する。これにより、演算負荷を軽減することができる。
【発明の効果】
(【0011】以降は省略されています)
この特許をJ-PlatPat(特許庁公式サイト)で参照する
関連特許
個人
短下肢装具
2か月前
個人
洗井間専家。
6か月前
個人
嚥下鍛錬装置
2か月前
個人
前腕誘導装置
2か月前
個人
ホバーアイロン
5か月前
個人
バッグ式オムツ
3か月前
個人
胸骨圧迫補助具
28日前
個人
汚れ防止シート
4日前
個人
アイマスク装置
1か月前
個人
歯の修復用材料
3か月前
個人
矯正椅子
4か月前
個人
哺乳瓶冷まし容器
2か月前
個人
シャンプー
5か月前
個人
陣痛緩和具
2か月前
個人
歯の保護用シール
4か月前
個人
湿布連続貼り機。
1か月前
株式会社八光
剥離吸引管
4か月前
個人
治療用酸化防御装置
22日前
個人
性行為補助具
2か月前
株式会社大野
骨壷
3か月前
個人
エア誘導コルセット
1か月前
個人
高気圧環境装置
3か月前
個人
シリンダ式歩行補助具
2か月前
株式会社ニデック
眼科装置
16日前
株式会社ニデック
眼科装置
16日前
株式会社コロナ
サウナ装置
5か月前
個人
精力増強キット
8日前
株式会社ニデック
眼科装置
3か月前
個人
形見の製造方法
3か月前
株式会社GSユアサ
歩行器
4か月前
株式会社ニデック
検眼装置
2か月前
個人
手指運動ツール
1か月前
株式会社松風
口腔用組成物
2か月前
株式会社ダリヤ
毛髪化粧料
14日前
東ソー株式会社
歯科ブランク
3か月前
個人
おりもの吸収通気シート
1か月前
続きを見る
他の特許を見る