TOP
|
特許
|
意匠
|
商標
特許ウォッチ
Twitter
他の特許を見る
公開番号
2025144349
公報種別
公開特許公報(A)
公開日
2025-10-02
出願番号
2024044088
出願日
2024-03-19
発明の名称
インクジェット記録装置
出願人
キヤノン株式会社
代理人
弁理士法人近島国際特許事務所
主分類
B41J
2/01 20060101AFI20250925BHJP(印刷;線画機;タイプライター;スタンプ)
要約
【課題】定着ニップ部を形成する一対のベルトの下流に配置された搬送ガイドに対し、記録材への加熱に伴い気化したインクの水分や溶剤を付着し難くする。
【解決手段】定着ベルトユニット4100により加熱された記録材を冷却モジュール5000へ案内する搬送ガイドユニット4300に空気を吹き付けるように、搬送ガイドユニット4300の上方に送風ユニット4500が配設される。送風ユニット4500が上方から搬送ガイドユニット4300に空気を吹き付けるので、記録材の加熱に伴い気化したインクの水分や溶剤を含む空気が溜まりやすい搬送ガイドユニット4300上方の空間から、インクの水分や溶剤を含む空気が冷却モジュール5000側へ流れやすくなる。インクの水分や溶剤を含む空気は、冷却モジュール5000に設けられている排気ファン5108に吸気され、冷却モジュール5000から外部へ排気される。
【選択図】図8
特許請求の範囲
【請求項1】
インクを吐出して記録材に画像を形成するインクジェット記録装置であって、
第1ベルトと、前記第1ベルトに当接してニップ部を形成する第2ベルトと、前記第1ベルトを加熱する加熱部とを有し、インクにより画像形成された記録材を前記ニップ部で挟持搬送し熱を加えて前記記録材にインクを定着させる定着部と、
前記記録材の搬送方向に関し前記定着部の下流に配置され、前記定着部から搬送された前記記録材に対し風を吹き付けて前記記録材を冷却する冷却ファンを有する冷却部と、
前記定着部が配置された第1室と、前記冷却部が配置された第2室とを隔て、前記記録材が通るように前記第1室と前記第2室を連通する連通口が形成された隔壁と、
前記第1室に配置され、前記連通口を通じて前記定着部から前記冷却部へ搬送される前記記録材を案内するガイド部と、
前記第1室において前記ガイド部の上方に配置され、前記ガイド部に上方から風を吹き付ける吹付ファンと、
前記第2室において前記記録材の搬送方向に関し前記冷却部よりも上流に配置され、前記吹付ファンによる風の吹き付けに応じて前記連通口から前記第2室へ送られる空気を排気するための排気ファンと、を備える、
ことを特徴とするインクジェット記録装置。
続きを表示(約 990 文字)
【請求項2】
前記ガイド部側に第1の吹出口が形成され、前記吹付ファンが配設されて前記第1の吹出口から風を吹き出す第1のダクトと、
前記記録材が搬送される搬送路側に第2の吹出口が形成され、前記冷却ファンが配設されて前記第2の吹出口から風を吹き出す第2のダクトと、を備え、
前記吹付ファンによって前記第1の吹出口から吹き出す風の風速は、前記冷却ファンによって前記第2の吹出口から吹き出す風の風速よりも大きい、
ことを特徴とする請求項1に記載のインクジェット記録装置。
【請求項3】
第1筐体と、
前記第1筐体に対し前記搬送方向の下流側に、前記記録材を受け渡し可能に連結される第2筐体を備え、
前記第1筐体及び前記第2筐体は、それぞれ前記連通口が形成された前記隔壁を有し、
前記定着部及び前記ガイド部は、前記第1筐体に収容され、
前記冷却部は、前記第2筐体に収容されている、
ことを特徴とする請求項1に記載のインクジェット記録装置。
【請求項4】
前記第1筐体において天板と前記定着部との間に、前記第1筐体の外部から外気を通して前記天板を冷却するために配設された天板ダクトを備え、
前記吹付ファンは、前記天板ダクトに形成された排出口から前記第1筐体内に排出される空気を吸気して前記ガイド部に吹き付ける、
ことを特徴とする請求項3に記載のインクジェット記録装置。
【請求項5】
前記ガイド部は、前記記録材の上面を案内する第1案内板と、前記記録材の下面を案内する第2案内板とを有し、
前記第1案内板は、表面がフッ素によりコーティングされている、
ことを特徴とする請求項1に記載のインクジェット記録装置。
【請求項6】
前記第1ベルトを駆動する駆動源を備え、
前記駆動源及び前記吹付ファンを制御する制御部を備え、
前記制御部は、前記第1ベルトが回転した状態で画像形成を待機するスタンバイ状態で前記吹付ファンを動作し、前記第1ベルトが回転しておらず前記スタンバイ状態の時よりも消費電力が少ないスリープ状態は前記吹付ファンを動作しない、
ことを特徴とする請求項1に記載のインクジェット記録装置。
発明の詳細な説明
【技術分野】
【0001】
本発明は、インクにより画像を形成するインクジェット記録装置に関する。
続きを表示(約 2,000 文字)
【背景技術】
【0002】
インクにより記録材に画像を形成するインクジェット記録装置において、記録材にインクを定着させる方法として、互いに当接する一対の加熱ベルトを用いる方式が知られている。一対の加熱ベルトを用いることで、記録材を挟持搬送しインクを記録材に定着させるための定着ニップ部を長く確保することができ、もって記録材に対するインクの定着性を向上できる(特許文献1)。
【先行技術文献】
【特許文献】
【0003】
特開2020-15290号公報
【発明の概要】
【発明が解決しようとする課題】
【0004】
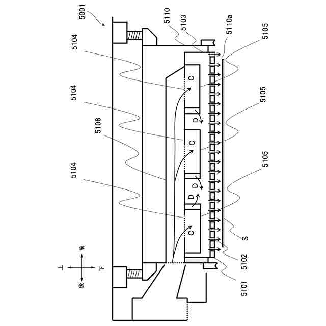
インクに含まれる水分や溶剤は、加熱により気化する。一対の加熱ベルトでインクを記録材に定着させる場合、定着ニップ部における加熱によって気化したインクの水分や溶剤は、機内の温度が低下したときに結露し得る。記録材の搬送方向に関し、一対の加熱ベルトの下流には定着ニップ部を通過した記録材を案内する搬送ガイドが配置されており、結露が発生すると搬送ガイドに水分や溶剤が付着する。搬送ガイドに水分や溶剤が付着すると、記録材を汚したり記録材のジャムを生じさせたりする虞がある。
【0005】
本発明は上記問題に鑑みてなされたもので、定着ニップ部を形成する一対のベルトの下流に配置された搬送ガイドに対し、記録材への加熱に伴い気化したインクの水分や溶剤を付着し難くしたインクジェット記録装置の提供を目的とする。
【課題を解決するための手段】
【0006】
本発明の一実施形態に係るインクジェット記録装置は、インクを吐出して記録材に画像を形成するインクジェット記録装置であって、第1ベルトと、前記第1ベルトに当接してニップ部を形成する第2ベルトと、前記第1ベルトを加熱する加熱部とを有し、インクにより画像形成された記録材を前記ニップ部で挟持搬送し熱を加えて前記記録材にインクを定着させる定着部と、前記記録材の搬送方向に関し前記定着部の下流に配置され、前記定着部から搬送された前記記録材に対し風を吹き付けて前記記録材を冷却する冷却ファンを有する冷却部と、前記定着部が配置された第1室と、前記冷却部が配置された第2室とを隔て、前記記録材が通るように前記第1室と前記第2室を連通する連通口が形成された隔壁と、前記第1室に配置され、前記連通口を通じて前記定着部から前記冷却部へ搬送される前記記録材を案内するガイド部と、前記第1室において前記ガイド部の上方に配置され、前記ガイド部に上方から風を吹き付ける吹付ファンと、前記第2室において前記記録材の搬送方向に関し前記冷却部よりも上流に配置され、前記吹付ファンによる風の吹き付けに応じて前記連通口から前記第2室へ送られる空気を排気するための排気ファンと、を備える、ことを特徴とする。
【発明の効果】
【0007】
本発明によれば、ニップ部を形成する一対の第1ベルト及び第2ベルトの下流に配置されたガイド部に対し、記録材への加熱に伴い気化したインクの水分や溶剤を付着し難くできる。
【図面の簡単な説明】
【0008】
インクジェット記録装置を示す概略図。
定着モジュールを示す概略図。
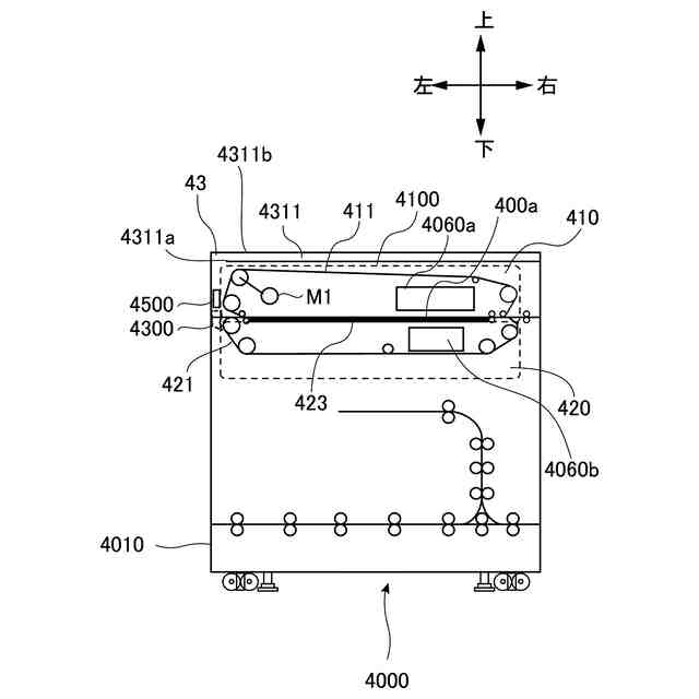
記録材搬送ユニットを示す概略図。
上ガイドユニットが閉じた状態を示す斜視図。
上ガイドユニットが開いた状態を示す斜視図。
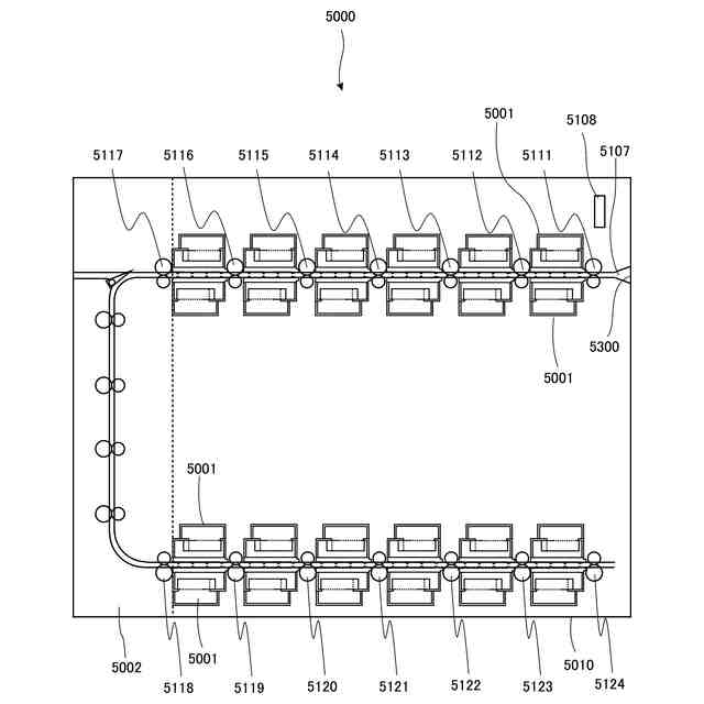
冷却モジュールを示す概略図。
冷却モジュールの冷却部を示す断面図。
(a)気流の風量について説明するための図、(b)気流の風速について説明するための図。
【発明を実施するための形態】
【0009】
<インクジェット記録装置>
以下、図面を参照して本発明の実施形態を説明する。まず、本実施形態のインクジェット記録装置について、図1を用いて説明する。本実施形態のインクジェット記録装置100は、コンピュータや原稿読取装置などの外部機器から入力された画像情報に基づいて、インクと反応液を用いて記録材に画像を形成する所謂枚葉式のインクジェット記録装置である。記録材は、例えば普通紙や厚紙等の紙、オーバーヘッドプロジェクタ用記録材等のプラスチックフィルム、封筒やインデックス紙等の特殊形状のシート、並びに布など、インクを受容可能な記録材であればよい。
【0010】
なお、本明細書において、ユーザがインクジェット記録装置100を動作させる際に立つ側を「前」と呼び、その反対側を「後」と呼ぶ。また、前側から見た場合の左を「左」と称し、前側から見た場合の右を「右」と称する。図1は、インクジェット記録装置100を前側から見た場合を示している。
(【0011】以降は省略されています)
この特許をJ-PlatPat(特許庁公式サイト)で参照する
関連特許
キヤノン株式会社
トナー
1日前
キヤノン株式会社
トナー
6日前
キヤノン株式会社
トナー
1日前
キヤノン株式会社
トナー
1日前
キヤノン株式会社
定着装置
20日前
キヤノン株式会社
電子機器
14日前
キヤノン株式会社
電子機器
14日前
キヤノン株式会社
定着装置
今日
キヤノン株式会社
記録装置
6日前
キヤノン株式会社
電子機器
10日前
キヤノン株式会社
撮像装置
14日前
キヤノン株式会社
撮像装置
2日前
キヤノン株式会社
表示装置
13日前
キヤノン株式会社
収容装置
14日前
キヤノン株式会社
発光装置
13日前
キヤノン株式会社
定着装置
14日前
キヤノン株式会社
電子機器
8日前
キヤノン株式会社
撮像装置
6日前
キヤノン株式会社
モジュール
1日前
キヤノン株式会社
光学センサ
1日前
キヤノン株式会社
半導体装置
8日前
キヤノン株式会社
現像剤容器
7日前
キヤノン株式会社
画像形成装置
13日前
キヤノン株式会社
画像形成装置
13日前
キヤノン株式会社
画像形成装置
2日前
キヤノン株式会社
画像形成装置
10日前
キヤノン株式会社
画像形成装置
8日前
キヤノン株式会社
画像形成装置
10日前
キヤノン株式会社
画像形成装置
13日前
キヤノン株式会社
画像表示装置
6日前
キヤノン株式会社
画像形成装置
10日前
キヤノン株式会社
映像表示装置
10日前
キヤノン株式会社
吐出素子基板
6日前
キヤノン株式会社
画像形成装置
10日前
キヤノン株式会社
情報処理装置
6日前
キヤノン株式会社
画像形成装置
6日前
続きを見る
他の特許を見る