TOP
|
特許
|
意匠
|
商標
特許ウォッチ
Twitter
他の特許を見る
10個以上の画像は省略されています。
公開番号
2025140182
公報種別
公開特許公報(A)
公開日
2025-09-29
出願番号
2024039390
出願日
2024-03-13
発明の名称
画像形成装置
出願人
キヤノン株式会社
代理人
弁理士法人近島国際特許事務所
主分類
G03G
21/16 20060101AFI20250919BHJP(写真;映画;光波以外の波を使用する類似技術;電子写真;ホログラフイ)
要約
【課題】装着ユニットが装着位置から移動する際の作業性を向上可能な画像形成装置を提供する。
【解決手段】画像形成装置は、装置本体と、装置本体に対して装着位置において装着される装着ユニットと、装着ユニットが装着位置から移動することを規制する規制位置と、装着ユニットが装着位置から移動することを許容する許容位置と、に移動可能な規制部と、第1コネクタと、第1コネクタに篏合することで装置本体と装着ユニットとを電気的に接続する篏合位置と、第1コネクタとの篏合が解除される解除位置と、に移動可能な第2コネクタと、第1操作位置から第2操作位置に移動することで、規制部を規制位置から許容位置に移動させ、かつ第2コネクタを篏合位置から解除位置に移動させる連動部と、を備える。
【選択図】図17
特許請求の範囲
【請求項1】
シートに画像を形成する画像形成装置において、
装置本体と、
前記装置本体に対して装着位置において装着される装着ユニットと、
前記装着ユニットが前記装着位置から移動することを規制する規制位置と、前記装着ユニットが前記装着位置から移動することを許容する許容位置と、に移動可能な規制部と、
前記装置本体及び前記装着ユニットのいずれか一方に設けられる第1コネクタと、
前記装置本体及び前記装着ユニットのいずれか他方に設けられ、前記第1コネクタに篏合することで前記装置本体と前記装着ユニットとを電気的に接続する篏合位置と、前記第1コネクタとの篏合が解除される解除位置と、に移動可能な第2コネクタと、
第1操作位置と第2操作位置との間で移動可能に設けられると共に、前記規制部及び前記第2コネクタと連動可能な連動部であって、前記第1操作位置から前記第2操作位置に移動することで、前記規制部を前記規制位置から前記許容位置に移動させ、かつ前記第2コネクタを前記篏合位置から前記解除位置に移動させる連動部と、を備える、
ことを特徴とする画像形成装置。
続きを表示(約 1,100 文字)
【請求項2】
前記連動部は、前記第2コネクタを前記篏合位置から前記解除位置に移動させるためのカムを有する、
ことを特徴とする請求項1に記載の画像形成装置。
【請求項3】
前記連動部は、操作部と、前記操作部と一体に回動する回動軸と、前記回動軸に回動可能に支持される前記規制部と、前記回動軸に回動可能に支持される前記カムと、を有する、
ことを特徴とする請求項2に記載の画像形成装置。
【請求項4】
前記装着ユニットは、シートに熱及び圧力を付与することでトナー像をシートに定着させる定着装置である、
ことを特徴とする請求項1に記載の画像形成装置。
【請求項5】
前記装置本体の開口部を覆う閉位置と、前記開口部を開放する開位置と、の間で前記装置本体に対して開閉可能に支持される開閉部材を更に備え、
前記定着装置は、前記規制部が前記許容位置に位置する際に、前記装着位置から前記開口部に向けて上方に移動可能に構成されている、
ことを特徴とする請求項4に記載の画像形成装置。
【請求項6】
前記第2コネクタは、前記定着装置に設けられ、前記篏合位置から前記解除位置に向けて移動する際に上方にスライド移動する、
ことを特徴とする請求項5に記載の画像形成装置。
【請求項7】
前記連動部は、前記開閉部材が前記開位置に位置することで前記開口部から露出する操作部を有し、前記操作部が操作されることで前記第1操作位置と前記第2操作位置との間で移動する、
ことを特徴とする請求項5に記載の画像形成装置。
【請求項8】
前記連動部は、前記第2操作位置から前記第1操作位置に移動することで、前記規制部を前記許容位置から前記規制位置に移動させ、
前記開閉部材が前記開位置から前記閉位置に移動することで、前記第2コネクタを前記篏合位置に移動させる移動部を更に備える、
ことを特徴とする請求項5に記載の画像形成装置。
【請求項9】
前記連動部は、前記開閉部材が前記閉位置から前記開位置に移動することで、前記第1操作位置から前記第2操作位置に移動する、
ことを特徴とする請求項5に記載の画像形成装置。
【請求項10】
シートにトナー像を形成するための画像形成部を更に備え、
前記連動部は、前記画像形成部が前記開口部に向けて移動される際に、前記画像形成部の移動軌跡に干渉しないように退避可能に構成されている、
ことを特徴とする請求項5に記載の画像形成装置。
(【請求項11】以降は省略されています)
発明の詳細な説明
【技術分野】
【0001】
本発明は、シートに画像を形成する画像形成装置に関する。
続きを表示(約 2,900 文字)
【背景技術】
【0002】
従来、装置本体に対して挿抜可能な定着ユニットを有する画像形成装置が提案されている(特許文献1参照)。装置本体には、本体側ドロワコネクタが設けられ、定着ユニットには、ユニット側ドロワコネクタが設けられている。定着ユニットが装置本体に対して挿入される際に、定着ユニットのユニット側ドロワコネクタが、装置本体の本体側ドロワコネクタに篏合される。
【先行技術文献】
【特許文献】
【0003】
特開2020-71403号公報
【発明の概要】
【発明が解決しようとする課題】
【0004】
しかしながら、特許文献1に記載の本体側ドロワコネクタ及びユニット側ドロワコネクタは、定着ユニットが装置本体に対して挿抜される際に、定着ユニットの挿抜と同時に篏合又は離間するように構成されている。このため、定着ユニットを装置本体に対して取り外す際に、本体側ドロワコネクタ及びユニット側ドロワコネクタの嵌合を解除するための力が必要となり、定着ユニットを取り外す際の作業性が低下してしまっていた。
【0005】
本発明は、装着ユニットが装着位置から移動する際の作業性を向上可能な画像形成装置を提供することを目的とする。
【課題を解決するための手段】
【0006】
本発明は、シートに画像を形成する画像形成装置において、装置本体と、前記装置本体に対して装着位置において装着される装着ユニットと、前記装着ユニットが前記装着位置から移動することを規制する規制位置と、前記装着ユニットが前記装着位置から移動することを許容する許容位置と、に移動可能な規制部と、前記装置本体及び前記装着ユニットのいずれか一方に設けられる第1コネクタと、前記装置本体及び前記装着ユニットのいずれか他方に設けられ、前記第1コネクタに篏合することで前記装置本体と前記装着ユニットとを電気的に接続する篏合位置と、前記第1コネクタとの篏合が解除される解除位置と、に移動可能な第2コネクタと、第1操作位置と第2操作位置との間で移動可能に設けられると共に、前記規制部及び前記第2コネクタと連動可能な連動部であって、前記第1操作位置から前記第2操作位置に移動することで、前記規制部を前記規制位置から前記許容位置に移動させ、かつ前記第2コネクタを前記篏合位置から前記解除位置に移動させる連動部と、を備える、ことを特徴とする。
【発明の効果】
【0007】
本発明によると、装着ユニットが装着位置から移動する際の作業性を向上することができる。
【図面の簡単な説明】
【0008】
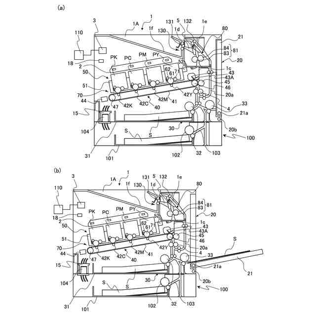
(a)は、画像形成装置を示す断面図、(b)は手差しトレイを開いた状態の画像形成装置を示す断面図。
定着装置を取り外した状態の画像形成装置を示す断面図。
(a)は、操作レバーが第1位置に位置する際の連動ユニットを示す斜視図、(b)は操作レバーが第3位置に位置する際の連動ユニットを示す斜視図、(c)は操作レバーが第2位置に位置する際の連動ユニットを示す斜視図。
(a)は操作レバーが第1位置に位置する際の画像形成装置を示す斜視図、(b)は操作レバーが第2位置に位置する際の画像形成装置を示す斜視図。(c)は係止部材に係止された状態の操作レバーを示す拡大斜視図、(d)は装置本体と給送デッキとを分離した様子を示す斜視図。
連動ユニット、ロック部材及びコネクタユニットを示す分解斜視図。
(a)は操作レバーが第1位置に位置する際のロック部材を示す側面図、(b)は操作レバーが第3位置に位置する際のロック部材を示す側面図、(c)は操作レバーが第2位置に位置する際のロック部材を示す側面図。
コネクタユニットを示す分解斜視図。
(a)は操作レバーが第1位置に位置する際のコネクタユニットを示す側面図、(b)は操作レバーが第3位置に位置する際のコネクタユニットを示す断面図、(c)は操作レバーが第2位置に位置する際のコネクタユニットを示す断面図。
第1の実施の形態の変形例に係る連動ユニットを示す斜視図。
第2の実施の形態に係る画像形成装置を示す断面図。
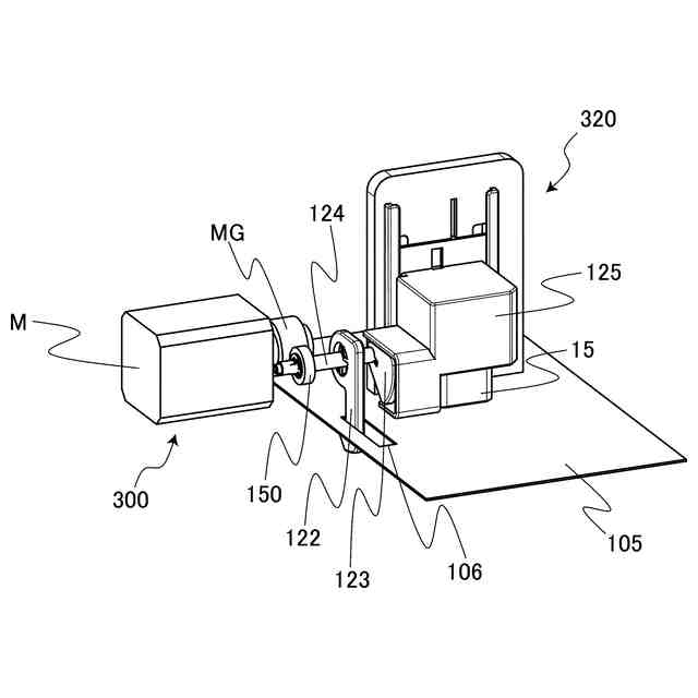
定着装置を示す斜視図。
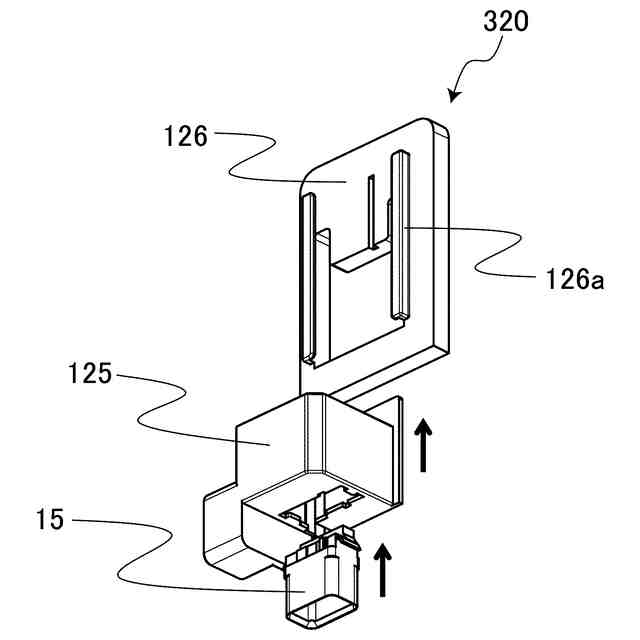
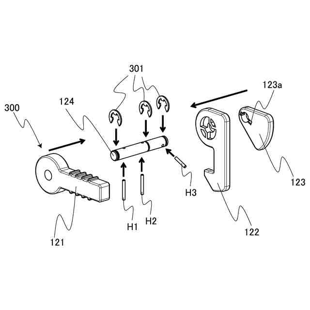
連動ユニット及び定着ロック部材を示す斜視図。
(a)は定着装置、定着装置側に設けられるコネクタユニット及びコネクタインサータを示す分解斜視図、(b)は装置本体側に設けられるコネクタユニットを示す分解斜視図。
(a)はハンドルを第2位置に操作した様子を示す斜視図、(b)は定着装置を装置本体から取り外す様子を示す斜視図。
(a)は規制位置に位置する定着ロック部材を示す断面図、(b)は許容位置に位置する定着ロック部材を示す断面図。
(a)は、ハンドルが第1位置に位置する際のコネクタユニットを示す側面図、(b)はハンドルが第1位置に位置する際の定着側コネクタ及び本体側コネクタを示す断面図、(c)はリフタカムの様子を示す断面図。
(a)はハンドルが第2位置に位置する際のコネクタユニットを示す側面図、(b)はハンドルが第2位置に位置する際の定着側コネクタ及び本体側コネクタを示す断面図、(c)はリフタカムの様子を示す断面図。
(a)は、ドアが閉じられる途中のコネクタインサータ及びコネクタホルダを示す断面図、(b)はドアが閉位置に位置する際のコネクタインサータ及びコネクタホルダを示す断面図。
【発明を実施するための形態】
【0009】
<第1の実施の形態>
〔全体構成〕
本実施の形態に係る画像形成装置1は、電子写真方式のフルカラーレーザビームプリンタである。図1(a)は、画像形成装置1を示す断面図であり、図1(b)は、手差しトレイ21を開いた状態の画像形成装置1を示す断面図である。なお、各実施の形態に記載されている構成部品の形状、それらの相対配置等は、発明が適用される装置の構成や各種条件により適宜変更されるべきものであり、この発明の範囲を限定するものではない。
【0010】
なお、画像形成装置とは、プリンタ、複写機、ファクシミリ、及び複合機を含み、外部PCから入力された画像情報や原稿から読取った画像情報に基づいて、記録媒体として用いられるシートに画像を形成する装置を指すものとする。また、画像形成装置は、画像形成機能を有する本体に加えて、オプションフィーダ、画像読取装置、シート処理装置等の付属機器が連結される場合があるが、このような付属機器が連結されたシステム全体も画像形成装置の一種である。また、シートは、用紙及び封筒等の紙、オーバーヘッドプロジェクタ用シート(OHP)等のプラスチックフィルム、布などを含む。
(【0011】以降は省略されています)
この特許をJ-PlatPat(特許庁公式サイト)で参照する
関連特許
キヤノン株式会社
トナー
2日前
キヤノン株式会社
移動体
1か月前
キヤノン株式会社
トナー
1か月前
キヤノン株式会社
撮像装置
1か月前
キヤノン株式会社
電子機器
18日前
キヤノン株式会社
電子機器
4日前
キヤノン株式会社
発光装置
1か月前
キヤノン株式会社
収容装置
10日前
キヤノン株式会社
記録装置
1か月前
キヤノン株式会社
撮像装置
18日前
キヤノン株式会社
撮像装置
1か月前
キヤノン株式会社
電子機器
10日前
キヤノン株式会社
電子機器
10日前
キヤノン株式会社
撮像装置
1か月前
キヤノン株式会社
電子機器
1か月前
キヤノン株式会社
電子機器
25日前
キヤノン株式会社
電子機器
1か月前
キヤノン株式会社
記録装置
18日前
キヤノン株式会社
記録装置
2日前
キヤノン株式会社
光学機器
1か月前
キヤノン株式会社
電子機器
1か月前
キヤノン株式会社
現像装置
1か月前
キヤノン株式会社
撮像装置
1か月前
キヤノン株式会社
表示装置
9日前
キヤノン株式会社
発光装置
9日前
キヤノン株式会社
撮像装置
17日前
キヤノン株式会社
電子機器
27日前
キヤノン株式会社
光学装置
1か月前
キヤノン株式会社
記録装置
17日前
キヤノン株式会社
撮像装置
16日前
キヤノン株式会社
撮像装置
27日前
キヤノン株式会社
電子機器
6日前
キヤノン株式会社
発光装置
1か月前
キヤノン株式会社
撮像装置
10日前
キヤノン株式会社
定着装置
10日前
キヤノン株式会社
定着装置
25日前
続きを見る
他の特許を見る