TOP
|
特許
|
意匠
|
商標
特許ウォッチ
Twitter
他の特許を見る
10個以上の画像は省略されています。
公開番号
2025144549
公報種別
公開特許公報(A)
公開日
2025-10-02
出願番号
2025043391
出願日
2025-03-18
発明の名称
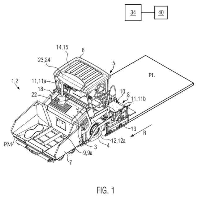
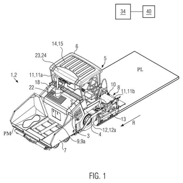
無線エネルギー送信装置を備える道路建設機
出願人
ヨゼフ フェゲーレ アーゲー
代理人
個人
,
個人
,
個人
,
個人
主分類
E01C
19/48 20060101AFI20250925BHJP(道路,鉄道または橋りょうの建設)
要約
【課題】本発明は、無線エネルギー送信装置を備える道路建設機に関する構成を提示する。
【解決手段】道路建設機(1)は、舗装材料(PM)から舗装層(PL)を製造するための道路舗装機(2)であるか、または、前記舗装材料(PM)を前記道路舗装機(2)に供給するための供給車両であり、前記道路建設機(1)が駆動するための電気駆動装置(3)および/または少なくとも1つの電気消費装置(11)を備える。前記道路建設機(1)は、電気エネルギーの受信装置(14)をさらに備える。前記受信装置(14)は、外部送信装置から電気エネルギーを無線受信し、受信した電気エネルギーを前記電気駆動装置(3)および/または電気消費装置(11)に送信するように構成されている。
【選択図】図1
特許請求の範囲
【請求項1】
舗装材料(PM)から舗装層(PL)を製造するための道路舗装機(2)であるか、または、前記舗装材料(PM)を前記道路舗装機(2)に供給するための供給車両(200)である道路建設機(1)であって、前記道路建設機(1)は、
前記道路建設機(1)および/または少なくとも1つの電気消費装置(11,211)を駆動するための電気駆動装置(3)と、
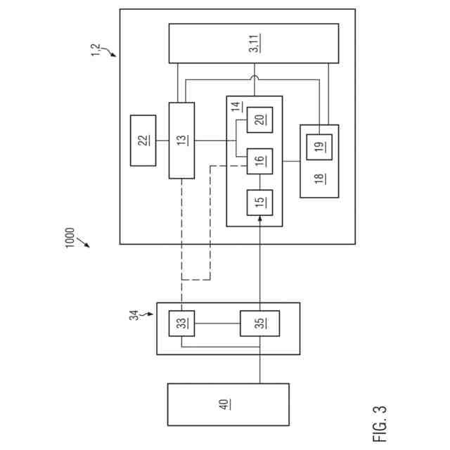
電気エネルギーの受信装置(14、214)とを含み、
前記電気エネルギーの受信装置(14、214)は、外部送信装置(34)からの電気エネルギーを無線受信し、そのエネルギーを前記電気駆動装置(3)および/または前記電気消費装置(11,211)に送信するように構成されていることを特徴とする道路建設機(1)。
続きを表示(約 1,200 文字)
【請求項2】
前記受信装置(14、214)は、特に板状の受信アンテナ(15、215)を有することを特徴とする、請求項1に記載の道路建設機(1)。
【請求項3】
無線送信される電気エネルギーは、複数のバンドルされた、特に高周波電気信号を含むことを特徴とする、請求項1または請求項2に記載の道路建設機(1)。
【請求項4】
前記受信装置(14、214)は、前記道路建設機(1)の舗装走行中に電気エネルギーを無線受信するように構成されていることを特徴とする、請求項1から請求項3のいずれか1項に記載の道路建設機(1)。
【請求項5】
少なくとも1つの充電可能なバッファ蓄積装置(18)を備え、前記バッファ蓄積装置(18)は、前記受信装置(14、214)から電気エネルギーを受信して蓄積し、前記電気駆動装置(3)および/または前記電気消費者(11、211)にその電気エネルギーを供給するように構成されていることを特徴とする、請求項1から請求項4のいずれか1項に記載の道路建設機(1)。
【請求項6】
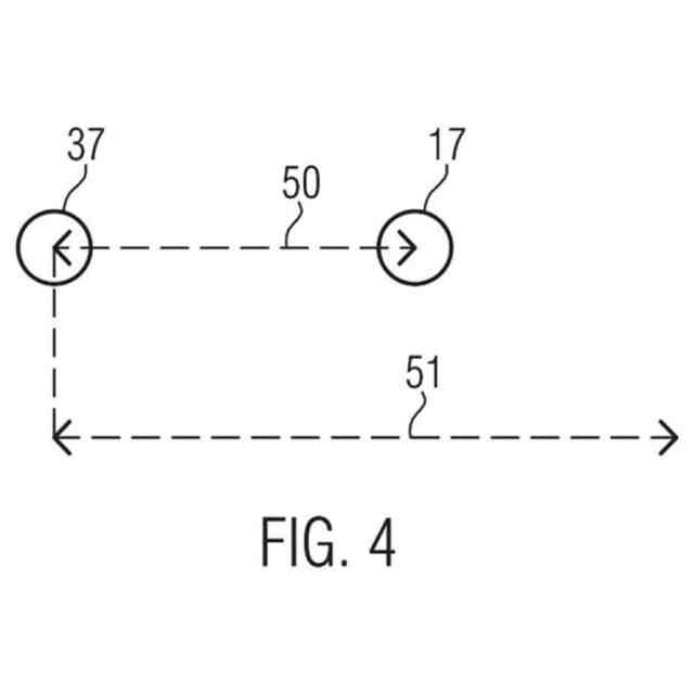
受信装置位置(17、217)および送信装置位置(37)を測定するための受信位置測定ユニット(16、216)を備え、特に、前記送信装置の位置(37)と前記受信装置の位置(17、217)との間で電気エネルギーを無線送信するための送信距離(50、52)を測定するように構成されていることを特徴とする、請求項1から請求項5のいずれか1項に記載の道路建設機(1)。
【請求項7】
前記送信距離(50、52)における物体を検出するための物体検出器(20、220)を備えることを特徴とする、請求項6に記載の道路建設機(1)。
【請求項8】
受信装置(14、214)および/またはバッファ蓄積装置(18)からの電気エネルギーを第2の道路建設機(1’)に無線送信するためのエネルギー送信装置(23)を備えることを特徴とする、請求項1から請求項7のいずれか1項に記載の道路建設機(1)。
【請求項9】
第1の道路建設機(1)に電気エネルギーを無線供給するためのシステム(1000、2000)であって、
電気エネルギーを無線受信するための第1の受信装置(14)を有する前記第1の道路建設機(1)と、
前記第1の受信装置(14)に電気エネルギーを無線送信するための外部送信装置(34)と、
電気エネルギーを前記外部送信装置(34)に供給するためのエネルギー源(40)と、
を備えることを特徴とするシステム(1000、2000)。
【請求項10】
前記外部送信装置(34)は固定式または移動式であることを特徴とする、請求項9に記載のシステム(1000、2000)。
(【請求項11】以降は省略されています)
発明の詳細な説明
【技術分野】
【0001】
本発明は、道路建設機、道路建設機に電気エネルギーを無線供給するシステム、および道路建設機の操作方法に関する。
続きを表示(約 3,100 文字)
【背景技術】
【0002】
道路建設機は、従来技術から一般的に知られている。例えば、これら道路建設機は、舗装材料から舗装層を製造するための道路舗装機や、道路舗装機に舗装材料を供給するための供給車両などである。
【0003】
従来の道路建設機は、通常、それらのエネルギー源としてディーゼル燃料を使用する。ディーゼル燃料タンクを備えた既存の道路建設機は、燃料タンクが満タンの状態で最大10時間駆動され、一定の範囲を走行するようになっている。この場合、道路建設機は高出力または最大出力で使用されることが想定される。また、道路建設機は電気的に作動可能であることは先行技術から既知である。しかし、道路建設機が電動化されると、道路建設機の走行距離が短くなることが問題となる。バッテリのような電動化された道路建設機用のエネルギー蓄積装置、例えば、充電式バッテリ(バッテリ)をエネルギー源および電気駆動チェーンとして使用する場合、ディーゼル燃料のエネルギー密度と比較してバッテリのエネルギー密度が低いため、同様の走行距離を達成するには、はるかに大きく重量のあるエネルギー蓄積装置を使用する必要がある。これは道路建設機を著しく大型化しない限り、限られた範囲でしか実現できないため、電動道路建設機が駆動可能な作業時間や作業量が大幅に減少する結果となる。バッテリをエネルギー源とする電動道路建設機の走行距離は限られているため、バッテリを交換するか、1回または複数回充電する必要がある。あるいは、充電済みのバッテリを搭載した別の道路建設機を代わりに使用できるように、バッテリ切れの道路建設機を建設現場から遠ざける必要がある。その結果、建設現場は短期的または長期的に中断される。これは、道路建設機のエネルギー効率にとって不利であるだけでなく(例えば、中断後にスクリードと材料コンベヤは再び温める必要がある)、舗装の品質にとっても不利である。中断により、スタートアップマーク(start-up marks)、材料分離、混合物の温度低下、圧縮の問題、さらには道路建設機の舗装材料の冷却と凝固が発生する可能性がある。
【発明の概要】
【発明が解決しようとする課題】
【0004】
公知の先行技術から、解決すべき技術的課題は、道路建設機、道路建設機に電気エネルギーを無線供給するシステム、または、上記の課題を解消するか軽減する道路建設機の運転方法を提供することである。具体的には、道路建設機の走行範囲および/または作動時間を増加させる必要がある(ここで、「および/または」はそれがつなぐ2つまたは3つ以上の要素の一つまたは両方あるいは全部を意味するものである)
【課題を解決するための手段】
【0005】
本発明によれば、この課題は、請求項1に記載の道路建設機、請求項9に記載の道路建設機に電気エネルギーを無線供給するシステム、または請求項14に記載の道路建設機を操作する方法によって解決される。
【0006】
本発明の好ましい実施形態は従属請求項に定義される。
【0007】
本発明の一態様によれば、道路建設機が提供される。道路建設機は、舗装材料から舗装層を製造する道路舗装機、または、道路舗装機に舗装材料を供給する供給車両である。道路建設機は、道路建設機を駆動するための電気駆動装置および/または少なくとも1つの電気消費装置を備える。道路建設機は、電気エネルギーの受信装置をさらに備える。受信装置は、外部送信装置から電気エネルギーを無線受信し、その電気エネルギーを電気駆動装置および/または電気消費装置に送信するように構成されている。これにより、道路建設機に、特にシンプルかつ信頼性の高い方法で電気エネルギーを供給することが可能になる。電気駆動装置および/または電気消費装置は、ケーブルを介して受信装置に接続される。電気駆動装置および/または電気消費装置は、受信装置によってエネルギーを直接供給される。これにより、特に、受信装置と、電気駆動装置および/または電気消費装置との間に蓄積装置の必要性がなくなる。具体的には、これにより道路建設機の重量を軽減する、および/または道路建設機を著しく小型化することが可能である。また、蓄積装置によって節約された空間を道路建設機の他の構成要素に使用することができる。理想的には、道路建設機の作動時間および/または走行範囲の拡張が実現可能である。蓄電装置を使用して道路建設機を作動させる必要がなく、特に、受信装置を介して道路建設機にエネルギーを直接供給可能であるため、蓄電装置の充電容量に依存せずに道路建設機を作動することが可能である。例えば、固定式充電ステーションへ道路建設機を運転し、そこで蓄電装置を充電する必要がなくなる。これにより、道路建設機を効率的に使用可能である。具体的には、道路建設機が舗装作業、特に、道路舗装機による舗装材料から舗装層の生成および/または供給車両による舗装材料の道路舗装機への供給を停止する必要がなくなる可能性がある。道路舗装機の舗装ユニット、例えば、スクリードや材料コンベヤなどは、通常、供給中断後に再加熱する必要があるため、本発明は、道路舗装機のエネルギー効率を任意に向上させることが可能である。また、舗装層の品質を向上させることが可能である。
【0008】
エネルギーは、例えば電磁誘導方式により無線送信可能である。この方法は、送信装置と受信装置との間に電磁場を設定し、これを介してエネルギーが送信される。送信装置は、電気エネルギーを電磁エネルギーに変換し、特に、バンドル形式で無線送信するように構成されている。受信装置は、電磁エネルギーを電気エネルギーに変換するように構成されている。送信装置および/または受信装置は、電流が流れることができるコイルを有することが可能である。
【0009】
電気駆動装置は燃料電池を含みうる。電気駆動装置に加えておよび/または電気駆動装置の代わりに、道路建設機を駆動するための内燃機関が設けることができる。駆動装置の選択は、道路建設機の用途の種類、場所、および/または使用期間によって異なる。電気駆動により、道路建設機は汚染物質を直接排出することなく運転可能である。理想的には、道路建設機は低騒音レベルで運転可能である。これは、道路建設機が限られた騒音や汚染物質しか放出できない場合、例えば、人口密集地やその近辺で道路建設機が運転される場合に特に有用である。電気駆動装置と比較すると、内燃機関は、比較的低コストで広範囲にわたって道路建設機の運転を可能にする。これは、騒音や汚染物質の制限要件がない場合、または中断することなく長距離にわたって道路建設機を運転する必要がある場合に特に有用である。
【0010】
電気消費装置は、道路建設機の使用に必要なあらゆる消費装置である。道路舗装機における電気消費装置として、例えば、電動照明システム、電動加熱装置、電動電気油圧装置、電動運転制御装置、操作および/または指示装置、電動縦方向コンベヤおよび/または電動横方向コンベヤなどがある。例えば、電気消費装置は、供給車両上の電動照明システム、舗装材料用の電動コンベヤシステム、および/または供給車両の電動加熱装置であってもよい。
(【0011】以降は省略されています)
この特許をJ-PlatPat(特許庁公式サイト)で参照する
関連特許
個人
折り畳み式標識具
3日前
GX株式会社
仮設防護体
25日前
北越消雪機械工業株式会社
消雪装置
3日前
株式会社熊谷組
床版接合構造
6日前
GX株式会社
昇降式仮設防護体
16日前
前田工繊株式会社
防護柵
18日前
株式会社熊谷組
床版継手装置、及び、床版
6日前
浅香工業株式会社
レーキ
13日前
中井商工株式会社
橋梁の桁端止水工法
6日前
株式会社幸和道路
自走式道路路面標示文字描画車両
24日前
株式会社三共
足場用移動屋根装置及び橋梁用足場
26日前
株式会社NIPPO
コンクリートスタッカ
2日前
株式会社NIPPO
法面機械
16日前
十武建設株式会社
舗装材吹付け装置、および吹付け施工方法
24日前
東日本旅客鉄道株式会社
横取り方法
2日前
共和ゴム株式会社
床版敷設シール材
1か月前
株式会社栗本鐵工所
検査路及びステップ
1か月前
株式会社NIPPO
法面作業装置
16日前
株式会社NIPPO
路面切削装置及び路面切削方法
1か月前
株式会社NIPPO
法面作業装置
16日前
五洋建設株式会社
床版部材設置装置及び床版部材の設置方法
24日前
株式会社NIPPO
コンクリート舗装の施工方法
6日前
株式会社NIPPO
半たわみ性舗装及びその施工方法
1か月前
大成建設株式会社
床版接合部の設計方法
6日前
株式会社NIPPO
再生アスファルト混合物の製造方法
24日前
株式会社NIPPO
コンクリート舗装及びその施工方法
6日前
株式会社NIPPO
再生アスファルト混合物の製造方法
24日前
株式会社NIPPO
再生アスファルト混合物の製造方法
1か月前
オリエンタル白石株式会社
床版設置高さ調整機構及び床版取替工法
1か月前
株式会社NIPPO
アスファルトフィニッシャ
27日前
住倉鋼材株式会社
新幹線路盤の突起用鉄筋ユニット並びにその製造方法及び装置
2日前
日鉄エンジニアリング株式会社
防草工法及び防草舗装構造
2日前
株式会社IHI
橋梁の管理方法および橋梁の管理装置
27日前
オリエンタル白石株式会社
床版切断装置の逸走防止構造及び床版撤去工法
1か月前
日本乾溜工業株式会社
舗装材色相設計装置及びプログラム、並びに舗装材製造方法
6日前
株式会社NICHIJO
凍結防止剤又は滑り止め剤の散布車
16日前
続きを見る
他の特許を見る