TOP
|
特許
|
意匠
|
商標
特許ウォッチ
Twitter
他の特許を見る
公開番号
2025136508
公報種別
公開特許公報(A)
公開日
2025-09-19
出願番号
2024035135
出願日
2024-03-07
発明の名称
凍結防止剤又は滑り止め剤の散布車
出願人
株式会社NICHIJO
代理人
弁理士法人有古特許事務所
主分類
E01H
10/00 20060101AFI20250911BHJP(道路,鉄道または橋りょうの建設)
要約
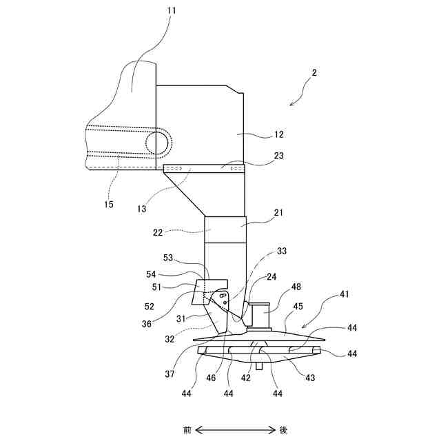
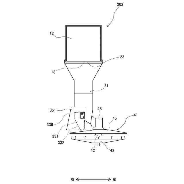
【課題】 ホッパから散布盤に供給される凍結防止剤又は滑り止め剤の通過を可動シュータの案内面上で固まった凍結防止剤又は滑り止め剤が阻害することを防止する凍結防止剤又は滑り止め剤の散布車を提供する。
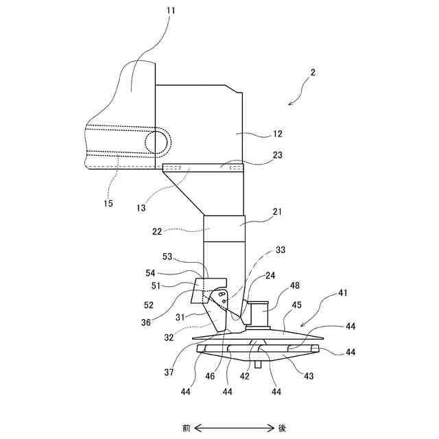
【解決手段】 凍結防止剤散布車は、通路22の下端24が車長方向において後輪91よりも後方にある固定シュータ21と、固定シュータ21の下方にある散布盤41と、通路22の下端24と散布盤41との間にあり、水平方向に延びる揺動軸線33まわりに第1角度位置A1と第2角度位置A2との間で揺動可能である可動シュータ31と、可動シュータ31の上端36の軌跡を成す軌跡面Pと固定シュータ21との間の隙間又は案内面32を前方から覆う側面部52を含むカバー51と、を備える。
【選択図】 図2
特許請求の範囲
【請求項1】
前輪及び後輪に支持される車体と、
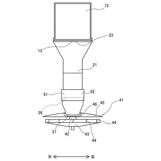
前記車体に搭載され、散布剤である凍結防止剤又は滑り止め剤を収容し、下方に開口する吐出口を有するホッパと、
前記ホッパに収容された前記散布剤を前記吐出口に投入するコンベヤと、
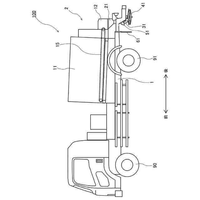
前記吐出口から吐出された前記散布剤の通路を含み、前記散布剤が排出される前記通路の下端が車長方向において前記後輪よりも後方にある固定シュータと、
上下方向に延びる回転軸を中心に回転可能であり、前記固定シュータの下方にある散布盤と、
前記通路の下端と前記散布盤との間にあり、前記通路の下端から排出された前記散布剤を前記散布盤に案内する案内面を有し、水平方向に延びる揺動軸線まわりに第1角度位置と第2角度位置との間で揺動可能である可動シュータと、
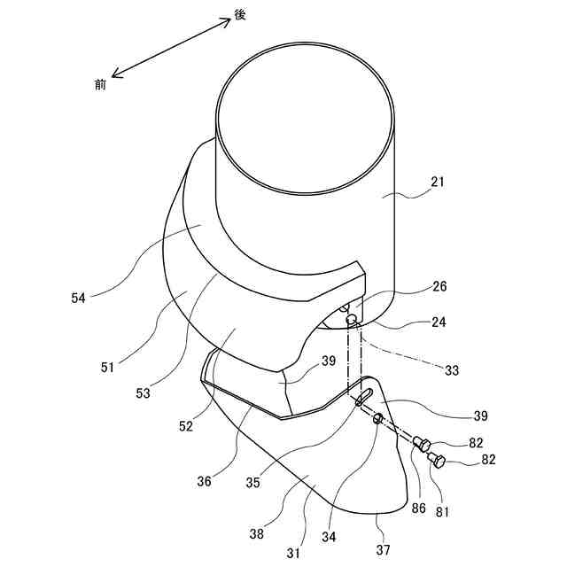
前記可動シュータの上端の軌跡を成す軌跡面と前記固定シュータとの間の隙間又は前記案内面を前方から覆う側面部を含むカバーと、を備える、凍結防止剤又は滑り止め剤の散布車。
続きを表示(約 780 文字)
【請求項2】
前記可動シュータの下端は、前記第2角度位置において前記第1角度位置よりも前記散布盤の前記回転軸に近い位置にある、請求項1に記載の凍結防止剤又は滑り止め剤の散布車。
【請求項3】
前記可動シュータは、前記固定シュータの前記通路の下端の下方の空間を前方から覆い、
前記側面部は、前記軌跡面と前記固定シュータとの間の隙間を前方から覆う、請求項1に記載の凍結防止剤又は滑り止め剤の散布車。
【請求項4】
前記可動シュータは、車長方向において、前記カバーと前記固定シュータとの間にある、請求項3に記載の凍結防止剤又は滑り止め剤の散布車。
【請求項5】
前記カバーは、前記側面部と前記固定シュータとの間の隙間を上方から覆う上面部を更に含む、請求項3に記載の凍結防止剤又は滑り止め剤の散布車。
【請求項6】
前記カバーは、前記後輪の後方にある、請求項1に記載の凍結防止剤又は滑り止め剤の散布車。
【請求項7】
車長方向において前記後輪の後方にあり、前記散布盤を前方から覆って車幅方向に延びる前方飛散防止体を更に備え、
前記カバーは、前記前方飛散防止体の後方にある、請求項1に記載の凍結防止剤又は滑り止め剤の散布車。
【請求項8】
前記可動シュータ及び前記カバーは、前記固定シュータに取り付けられている、請求項1に記載の凍結防止剤又は滑り止め剤の散布車。
【請求項9】
前記可動シュータを前記固定シュータに締結して車幅方向に延びる締結軸を有し、
前記締結軸は、前記可動シュータを前記固定シュータとの間に挟み込む頭部を有し、車両側面視において前記カバーから露出している、請求項1に記載の凍結防止剤又は滑り止め剤の散布車。
発明の詳細な説明
【技術分野】
【0001】
本開示は、凍結防止剤又は滑り止め剤の散布車に関する。
続きを表示(約 1,700 文字)
【背景技術】
【0002】
特許文献1に示す路面の凍結防止及び融雪、解氷のために、凍結防止剤等の散布を行う回転円盤式の凍結防止剤等散布車が知られている。
【0003】
この凍結防止剤等散布車は、ホッパの吐出口に固定された上部シュータと、その下端に屈折可能に連接された下部シュータと、回転円盤駆動部によって回転駆動される回転円盤とを備える。そして、ホッパから送り出された散布剤は、上部シュータ及び下部シュータによって導かれて回転円盤に落下し、回転円盤の回転運動の遠心力によって路面上に拡散して撒かれる。また、下部シュータの屈折角度を調整することにより、散布剤の散布幅を調整することができる。
【先行技術文献】
【特許文献】
【0004】
実開平4―70331号公報
【発明の概要】
【発明が解決しようとする課題】
【0005】
しかし、特許文献1に記載の凍結防止剤等散布車は、雪の水分に接触した凍結防止剤等が下部シュータの上で固まり、固まった凍結防止剤等がホッパから回転円盤に導かれる凍結防止剤等の通過を阻害する場合があった。
【課題を解決するための手段】
【0006】
上記課題を解決するため、本開示のある態様に係る凍結防止剤又は滑り止め剤の散布車は、前輪及び後輪に支持される車体と、前記車体に搭載され、散布剤である凍結防止剤又は滑り止め剤を収容し、下方に開口する吐出口を有するホッパと、前記ホッパに収容された前記散布剤を前記吐出口に投入するコンベヤと、前記吐出口から吐出された前記散布剤の通路を含み、前記散布剤が排出される前記通路の下端が車長方向において前記後輪よりも後方にある固定シュータと、上下方向に延びる回転軸を中心に回転可能であり、前記固定シュータの下方にある散布盤と、前記通路の下端と前記散布盤との間にあり、前記通路の下端から排出された前記散布剤を前記散布盤に案内する案内面を有し、水平方向に延びる揺動軸線まわりに第1角度位置と第2角度位置との間で揺動可能である可動シュータと、前記可動シュータの上端の軌跡を成す軌跡面と前記固定シュータとの間の隙間又は前記案内面を前方から覆う側面部を含むカバーと、を備える。
【0007】
この構成によれば、可動シュータと固定シュータとの間の隙間に入り込んだ雪の水分に接触した散布剤が可動シュータの案内面上で固まり、ホッパから散布盤に供給される散布剤の通過を可動シュータの案内面上で固まった散布剤が阻害することを防止することができる。
【発明の効果】
【0008】
本開示のある態様は、ホッパから散布盤に供給される散布剤の通過を可動シュータの案内面上で固まった散布剤が阻害することを防止することができるという効果を奏する。
【図面の簡単な説明】
【0009】
実施の形態1に係る凍結防止剤又は滑り止め剤の散布車の構成例を示す側面図である。
図1の散布車の散布装置の構成例を示す側面図である。
図1の散布車の散布装置の構成例を示す図であり、固定シュータ及びカバーを示す斜視図である。
図1の散布車の散布装置の構成例を示す図であり、散布装置の前面を示す図である。
図1の散布車の散布装置の構成例を示す図であり、図1の要部拡大図である。
実施の形態2に係る散布車の散布装置の構成例を示す側面図である。
実施の形態3に係る散布車の散布装置の構成例を示す図であり、散布装置の前面を示す図である。
【発明を実施するための形態】
【0010】
以下、実施の形態について、図面を参照しながら説明する。なお、以下の実施の形態によって本発明が限定されるものではない。また、以下では、全ての図を通じて、同一又は相当する要素には同一の参照符号を付して、その重複する説明を省略する。
(【0011】以降は省略されています)
この特許をJ-PlatPat(特許庁公式サイト)で参照する
関連特許
株式会社NICHIJO
凍結防止剤又は滑り止め剤の散布車
12日前
株式会社NICHIJO
凍結防止剤又は滑り止め剤の散布装置及び散布車、並びに散布盤を備える散布車のホッパに残留する散布剤の排出方法
20日前
積水樹脂株式会社
防音壁
1か月前
日本精機株式会社
路面投影装置
1か月前
GX株式会社
仮設防護体
21日前
積水樹脂株式会社
パネル連結構造
1か月前
範多機械株式会社
路面切削機
1か月前
株式会社熊谷組
床版接合構造
2日前
GX株式会社
昇降式仮設防護体
12日前
GX株式会社
仮設防護体連結構造
1か月前
前田工繊株式会社
防護柵
14日前
株式会社熊谷組
床版継手装置、及び、床版
2日前
中井商工株式会社
橋梁の桁端止水工法
2日前
浅香工業株式会社
レーキ
9日前
株式会社幸和道路
自走式道路路面標示文字描画車両
20日前
株式会社トップ
立て看板用スロープおよび立て看板
1か月前
株式会社三共
足場用移動屋根装置及び橋梁用足場
22日前
十武建設株式会社
舗装材吹付け装置、および吹付け施工方法
20日前
株式会社NIPPO
法面機械
12日前
株式会社栗本鐵工所
検査路及びステップ
29日前
酒井重工業株式会社
振動ローラ
1か月前
株式会社大林組
新設床版の設置工法
1か月前
共和ゴム株式会社
床版敷設シール材
26日前
株式会社NIPPO
路面切削装置及び路面切削方法
1か月前
日本環境アメニティ株式会社
吊下げ式減音装置及び高架橋
1か月前
株式会社NIPPO
アスファルト温度表示装置
1か月前
株式会社NIPPO
法面作業装置
12日前
株式会社NIPPO
法面作業装置
12日前
株式会社NIPPO
コンクリート舗装の施工方法
2日前
五洋建設株式会社
床版部材設置装置及び床版部材の設置方法
20日前
ベルテクス株式会社
壁高欄部材及び壁高欄
1か月前
株式会社NIPPO
半たわみ性舗装及びその施工方法
1か月前
大成建設株式会社
床版接合部の設計方法
2日前
オリエンタル白石株式会社
床版設置高さ調整機構及び床版取替工法
1か月前
株式会社奥村組
鉄筋コンクリート柱の補強工法
1か月前
株式会社NIPPO
再生アスファルト混合物の製造方法
20日前
続きを見る
他の特許を見る