TOP
|
特許
|
意匠
|
商標
特許ウォッチ
Twitter
他の特許を見る
10個以上の画像は省略されています。
公開番号
2025145187
公報種別
公開特許公報(A)
公開日
2025-10-03
出願番号
2024045243
出願日
2024-03-21
発明の名称
配線基板および導電層の製造方法
出願人
日本特殊陶業株式会社
代理人
個人
,
個人
主分類
H05K
1/02 20060101AFI20250926BHJP(他に分類されない電気技術)
要約
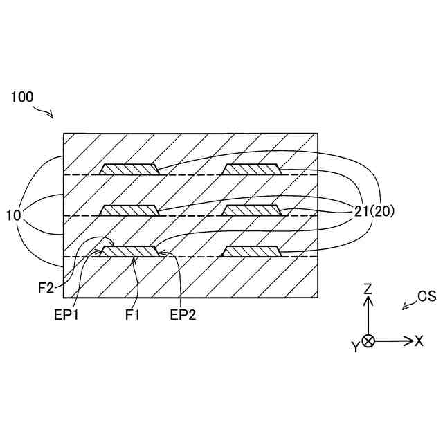
【課題】配線基板が備える導電体膜の平滑性および膜厚の均一性を向上させる。
【解決手段】配線基板は、基材と、基材の内側に配置され、導電性を有する導電体膜と、を備え、導電体膜の厚さの変動係数は、0.05以下である。
【選択図】図1
特許請求の範囲
【請求項1】
配線基板であって、
基材と、
前記基材の内側に配置され、導電性を有する導電体膜と、
を備え、
前記導電体膜の厚さの変動係数は、0.05以下であることを特徴とする、配線基板。
続きを表示(約 540 文字)
【請求項2】
請求項1に記載の配線基板であって、
前記導電体膜の平均の厚さは、0.5μm以上30μm以下であることを特徴とする、配線基板。
【請求項3】
請求項1に記載の配線基板であって、
前記導電体膜の原料粉末の平均粒径は、0.5μm以上4.0μm以下であることを特徴とする、配線基板。
【請求項4】
請求項1に記載の配線基板であって、
前記導電体膜は、厚さ方向において一対の主面を有し、
焼成前の前記一対の主面のそれぞれの表面粗さRzは、1.6μm以下であることを特徴とする、配線基板。
【請求項5】
導電層の製造方法であって、
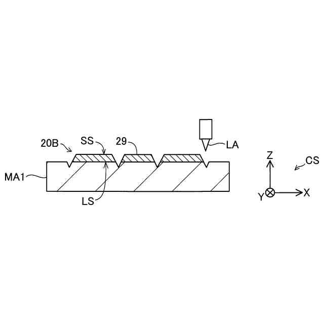
第1基材に、平均粒径が0.5μm以上4.0μm以下の金属粉を含む導電ペーストを塗工して導電ペースト層を形成する塗工工程と、
前記導電ペースト層にレーザー光を照射することにより、前記導電ペースト層の形状を加工するレーザー加工工程と、
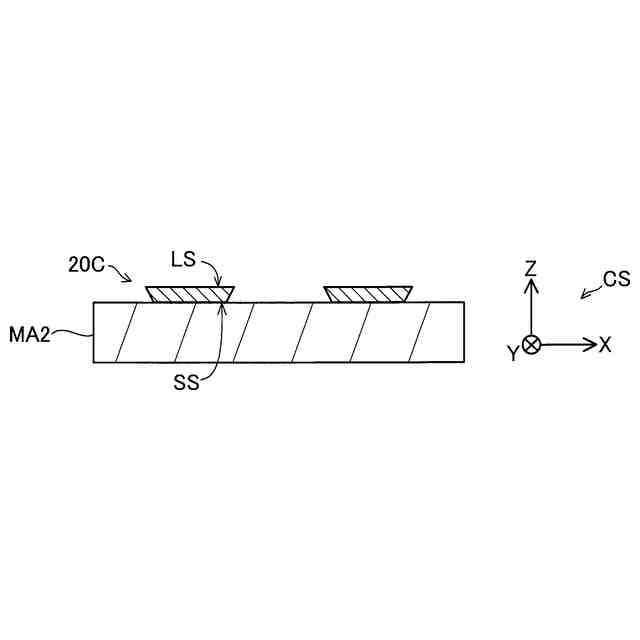
前記第1基材に形成された前記導電ペースト層を、第2基材に転写する第1転写工程と、
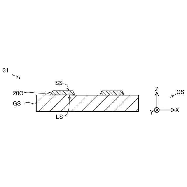
前記第2基材に転写された前記導電ペースト層を、グリーンシートに転写する第2転写工程と、
を備える、製造方法。
発明の詳細な説明
【技術分野】
【0001】
本発明は、配線基板および導電層の製造方法に関する。
続きを表示(約 1,800 文字)
【背景技術】
【0002】
従来、電子部品等における金属配線のパターニング手法として、スクリーンマスクを用いた印刷手法、フォトリソグラフィ、およびレーザーパターニング手法等が知られている(例えば、特許文献1~4参照)。特許文献1には、光の反射率を低下させる反射防止膜が形成されたスクリーン印刷用版が記載されている。特許文献2には、高精度かつ微細なパターニングを可能にした配線構造体の製造方法が記載されている。特許文献3には、レーザー加工技術を利用したパターニングプロセスが記載されている。特許文献4には、グリーンシートよりも表面接着力が弱い中間転写材を用いて、グリーンシートから中間転写材へと金属メッキ膜を転写させる製造方法について記載されている。
【先行技術文献】
【特許文献】
【0003】
特開2007-334058号公報
特開2017-224645号公報
特開2021-111744号公報
特開2008-130607号公報
【発明の概要】
【発明が解決しようとする課題】
【0004】
部品の小型化や精密な温度制御のため、より高精度かつ均一な膜厚を形成可能なパターニング手法が求められている。特許文献1に記載された、いわゆる従来のスクリーン印刷手法では、低コストでパターニングが可能である。一方で、印刷時にニジミやカスレ等が発生して、製造される導電体の膜厚の均一性は高くない。特許文献2に記載された製造方法は、高精度かつ微細なパターニングを実行できるものの、複雑なプロセスを要するため、高コストでプロセスに長い時間を要する。また、プロセスで生じる薬液の破棄処理等の課題や製造される膜厚の均一化にも向上の余地がある。特許文献3に記載されたレーザー加工を用いたパターニングでは、比較的簡易なプロセスで高精度かつ安定した断面形状を有する配線が形成される。平滑なPET(Poly Ethylene Terephthalate)に接していた面が転写後に導電体の膜表面として表れるため、スクリーン印刷と比較して平滑性の高い表面が形成される。しかしながら、PETに接していない面の平滑性はそれほど高くはない。特許文献4には、グリーンシートと中間転写材との2回にわたる転写により金メッキ膜の両面の平滑性が向上しているが、転写のプロセスおよび平滑性のさらなる向上の改善の余地がある。
【0005】
本発明は、上述した課題の少なくとも一部を解決するためになされたものであり、配線基板が備える導電体膜の平滑性および膜厚の均一性を向上させることを目的とする。
【課題を解決するための手段】
【0006】
本発明は、上述した課題の少なくとも一部を解決するためになされたものであり、以下の形態として実現できる。
【0007】
(1)本発明の一形態によれば、配線基板が提供される。この配線基板は、基材と、前記基材の内側に配置され、導電性を有する導電体膜と、を備え、前記導電体膜の厚さの変動係数は、0.05以下である。
【0008】
この構成によれば、導電体膜の厚さの変動係数が0.05以下、すなわち、膜厚の均一性および平滑性が向上した導電体膜を備える配線基板が提供される。導電体膜の膜厚の均一性および平滑性が向上することにより、部品の小型化や精密な温度制御に用いられる配線基板が提供される。
【0009】
(2)上記形態の配線基板において、前記導電体膜の平均の厚さは、0.5μm以上30μm以下であってもよい。
この構成によれば、膜厚の均一性および平滑性が向上した上に、さらに、導電体膜の平均の厚さが0.5μm以上30μm以下に制御されている。これにより、部品の小型化や精密な温度制御に対して、さらに好適な配線基板が提供される。
【0010】
(3)上記形態の配線基板において、前記導電体膜の原料粉末の平均粒径は、0.5μm以上4.0μm以下であってもよい。
この構成によれば、導電体膜の原料として一般的に使用される0.5μm以上4.0μm以下の原料粉末を用いて、膜厚の均一性および平滑性が向上した導電体膜が製造される。
(【0011】以降は省略されています)
この特許をJ-PlatPat(特許庁公式サイト)で参照する
関連特許
日本特殊陶業株式会社
電極
8日前
日本特殊陶業株式会社
電極
8日前
日本特殊陶業株式会社
電極
8日前
日本特殊陶業株式会社
電極
8日前
日本特殊陶業株式会社
センサ
1日前
日本特殊陶業株式会社
センサ
1日前
日本特殊陶業株式会社
センサ
1日前
日本特殊陶業株式会社
センサ
1日前
日本特殊陶業株式会社
センサ
1日前
日本特殊陶業株式会社
保持装置
12日前
日本特殊陶業株式会社
保持装置
10日前
日本特殊陶業株式会社
保持装置
8日前
日本特殊陶業株式会社
保持装置
8日前
日本特殊陶業株式会社
圧電発音体
1日前
日本特殊陶業株式会社
超音波発生装置
12日前
日本特殊陶業株式会社
超音波発生装置
12日前
日本特殊陶業株式会社
セラミック部品
2日前
日本特殊陶業株式会社
セラミックヒータ
9日前
日本特殊陶業株式会社
マイクロリアクタ
12日前
日本特殊陶業株式会社
セラミックヒータ
9日前
日本特殊陶業株式会社
ホットモジュール
2日前
日本特殊陶業株式会社
ホットモジュール
2日前
日本特殊陶業株式会社
セラミックヒータ
12日前
日本特殊陶業株式会社
圧電セラミック積層体
9日前
日本特殊陶業株式会社
ガスセンサの製造方法
3日前
日本特殊陶業株式会社
圧電セラミック積層体
1日前
日本特殊陶業株式会社
圧電素子およびその利用
12日前
日本特殊陶業株式会社
圧電素子およびその利用
12日前
日本特殊陶業株式会社
金属有機構造体、および賦形体
4日前
日本特殊陶業株式会社
積層圧電セラミック素子及び装置
12日前
日本特殊陶業株式会社
積層圧電セラミック素子及び装置
12日前
日本特殊陶業株式会社
積層圧電セラミック素子及び装置
12日前
日本特殊陶業株式会社
配線基板および導電層の製造方法
8日前
日本特殊陶業株式会社
配線基板および導電層の製造方法
8日前
日本特殊陶業株式会社
海洋無脊椎動物の陸上養殖システム
8日前
日本特殊陶業株式会社
セラミックヒータ及び液体加熱装置
9日前
続きを見る
他の特許を見る