TOP
|
特許
|
意匠
|
商標
特許ウォッチ
Twitter
他の特許を見る
公開番号
2025144501
公報種別
公開特許公報(A)
公開日
2025-10-02
出願番号
2024180510
出願日
2024-10-16
発明の名称
セラミックヒータ及び液体加熱装置
出願人
日本特殊陶業株式会社
代理人
個人
主分類
H05B
3/44 20060101AFI20250925BHJP(他に分類されない電気技術)
要約
【課題】被加熱液体の流れを阻害することなく、加熱効率を向上させることができるセラミックヒータ及び液体加熱装置を提供する。
【解決手段】液体加熱用のセラミックヒータ100であって、発熱抵抗体13を有し、軸線O方向に延びる柱状のセラミック体10と、セラミック体の表面から突出して前記軸線方向に延び、セラミック体より熱伝導率が大きい放熱フィン20と、を備え、放熱フィンは、セラミック体の周方向に離間して複数設けられると共に、軸線方向に延びることを特徴とする。
【選択図】図1
特許請求の範囲
【請求項1】
液体加熱用のセラミックヒータであって、
発熱抵抗体を有し、軸線方向に延びる柱状のセラミック体と、
前記セラミック体の表面から突出して前記軸線方向に延び、前記セラミック体より熱伝導率が大きい放熱フィンと、
を備え、
前記放熱フィンは、前記軸線方向に延びることを特徴とするセラミックヒータ。
続きを表示(約 890 文字)
【請求項2】
前記放熱フィンは、前記セラミック体の周方向に離間して複数設けられる請求項1に記載のセラミックヒータ。
【請求項3】
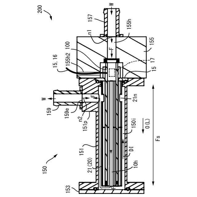
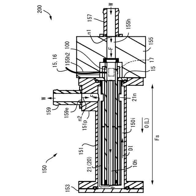
内部空間と、前記内部空間に連通する導入口及び排出口と、を有する容器と、
前記軸線方向に延び、前記発熱抵抗体が前記内部空間内に位置する請求項1又は2に記載のセラミックヒータと、
を備える液体加熱装置であって、
液体が前記導入口から導入され、前記内部空間を通って、前記排出口まで流れる流路において、前記セラミックヒータによって前記液体を加熱すると共に、
前記放熱フィンは前記流路の少なくとも一部に臨み、
前記流路のうち、前記放熱フィンが臨む部位を対象流路としたとき、前記対象流路における流れ方向は、前記軸線方向に45度未満の角度で沿うことを特徴とする液体加熱装置。
【請求項4】
前記セラミック体は、前記軸線方向に沿う貫通孔を有し、
前記貫通孔の一端側が前記導入口に連通するとともに、前記貫通孔の他端側が前記内部空間に臨み、
前記流路は、前記導入口から前記貫通孔を通って、前記セラミック体の先端側で前記セラミック体の外面側へ出た後に前記内部空間の壁面で折り返して後端側へ向かい、前記セラミック体の外面に沿って前記排出口まで流れるように規定され、
前記対象流路は、前記流路のうち少なくとも前記セラミック体の先端から前記排出口に至る部位で規定されることを特徴とする請求項3に記載の液体加熱装置。
【請求項5】
前記排出口が前記内部空間に臨む開口端の軸心は、前記軸線方向と交差し、
前記放熱フィンのうち、前記軸線方向に前記開口端と重なる部位には、周方向に繋がる切り欠き部が形成されていることを特徴とする請求項3又は4に記載の液体加熱装置。
【請求項6】
前記放熱フィンは、前記セラミック体の外面に加え、前記セラミック体の前記貫通孔の内面を覆うように取り付けられてなることを特徴とする請求項4に記載の液体加熱装置。
発明の詳細な説明
【技術分野】
【0001】
本発明は、例えば電気自動車の空調又はバッテリの加熱保温等に用いられる液体加熱用のセラミックヒータ及び液体加熱装置に関する。
続きを表示(約 1,600 文字)
【背景技術】
【0002】
電気自動車の空調またはバッテリの加熱保温のため、クーラント液等の媒体をセラミックヒータで加熱するシステムが検討されている。特に、寒冷地ではバッテリの性能が低下するため、バッテリの加熱保温が重要になっている。
【0003】
このセラミックヒータは、芯材となる筒状又は柱状のセラミック管の外周に、セラミック層を巻き付けた構造となっていて、セラミック層にヒータパターンが形成されている(特許文献1参照)。そして、ヒータパターンに通電加熱することで、セラミックヒータが発熱するようになっている。
また、セラミックヒータの外面側に放熱フィンを取り付け、エアヒータの温風発生特性を向上させた技術が知られている(特許文献2参照)。
【先行技術文献】
【特許文献】
【0004】
特開2019-133762号公報
特開平2-94384号公報
【発明の概要】
【発明が解決しようとする課題】
【0005】
しかしながら、特許文献2記載のヒータはエアヒータでありヒータの周囲の液体の流れを考慮していない。そのため、このエアヒータを液体加熱に用いると、液体の加熱効率を向上できるが、ヒータの周囲の液体の流れ方向と、放熱フィンの延びる方向との関係によっては、ヒータの周囲の液体の流れを妨げてしまう。
従って、本発明は、被加熱液体の流れを阻害することなく、加熱効率を向上させることができるセラミックヒータ及び液体加熱装置の提供を目的とする。
【課題を解決するための手段】
【0006】
上記課題を解決するため、本発明のセラミックヒータは、液体加熱用のセラミックヒータであって、発熱抵抗体を有し、軸線方向に延びる柱状のセラミック体と、前記セラミック体の表面から突出して前記軸線方向に延び、前記セラミック体より熱伝導率が大きい放熱フィンと、を備え、前記放熱フィンは、前記軸線方向に延びることを特徴とする。
【0007】
このセラミックヒータによれば、放熱フィンは、軸線方向に延びる。そこで、セラミックヒータを、液体の容器の内部空間内に、液体の流れ方向が軸線方向に45度未満の角度で沿うように設置すれば、セラミックヒータの周囲の液体の流れ方向が、放熱フィンの延びる方向(=軸線方向)に沿うので、放熱フィンに沿って液体が抵抗なくスムーズに流れ、流れを阻害することなく、被加熱液体の加熱効率を向上させることができる。
【0008】
本発明のセラミックヒータにおいて、前記放熱フィンは、前記セラミック体の周方向に離間して複数設けられていてもよい。
このセラミックヒータによれば、放熱フィンが複数設けられるので、被加熱液体の加熱効率をさらに向上させることができる。
【0009】
本発明の液体加熱装置は、内部空間と、前記内部空間に連通する導入口及び排出口と、を有する容器と、軸線方向に延び、発熱抵抗体が内部空間内に位置する請求項1に記載のセラミックヒータと、を備える液体加熱装置であって、液体が導入口から導入され、内部空間を通って、排出口まで流れる流路において、セラミックヒータによって液体を加熱すると共に、放熱フィンは流路の少なくとも一部に臨み、流路のうち、放熱フィンが臨む部位を対象流路としたとき、対象流路における流れ方向は、軸線方向に45度未満の角度で沿うことを特徴とする。
【0010】
この液体加熱装置によれば、容器内の液体の対象流路における流れ方向が、放熱フィンの延びる方向(=軸線方向)に沿うので、放熱フィンに沿って液体が抵抗なくスムーズに流れ、流れを阻害することなく、被加熱液体の加熱効率を向上させることができる。
(【0011】以降は省略されています)
この特許をJ-PlatPat(特許庁公式サイト)で参照する
関連特許
日本特殊陶業株式会社
保持装置
3日前
日本特殊陶業株式会社
保持装置
1日前
日本特殊陶業株式会社
保持部材
13日前
日本特殊陶業株式会社
樹脂成形体
13日前
日本特殊陶業株式会社
抗菌処理装置
13日前
日本特殊陶業株式会社
超音波発生装置
3日前
日本特殊陶業株式会社
超音波発生装置
3日前
日本特殊陶業株式会社
セラミックヒータ
3日前
日本特殊陶業株式会社
セラミックヒータ
今日
日本特殊陶業株式会社
セラミックヒータ
今日
日本特殊陶業株式会社
マイクロリアクタ
3日前
日本特殊陶業株式会社
圧電セラミック積層体
21日前
日本特殊陶業株式会社
圧電セラミック積層体
今日
日本特殊陶業株式会社
限界電流式ガスセンサ
15日前
日本特殊陶業株式会社
圧電セラミック積層体
21日前
日本特殊陶業株式会社
圧電素子およびその利用
3日前
日本特殊陶業株式会社
圧電素子およびその利用
3日前
日本特殊陶業株式会社
セラミック部材の製造方法
13日前
日本特殊陶業株式会社
積層圧電セラミック素子及び装置
3日前
日本特殊陶業株式会社
積層圧電セラミック素子及び装置
3日前
日本特殊陶業株式会社
積層圧電セラミック素子及び装置
3日前
日本特殊陶業株式会社
セラミックヒータ及び液体加熱装置
今日
日本特殊陶業株式会社
ヒータの製造方法及びガスセンサの製造方法
7日前
日本特殊陶業株式会社
積層圧電セラミック部品、およびそれを備える装置
3日前
日本特殊陶業株式会社
積層圧電セラミック部品、およびそれを備える装置
3日前
日本特殊陶業株式会社
モルタル又はコンクリート、及びそれを用いた構造体
13日前
日本特殊陶業株式会社
保持装置
1日前
日本特殊陶業株式会社
セラミックス焼結体、ベアリングボール、および、切削工具
13日前
日本特殊陶業株式会社
セラミックス焼結体、ベアリングボール、および、切削工具
13日前
日本特殊陶業株式会社
セラミックス焼結体、ベアリングボール、および、切削工具
13日前
日本特殊陶業株式会社
セラミックヒータの制御装置、加熱装置、および、プログラム
今日
日本特殊陶業株式会社
セルスタック、セルスタックシステムの製造方法、ホットモジュール、及び、ガス製造装置
13日前
日本特殊陶業株式会社
固体電解質の製造方法、セパレータの製造方法、電極の製造方法および蓄電デバイスの製造方法
22日前
日本特殊陶業株式会社
セルスタックモジュール、セルスタックの故障検知システム、及び、セルスタックの故障検知方法
15日前
日本特殊陶業株式会社
非接触給電用コイル、送電装置、受電装置、電力伝送システム、及び非接触給電用コイルの製造方法
6日前
日本特殊陶業株式会社
電気化学単セル、インターコネクタ接合体、セルスタック、ホットモジュール、及び、ガス製造装置
3日前
続きを見る
他の特許を見る