TOP
|
特許
|
意匠
|
商標
特許ウォッチ
Twitter
他の特許を見る
公開番号
2025141064
公報種別
公開特許公報(A)
公開日
2025-09-29
出願番号
2024040808
出願日
2024-03-15
発明の名称
積層圧電セラミック素子及び装置
出願人
日本特殊陶業株式会社
代理人
個人
主分類
C04B
35/495 20060101AFI20250919BHJP(セメント;コンクリート;人造石;セラミックス;耐火物)
要約
【課題】高温、高電界で長時間使用しても高い絶縁性を有し、安価で無鉛の積層圧電セラミック素子及びそれを使用した装置を提供する。
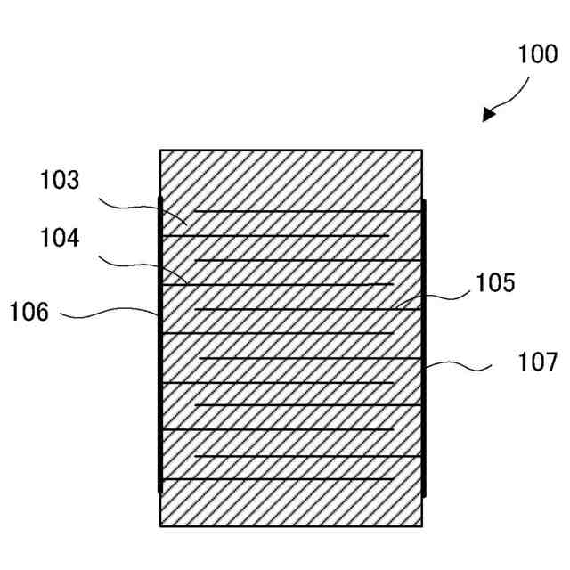
【解決手段】Niを主成分とする内部電極104、105と、ニオブ酸アルカリ系ペロブスカイト型酸化物を含む主相及び前記ニオブ酸アルカリ系ペロブスカイト型酸化物とは異なる酸化物を含む副相からなる圧電セラミック層103と、が交互に積層された積層圧電セラミック素子100であって、前記ニオブ酸アルカリ系ペロブスカイト型酸化物は、Niを含有し、前記副相の酸化物は、Mn及びTiを含有する積層圧電セラミック素子100。
【選択図】図1
特許請求の範囲
【請求項1】
Niを主成分とする内部電極と、ニオブ酸アルカリ系ペロブスカイト型酸化物を含む主相及び前記ニオブ酸アルカリ系ペロブスカイト型酸化物とは異なる酸化物を含む副相からなる圧電セラミック層と、が交互に積層された積層圧電セラミック素子であって、
前記ニオブ酸アルカリ系ペロブスカイト型酸化物は、Niを含有し、
前記副相の酸化物は、Mn及びTiを含有することを特徴とする積層圧電セラミック素子。
続きを表示(約 820 文字)
【請求項2】
前記ニオブ酸アルカリ系ペロブスカイト型酸化物に含有されるNiは、1.5mol%以下であることを特徴とする請求項1に記載の積層圧電セラミック素子。
【請求項3】
前記ニオブ酸アルカリ系ペロブスカイト型酸化物は、更にCu又はAgの少なくとも一方を含有することを特徴とする請求項1又は請求項2に記載の積層圧電セラミック素子。
【請求項4】
前記ニオブ酸アルカリ系ペロブスカイト型酸化物に含有されるCu又はAgは、それぞれ0.5mol%以下であることを特徴とする請求項3に記載の積層圧電セラミック素子。
【請求項5】
前記ニオブ酸アルカリ系ペロブスカイト型酸化物の主成分は、組成式(K
1-a-b
Na
a
M
b
)
c
(Nb
1-d-e-f
Mn
d
Zr
e
Ti
f
)O
3+g
(但し、元素MはBa、Ca、Srのうち少なくとも1種であり、0≦a≦1.0、0≦b≦1.0、0<a+b≦1.0であり、cは0.8≦c≦1.2を満たし、0≦d≦0.3、0≦e≦0.3、0≦f≦0.3、0≦d+e+f<0.5であり、gは酸素の欠損あるいは過剰を示す値)で表されることを特徴とする請求項1又は請求項2に記載の積層圧電セラミック素子。
【請求項6】
前記副相の酸化物は、少なくともMn-Ti-O系酸化物を含むことを特徴とする請求項1又は請求項2に記載の積層圧電セラミック素子。
【請求項7】
請求項1又は請求項2に記載の積層圧電セラミック素子を備える、装置。
【請求項8】
アクチュエータ、ハプティクス、ブザー、及び超音波センサからなる群より選択される、請求項7に記載の装置。
発明の詳細な説明
【技術分野】
【0001】
本発明は、電圧の印加により変位する積層圧電セラミック素子及びそれを使用した装置に関する。
続きを表示(約 1,200 文字)
【背景技術】
【0002】
近年、小型かつ低電圧でも高変位で駆動することのできる積層型の圧電セラミックアクチュエータが注目されている。一般的な積層圧電セラミック素子は、環境に悪影響を及ぼす鉛を含んだPZT系(チタン酸ジルコン酸鉛系)の圧電セラミックおよび、内部電極に高価なPtやPdを含んでいる。
【0003】
そのため、環境負荷が低く低コストな積層圧電セラミック部品が求められている。そこで、安価な卑金属であるNiを主成分とした無鉛積層圧電セラミックが提案されている(特許文献1、2参照)。
【先行技術文献】
【特許文献】
【0004】
特許第5862983号公報
特許第6094682号公報
【発明の概要】
【発明が解決しようとする課題】
【0005】
アクチュエータにおいては、高電界下(例えば、5kV/mm)で長時間の使用が求められる場合があるため、こうした高電界下における過酷な条件下でも高い絶縁性を維持する必要がある。
【0006】
例えば、特許文献1、特許文献2には、Niを主成分とする内部電極とニオブ酸アルカリ系ペロブスカイト型酸化物を主成分とする圧電セラミック層とが交互に積層された積層圧電セラミック素子が提案されている。しかしながら、高電界下における耐久性については考慮されていない。
【0007】
本発明は、このような事情に鑑みてなされたものであり、高電界下で長時間使用しても高い絶縁性を有し、安価で無鉛の積層圧電セラミック素子及びそれを使用した装置を提供することを目的とする。
【課題を解決するための手段】
【0008】
(1)上記の目的を達成するため、本発明の積層圧電セラミック素子は、以下の手段を講じた。すなわち、本発明の適用例の積層圧電セラミック素子は、Niを主成分とする内部電極と、ニオブ酸アルカリ系ペロブスカイト型酸化物を含む主相及び前記ニオブ酸アルカリ系ペロブスカイト型酸化物とは異なる酸化物を含む副相からなる圧電セラミック層と、が交互に積層された積層圧電セラミック素子であって、前記ニオブ酸アルカリ系ペロブスカイト型酸化物は、Niを含有し、前記副相の酸化物は、Mn及びTiを含有する。
【0009】
(2)また、上記(1)の適用例の積層圧電セラミック素子において、前記ニオブ酸アルカリ系ペロブスカイト型酸化物に含有されるNiは、1.5mol%以下である。
【0010】
(3)また、上記(1)又は(2)の適用例の積層圧電セラミック素子において、前記ニオブ酸アルカリ系ペロブスカイト型酸化物は、更にCu又はAgの少なくとも一方を含有する。
(【0011】以降は省略されています)
この特許をJ-PlatPat(特許庁公式サイト)で参照する
関連特許
日本特殊陶業株式会社
保持装置
2日前
日本特殊陶業株式会社
保持装置
今日
日本特殊陶業株式会社
保持部材
12日前
日本特殊陶業株式会社
樹脂成形体
12日前
日本特殊陶業株式会社
抗菌処理装置
12日前
日本特殊陶業株式会社
超音波発生装置
2日前
日本特殊陶業株式会社
超音波発生装置
2日前
日本特殊陶業株式会社
セラミックヒータ
2日前
日本特殊陶業株式会社
マイクロリアクタ
2日前
日本特殊陶業株式会社
限界電流式ガスセンサ
14日前
日本特殊陶業株式会社
圧電セラミック積層体
20日前
日本特殊陶業株式会社
圧電セラミック積層体
20日前
日本特殊陶業株式会社
圧電素子およびその利用
2日前
日本特殊陶業株式会社
圧電素子およびその利用
2日前
日本特殊陶業株式会社
セラミック部材の製造方法
12日前
日本特殊陶業株式会社
非水電解液および電気化学素子
21日前
日本特殊陶業株式会社
積層圧電セラミック素子及び装置
2日前
日本特殊陶業株式会社
積層圧電セラミック素子及び装置
2日前
日本特殊陶業株式会社
積層圧電セラミック素子及び装置
2日前
日本特殊陶業株式会社
電極用組成物、電極および電気化学素子
21日前
日本特殊陶業株式会社
ヒータの製造方法及びガスセンサの製造方法
6日前
日本特殊陶業株式会社
積層圧電セラミック部品、およびそれを備える装置
2日前
日本特殊陶業株式会社
積層圧電セラミック部品、およびそれを備える装置
2日前
日本特殊陶業株式会社
固体電解質、イオン伝導体、シート及び蓄電デバイス
21日前
日本特殊陶業株式会社
モルタル又はコンクリート、及びそれを用いた構造体
12日前
日本特殊陶業株式会社
固体電解質、イオン伝導体、シート及び蓄電デバイス
21日前
日本特殊陶業株式会社
保持装置
今日
日本特殊陶業株式会社
セラミックス焼結体、ベアリングボール、および、切削工具
12日前
日本特殊陶業株式会社
セラミックス焼結体、ベアリングボール、および、切削工具
12日前
日本特殊陶業株式会社
セラミックス焼結体、ベアリングボール、および、切削工具
12日前
日本特殊陶業株式会社
半導体基板処理用基台、基板保持部材、およびその製造方法
23日前
日本特殊陶業株式会社
非水電解液の製造方法、非水電解液を製造する装置および精製器
21日前
日本特殊陶業株式会社
固体電解質、イオン伝導体、シート、電極、セパレータ及び蓄電デバイス
21日前
日本特殊陶業株式会社
セルスタック、セルスタックシステムの製造方法、ホットモジュール、及び、ガス製造装置
12日前
日本特殊陶業株式会社
固体電解質の製造方法、セパレータの製造方法、電極の製造方法および蓄電デバイスの製造方法
21日前
日本特殊陶業株式会社
固体電解質の製造方法、セパレータの製造方法、電極の製造方法および蓄電デバイスの製造方法
21日前
続きを見る
他の特許を見る