TOP
|
特許
|
意匠
|
商標
特許ウォッチ
Twitter
他の特許を見る
10個以上の画像は省略されています。
公開番号
2025145186
公報種別
公開特許公報(A)
公開日
2025-10-03
出願番号
2024045242
出願日
2024-03-21
発明の名称
配線基板および導電層の製造方法
出願人
日本特殊陶業株式会社
代理人
個人
,
個人
主分類
H05K
1/02 20060101AFI20250926BHJP(他に分類されない電気技術)
要約
【課題】配線パターンに発生するクラックが抑制された配線基板を提供する。
【解決手段】配線基板は、基材と、基材の内側に配置され、導電性を有する導電体膜であって、一対の主面と、一対の主面のそれぞれの端部をつなぐ端面部と、を有する導電体膜と、を備え、導電体膜は、導電体膜の厚さ方向に沿った断面において、一対の主面のうちの一方の主面に沿った第1仮想線と、端面部のうちの一方の主面に接続する部分に沿った第2仮想線とが成す角度と、一対の主面のうちの他方の主面に沿った第3仮想線と、端面部のうちの他方の主面に接続する部分に沿った第4仮想線とが成す角度と、の少なくとも一方が45度以上90度以下である。
【選択図】図2
特許請求の範囲
【請求項1】
配線基板であって、
基材と、
前記基材の内側に配置され、導電性を有する導電体膜であって、一対の主面と、前記一対の主面のそれぞれの端部をつなぐ端面部と、を有する導電体膜と、
を備え、
前記導電体膜は、前記導電体膜の厚さ方向に沿った断面において、
前記一対の主面のうちの一方の主面に沿った第1仮想線と、前記端面部のうちの前記一方の主面に接続する部分に沿った第2仮想線とが成す角度と、
前記一対の主面のうちの他方の主面に沿った第3仮想線と、前記端面部のうちの前記他方の主面に接続する部分に沿った第4仮想線とが成す角度と、
の少なくとも一方が45度以上90度以下であることを特徴とする、配線基板。
続きを表示(約 730 文字)
【請求項2】
請求項1に記載の配線基板であって、
前記導電体膜の厚さ方向に沿った前記基材および前記導電体膜の断面において、前記導電体膜の前記端面部のうち、前記第1仮想線に沿った方向において、前記第1仮想線と前記第2仮想線との交点である第1交点から最も遠い部分に接し、かつ、前記第1仮想線に直交する仮想線を第5仮想線とすると、
前記基材は、
前記第1交点と、
前記第3仮想線と前記第4仮想線との交点である第2交点と、
前記第3仮想線と前記第5仮想線との交点である第3交点と、
前記第5仮想線と前記第1仮想線との交点である第4交点と、
によって囲まれた領域を20ヶ所用意した場合に、前記20ヶ所の領域のうち、ボイドが存在している領域は1ヶ所以下であることを特徴とする、配線基板。
【請求項3】
導電層の製造方法であって、
第1基材に、金属粉を含む導電ペーストを塗工して導電ペースト層を形成する塗工工程と、
前記導電ペースト層にレーザー光を照射することにより、前記導電ペースト層の形状を加工するレーザー加工工程と、
前記第1基材に形成された前記導電ペースト層を、第2基材に転写する第1転写工程と、
前記第2基材に転写された前記導電ペースト層を、グリーンシートに転写する第2転写工程と、
を備える、製造方法。
【請求項4】
請求項3に記載の製造方法であって、
前記第1基材から前記導電ペースト層が剥離される場合の剥離強度は、前記第2基材から前記導電ペースト層が剥離される場合の剥離強度よりも小さいことを特徴とする、製造方法。
発明の詳細な説明
【技術分野】
【0001】
本発明は、配線基板および導電層の製造方法に関する。
続きを表示(約 2,700 文字)
【背景技術】
【0002】
従来、電子部品等における金属配線のパターニング手法として、スクリーンマスクを用いた印刷プロセスが知られている(例えば、特許文献1参照)。特許文献1には、レーザー加工により配線パターンを形成する導電層の製造方法が開示されている。この製造方法では、ポリエチレンテレフタレート(PET:Polyethylene terephthalate)に印刷されたベタ電極に対し、レーザーにより配線パターンが加工される。そして、余剰部が(剥離工程等により)除去された後、ベタ電極が所望のグリーンシート上に転写される。
【先行技術文献】
【特許文献】
【0003】
特開2020-064999号公報
【発明の概要】
【発明が解決しようとする課題】
【0004】
部品の小型化や精密な温度制御のため、より微細かつ高精度のパターニング手法が求められる場合がある。特許文献1に記載された製造方法を用いることにより、フォトリソ等を用いた手法に比べて簡易なプロセスで、高精度なパターニングが可能である。しかしながら、この製造方法では、基材上に逆台形形状の断面を有する形で導電層が形成されるため、積層時の圧力により配線パターンにクラックが発生するおそれがあった。
【0005】
本発明は、上述した課題の少なくとも一部を解決するためになされたものであり、配線パターンに発生するクラックが抑制された配線基板を提供することを目的とする。
【課題を解決するための手段】
【0006】
本発明は、上述した課題の少なくとも一部を解決するためになされたものであり、以下の形態として実現できる。
【0007】
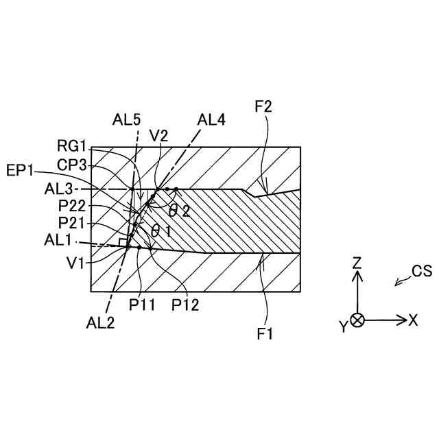
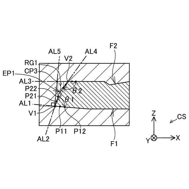
(1)本発明の一形態によれば、配線基板が提供される。この配線基板は、配線基板であって、基材と、前記基材の内側に配置され、導電性を有する導電体膜であって、一対の主面と、前記一対の主面のそれぞれの端部をつなぐ端面部と、を有する導電体膜と、を備え、前記導電体膜は、前記導電体膜の厚さ方向に沿った断面において、前記一対の主面のうちの一方の主面に沿った第1仮想線と、前記端面部のうちの前記一方の主面に接続する部分に沿った第2仮想線とが成す角度と、前記一対の主面のうちの他方の主面に沿った第3仮想線と、前記端面部のうちの前記他方の主面に接続する部分に沿った第4仮想線とが成す角度と、の少なくとも一方が45度以上90度以下である。
【0008】
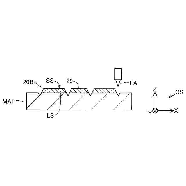
この構成によれば、レーザー加工により形成された導電体膜は、一対の主面の内の一方からレーザー光が照射されて所定の形状に加工される。レーザー光による加工後の導電体膜の断面は、レーザーが照射された側が短辺となる台形形状に加工される。レーザー光による加工後の導電体膜に、積層時の圧力を加えると、クラックが発生して台形形状の断面の長辺側の端部が破損する場合がある。破損が発生すると、長辺LSの端部である鋭角部分が欠けるため、積層後の配線基板において、欠けに起因したボイドが発生するおそれがある。この点について、本構成では、導電体膜において、第1仮想線と第2仮想線とが成す角度と、第3仮想線と第4仮想線とが成す角度との少なくとも一方が45度以上の鋭角である。断面が台形形状の長辺の端部に、積層時の圧力により欠けが発生すると、上記2つの角度の両方が90度以上の角度となる。すなわち、本構成の導電体膜は、レーザー加工時の台形形状が維持されており、欠けが発生していない。また、欠けが発生していないため、本構成では、欠ける前の状態のクラックの発生が抑制され、欠けやクラックに起因して基材の内部で発生するボイドの発生が抑制されている。よって、本構成により、配線パターンに発生するクラックが抑制された配線基板が提供される。
【0009】
(2)上記形態の配線基板において、前記導電体膜の厚さ方向に沿った前記基材および前記導電体膜の断面において、前記導電体膜の前記端面部のうち、前記第1仮想線に沿った方向において、前記第1仮想線と前記第2仮想線との交点である第1交点から最も遠い部分に接し、かつ、前記第1仮想線に直交する仮想線を第5仮想線とすると、前記基材は、前記第1交点と、前記第3仮想線と前記第4仮想線との交点である第2交点と、前記第3仮想線と前記第5仮想線との交点である第3交点と、前記第5仮想線と前記第1仮想線との交点である第4交点と、によって囲まれた領域を20ヶ所用意した場合に、前記20ヶ所の領域のうち、ボイドが存在している領域は1ヶ所以下であってもよい。
この構成によれば、第1交点と、第2交点と、第3交点と、第4交点とで囲まれた領域が20ヶ所用意された場合に、ボイドが存在している領域が1ヶ所以下である。すなわち、積層時の圧力によって発生したクラックに起因したボイドの発生確率が5%以下である。そのため、配線基板の基材の内部で、導電体膜の近くに発生するボイドが少ないため、配線基板の性能が向上する。
【0010】
(3)本発明の他の一形態によれば、導電層の製造方法が提供される。この製造方法は、第1基材に、金属粉を含む導電ペーストを塗工して導電ペースト層を形成する塗工工程と、前記導電ペースト層にレーザー光を照射することにより、前記導電ペースト層の形状を加工するレーザー加工工程と、前記第1基材に形成された前記導電ペースト層を、第2基材に転写する第1転写工程と、前記第2基材に転写された前記導電ペースト層を、グリーンシートに転写する第2転写工程と、を備える。
この構成によれば、第1基材上に形成され、レーザー加工工程後の導電ペースト層の断面は、第1基材側に長辺を有する台形形状に加工されている。そのため、第2基材に転写された第1転写工程後の導電ペースト層の断面は、第2基材側に短辺を有する台形形状である。そして、第2基材からグリーンシートに転写された第2転写工程後の導電ペースト層の断面は、グリーンシート側に長辺を有する台形形状である。本構成と異なり、グリーンシート側に短辺が位置する状態で、グリーンシートおよび導電ペースト層の上側から、異なるグリーンシートなどが積層されて圧力が加えられると、導電ペースト層の上側の一部にクラックが発生するおそれがある。それに対して、本構成では、圧力が加えられる側に導電ペースト層の台形形状の短辺が位置するため、導電ペースト層に発生するクラックが抑制される。
(【0011】以降は省略されています)
この特許をJ-PlatPat(特許庁公式サイト)で参照する
関連特許
日本特殊陶業株式会社
電極
5日前
日本特殊陶業株式会社
電極
5日前
日本特殊陶業株式会社
電極
5日前
日本特殊陶業株式会社
電極
5日前
日本特殊陶業株式会社
保持部材
19日前
日本特殊陶業株式会社
保持装置
1か月前
日本特殊陶業株式会社
保持装置
5日前
日本特殊陶業株式会社
保持装置
5日前
日本特殊陶業株式会社
回収装置
1か月前
日本特殊陶業株式会社
保持装置
7日前
日本特殊陶業株式会社
保持装置
1か月前
日本特殊陶業株式会社
配線基板
1か月前
日本特殊陶業株式会社
保持装置
9日前
日本特殊陶業株式会社
樹脂成形体
19日前
日本特殊陶業株式会社
抗菌処理装置
19日前
日本特殊陶業株式会社
スパークプラグ
1か月前
日本特殊陶業株式会社
スパークプラグ
1か月前
日本特殊陶業株式会社
超音波発生装置
9日前
日本特殊陶業株式会社
超音波発生装置
9日前
日本特殊陶業株式会社
セラミックヒータ
6日前
日本特殊陶業株式会社
セラミックヒータ
9日前
日本特殊陶業株式会社
セラミックヒータ
6日前
日本特殊陶業株式会社
マイクロリアクタ
9日前
日本特殊陶業株式会社
圧電セラミック積層体
27日前
日本特殊陶業株式会社
圧電セラミック積層体
27日前
日本特殊陶業株式会社
限界電流式ガスセンサ
21日前
日本特殊陶業株式会社
セラミックスサセプタ
1か月前
日本特殊陶業株式会社
ガスセンサの製造方法
今日
日本特殊陶業株式会社
圧電セラミック積層体
6日前
日本特殊陶業株式会社
圧電素子およびその利用
9日前
日本特殊陶業株式会社
圧電素子およびその利用
9日前
日本特殊陶業株式会社
セラミック部材の製造方法
19日前
日本特殊陶業株式会社
非水電解液および電気化学素子
28日前
日本特殊陶業株式会社
金属有機構造体、および賦形体
1日前
日本特殊陶業株式会社
配線基板および導電層の製造方法
5日前
日本特殊陶業株式会社
積層圧電セラミック素子及び装置
9日前
続きを見る
他の特許を見る