TOP
|
特許
|
意匠
|
商標
特許ウォッチ
Twitter
他の特許を見る
公開番号
2025144585
公報種別
公開特許公報(A)
公開日
2025-10-03
出願番号
2024044297
出願日
2024-03-20
発明の名称
海洋無脊椎動物の陸上養殖システム
出願人
日本特殊陶業株式会社
代理人
弁理士法人真明センチュリー
主分類
A01K
63/04 20060101AFI20250926BHJP(農業;林業;畜産;狩猟;捕獲;漁業)
要約
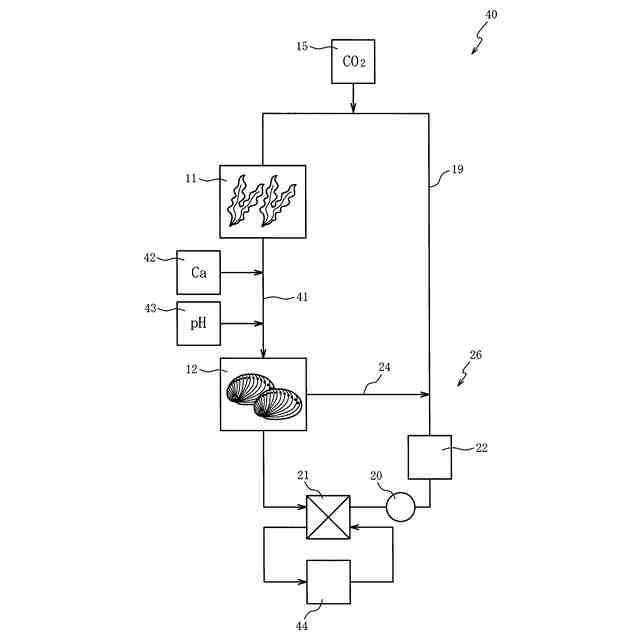
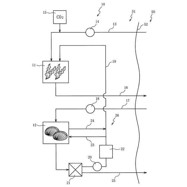
【課題】天然海藻に依存しない低コストな海洋無脊椎動物の陸上養殖システムを提供する。
【解決手段】陸上養殖システムは、海水を用いて海洋無脊椎動物の餌となる海藻を養殖する餌用水槽と、海水を用いて海洋無脊椎動物を育成する育成水槽と、大気中の二酸化炭素濃度よりも高濃度の二酸化炭素を含むガスを餌用水槽の海水に供給するガス供給装置と、を備える。
【選択図】図1
特許請求の範囲
【請求項1】
海洋無脊椎動物の陸上養殖システムであって、
海水を用いて前記海洋無脊椎動物の餌となる海藻を養殖する餌用水槽と、
海水を用いて前記海洋無脊椎動物を育成する育成水槽と、
大気中の二酸化炭素濃度よりも高濃度の二酸化炭素を含むガスを前記餌用水槽の前記海水に供給するガス供給装置と、を備える陸上養殖システム。
続きを表示(約 270 文字)
【請求項2】
前記ガスは、排気ガス源から排出される排気ガス又は大気中の二酸化炭素を分離精製して得られたガスである請求項1記載の陸上養殖システム。
【請求項3】
前記育成水槽の前記海水のpHを、前記餌用水槽の前記海水のpHよりも高くする請求項1又は2に記載の陸上養殖システム。
【請求項4】
前記育成水槽の排水の一部を前記餌用水槽に供給する排水供給装置をさらに備える請求項1又は2に記載の陸上養殖システム。
【請求項5】
前記海洋無脊椎動物は貝類である請求項1又は2に記載の陸上養殖システム。
発明の詳細な説明
【技術分野】
【0001】
本発明は海洋無脊椎動物の陸上養殖システムに関する。
続きを表示(約 1,000 文字)
【背景技術】
【0002】
天然海藻や配合飼料を餌としてアワビ類等の海洋無脊椎動物の養殖が行われている。海洋無脊椎動物の養殖は、育成カゴを湾内に吊るして行う海面養殖と、内陸のコンクリート水槽などに海水を引き入れて行う陸上養殖と、がある。アワビ類の陸上養殖では、アワビ類の稚貝を水槽に入れ、餌料を与え出荷サイズになるまで育成を行う。アワビ類の養殖に使用される餌料は、天然海藻および市販の配合飼料がある。
【先行技術文献】
【特許文献】
【0003】
特開2020-145984号公報
【発明の概要】
【発明が解決しようとする課題】
【0004】
天然海藻は安価なため餌料として多く利用される。しかし、天然海藻はウニやガンガゼの食害に起因する磯焼けにより資源量が低下しており安定供給に不安がある。一方、配合飼料は入手が容易だがコストが高く、また、残渣によって水質が低下するという問題点があり、換水頻度が多くなるために陸上養殖のコスト高の一因となっている。
【0005】
本発明はこの問題点を解決するためになされたものであり、天然海藻に依存しない低コストな海洋無脊椎動物の陸上養殖システムの提供を目的とする。
【課題を解決するための手段】
【0006】
この目的を達成するための第1の態様は、海水を用いて海洋無脊椎動物の餌となる海藻を養殖する餌用水槽と、海水を用いて海洋無脊椎動物を育成する育成水槽と、大気中の二酸化炭素濃度よりも高濃度の二酸化炭素を含むガスを餌用水槽の海水に供給するガス供給装置と、を備える。
【0007】
第2の態様は、第1の態様において、ガスは、排気ガス源から排出される排気ガス又は大気中の二酸化炭素を分離精製して得られたガスである。
【0008】
第3の態様は、第1又は第2の態様において、育成水槽の海水のpHを、餌用水槽の海水のpHよりも高くする。
【0009】
第4の態様は、第1から第3の態様のいずれかにおいて、育成水槽の排水の一部を餌用水槽に供給する排水供給装置をさらに備える。
【0010】
第5の態様は、第1から第4の態様のいずれかにおいて、海洋無脊椎動物は貝類である。
【発明の効果】
(【0011】以降は省略されています)
この特許をJ-PlatPat(特許庁公式サイト)で参照する
関連特許
日本特殊陶業株式会社
電極
2日前
日本特殊陶業株式会社
電極
2日前
日本特殊陶業株式会社
電極
2日前
日本特殊陶業株式会社
電極
2日前
日本特殊陶業株式会社
保持部材
16日前
日本特殊陶業株式会社
保持装置
2日前
日本特殊陶業株式会社
保持装置
2日前
日本特殊陶業株式会社
保持装置
6日前
日本特殊陶業株式会社
保持装置
4日前
日本特殊陶業株式会社
超音波発生装置
6日前
日本特殊陶業株式会社
超音波発生装置
6日前
日本特殊陶業株式会社
セラミックヒータ
3日前
日本特殊陶業株式会社
セラミックヒータ
6日前
日本特殊陶業株式会社
セラミックヒータ
3日前
日本特殊陶業株式会社
マイクロリアクタ
6日前
日本特殊陶業株式会社
圧電セラミック積層体
3日前
日本特殊陶業株式会社
圧電素子およびその利用
6日前
日本特殊陶業株式会社
圧電素子およびその利用
6日前
日本特殊陶業株式会社
セラミック部材の製造方法
16日前
日本特殊陶業株式会社
配線基板および導電層の製造方法
2日前
日本特殊陶業株式会社
配線基板および導電層の製造方法
2日前
日本特殊陶業株式会社
積層圧電セラミック素子及び装置
6日前
日本特殊陶業株式会社
積層圧電セラミック素子及び装置
6日前
日本特殊陶業株式会社
積層圧電セラミック素子及び装置
6日前
日本特殊陶業株式会社
セラミックヒータ及び液体加熱装置
3日前
日本特殊陶業株式会社
海洋無脊椎動物の陸上養殖システム
2日前
日本特殊陶業株式会社
ヒータの製造方法及びガスセンサの製造方法
10日前
日本特殊陶業株式会社
積層圧電セラミック部品、およびそれを備える装置
6日前
日本特殊陶業株式会社
積層圧電セラミック部品、およびそれを備える装置
6日前
日本特殊陶業株式会社
モルタル又はコンクリート、及びそれを用いた構造体
16日前
日本特殊陶業株式会社
保持装置
4日前
日本特殊陶業株式会社
セラミックス焼結体、ベアリングボール、および、切削工具
16日前
日本特殊陶業株式会社
セラミックス焼結体、ベアリングボール、および、切削工具
16日前
日本特殊陶業株式会社
セラミックス焼結体、ベアリングボール、および、切削工具
16日前
日本特殊陶業株式会社
セラミックヒータの制御装置、加熱装置、および、プログラム
3日前
日本特殊陶業株式会社
電気化学単セル、セルスタック、ホットモジュール、及び、ガス製造装置
2日前
続きを見る
他の特許を見る