TOP
|
特許
|
意匠
|
商標
特許ウォッチ
Twitter
他の特許を見る
公開番号
2025145336
公報種別
公開特許公報(A)
公開日
2025-10-03
出願番号
2024045454
出願日
2024-03-21
発明の名称
梱包箱およびそれを用いた蓄電池ユニット梱包構造
出願人
ニチコン株式会社
代理人
弁理士法人みのり特許事務所
主分類
B65D
5/12 20060101AFI20250926BHJP(運搬;包装;貯蔵;薄板状または線条材料の取扱い)
要約
【課題】被包装物に損傷を与えることなく、簡単に取り出して設置することができる梱包箱を提供する。
【解決手段】蓄電池ユニット10を支持する下箱110と、蓄電池ユニット10を覆うように下箱110に被せられる上箱120とを備えた梱包箱100。下箱110の下箱本体には、上端から下方に延びる一対の第1下箱切取線115a、115bと、上端から下方に延びる一対の第2下箱切取線116a、116bが設けられており、上箱120の上箱本体には、下端から上方に延びる一対の第1上箱切取線125a、125bと、下端から上方に延びる一対の第2上箱切取線126a、126bが設けられている。各切取線を破断することによってフラップを形成することができ、各フラップを開くことによって内部を横切るように運搬用具の挿通が可能な貫通部を形成する第1孔および第2孔が形成される。
【選択図】図1
特許請求の範囲
【請求項1】
被包装製品を支持する下箱と、
前記被包装製品を覆うように前記下箱に被せられる上箱とを備えており、
前記下箱は、筒状の下箱本体と、その下端を閉じる底面とを有し、
前記上箱は、前記下箱本体と一部が重なる筒状の上箱本体を有し、
前記下箱本体と前記上箱本体とが重ねられた状態において、内部を横切るように運搬用具の挿通が可能な貫通部を形成する第1孔および第2孔が少なくとも前記上箱本体によって構成されており、
前記貫通部に挿通された前記運搬用具により前記上箱に覆われた前記被包装製品を前記下箱から分離可能となっている梱包箱。
続きを表示(約 540 文字)
【請求項2】
前記下箱本体には、開口している上端から下方に延びる一対の第1下箱切取線と、開口している上端から下方に延びる一対の第2下箱切取線が設けられており、
前記上箱本体には、開口している下端から上方に延びる一対の第1上箱切取線と、開口している下端から上方に延びる一対の第2上箱切取線が設けられており、
それぞれ前記第1下箱切取線、前記第2下箱切取線、前記第1上箱切取線および前記第2上箱切取線を破断することによって第1下箱フラップ、第2下箱フラップ、第1上箱フラップおよび第2上箱フラップを形成することができ、
前記第1下箱フラップおよび前記第1上箱フラップを開くことによって前記第1孔が形成される一方、前記第2下箱フラップおよび前記第2上箱フラップを開くことによって前記第2孔が形成される、
請求項1記載の梱包箱。
【請求項3】
前記下箱本体と前記上箱本体とがそれぞれ切り欠かれることにより前記第1孔および前記第2孔が形成されている
請求項1記載の梱包箱。
【請求項4】
前記被包装製品として蓄電池ユニットと、請求項1ないし3のいずれかに記載の梱包箱とを備えた蓄電池ユニット梱包構造。
発明の詳細な説明
【技術分野】
【0001】
本発明は、重量のある被包装製品を梱包する梱包箱およびそれを用いた蓄電池ユニット梱包構造に関する。
続きを表示(約 2,400 文字)
【背景技術】
【0002】
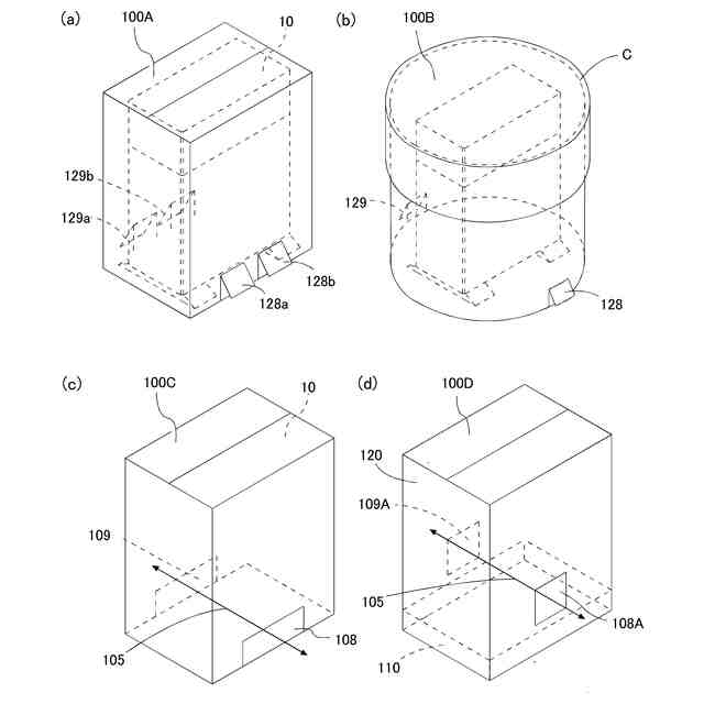
重量のある被包装製品を梱包する梱包箱としては、有底筒状で上端が開口したA型の梱包箱と、被包装製品を支持する下箱および被包装製品を覆う上箱からなるC型の梱包箱とが一般的に知られている。
【0003】
例えば、特許文献1には、A型の梱包箱であって、外箱と、その外箱と収容する精密機器との間に介在させる内側材とからなり、外箱の側面が観音開き可能となっており、かつ、内側材に精密機器を固定する精密機器用梱包箱が開示されている。この精密機器用梱包箱は、外箱の側面を開放して、内側材の取っ手を用いて内側材ごと精密機器を取り出すことができる。また特許文献2には、表面下部にフォークリフト爪の挿入が可能な爪孔が形成されたA型の梱包箱が開示されている。
一方、特許文献3には、C型の梱包箱であって、包装箱本体と、その底部開口を覆う底部材とからなり、取手孔や、包装箱本体と底部材とを連結するための挿入片および挿入口が形成された梱包箱が開示されている。さらに、特許文献4には、上部包装箱と、下部包装箱とからなり、上部包装箱と下部包装箱の下端にフォークリフト用の切欠き部が形成された電子機器用梱包箱が開示されている。
【先行技術文献】
【特許文献】
【0004】
特開2015-101367号公報
特開2021-31156号公報
特開2012-76820号公報
特開平11-301740号公報
【発明の概要】
【発明が解決しようとする課題】
【0005】
しかし、上記梱包箱は、フォークリフト等による運搬を考慮しているものの、被包装製品を梱包箱より完全に取り出した後、被包装製品を設置位置まで運んで設置することになる。その場合、設置位置までの移動の際、被包装製品に傷等の損傷を与えてしまう可能性がある。そのため、通常、被包装製品に発泡シート等で保護する養生を施して設置位置まで運んでいる。なお、C型の梱包箱の場合、製品を取り出した後、再び上箱を製品に被せることが考えられるが、緩衝材等の取り付けも再度行わなければならず、作業は煩雑である。
本発明はこのような事情を鑑みて開発されたものであり、梱包箱内の被包装物に損傷を与えることなく、簡単に取り出して設置することができる梱包箱および梱包構造を提供することを目的としている。
【課題を解決するための手段】
【0006】
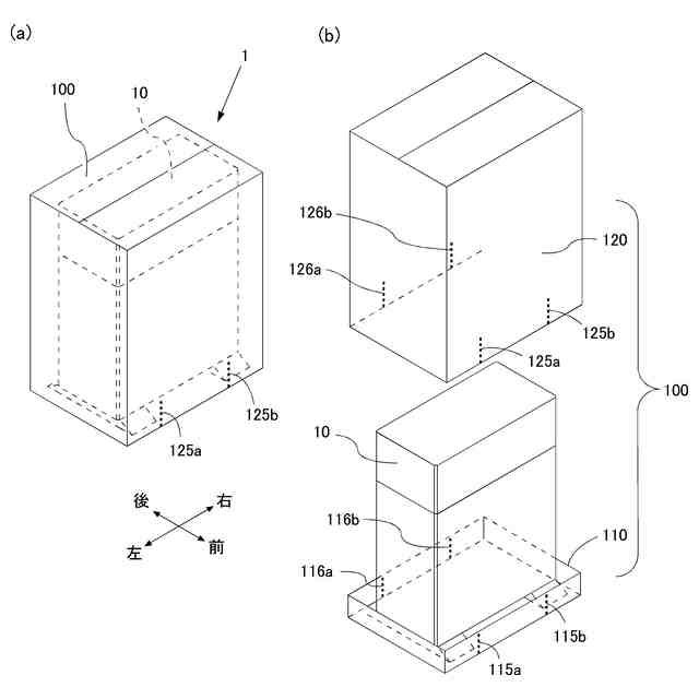
本発明の梱包箱は、被包装製品を支持する下箱と、前記被包装製品を覆うように前記下箱に被せられる上箱とを備えており、前記下箱は、筒状の下箱本体と、その下端を閉じる底面とを有し、前記上箱は、前記下箱本体と一部が重なる筒状の上箱本体を有し、前記下箱本体と前記上箱本体とが重ねられた状態において、内部を横切るように運搬用具の挿通が可能な貫通部を形成する第1孔および第2孔が少なくとも前記上箱本体によって構成されており、前記貫通部に挿通された前記運搬用具により前記上箱に覆われた前記被包装製品を前記下箱から分離可能となっていることを特徴としている。
【0007】
本発明の梱包箱は、下箱本体と上箱本体とが重ねられた状態において、貫通部を形成する第1孔(第2孔)から第2孔(第1孔)に向かって運搬用具を通すことにより、運搬用具を梱包箱の内部に横切らせることができる。つまり、梱包箱に収納された被包装製品の下側に運搬用具を通すことができる。そして、この運搬用具を用いて上箱に覆われた被包装製品を持ち上げるだけで、下箱から上箱および被包装製品を取り出すことができる。このように被包装製品を上箱に取り付けた状態で取り出すことができるため、被包装製品に上箱を取り付けた状態で設置位置までの運ぶことができる。つまり、被包装製品を梱包箱から取り出した後、被包装製品に移動のための養生を別途行う必要がない。最後に設置位置まで移動して被包装製品を載置した後、上箱を取り外すことにより、簡単に被包装製品を設置することができる。なお、運搬用具として、ロープ、バンド、ベルト等を用いることができる。
【0008】
本発明の梱包箱であって、前記下箱本体には、開口している上端から下方に延びる一対の第1下箱切取線と、開口している上端から下方に延びる一対の第2下箱切取線が設けられており、前記上箱本体には、開口している下端から上方に延びる一対の第1上箱切取線と、開口している下端から上方に延びる一対の第2上箱切取線が設けられており、それぞれ前記第1下箱切取線、前記第2下箱切取線、前記第1上箱切取線および前記第2上箱切取線を破断することによって第1下箱フラップ、第2下箱フラップ、第1上箱フラップおよび第2上箱フラップを形成することができ、前記第1下箱フラップおよび前記第1上箱フラップを開くことによって前記第1孔が形成される一方、前記第2下箱フラップおよび前記第2上箱フラップを開くことによって前記第2孔が形成されるものが好ましい。
この場合、各切取線を破断して各フラップを開くことにより、梱包箱の下部に貫通部を形成することができる。
【0009】
本発明の梱包箱であって、前記下箱本体と前記上箱本体とがそれぞれ切り欠かれることにより前記第1孔および前記第2孔が形成されているものが好ましい。
本発明の蓄電池ユニット梱包構造は、前記被包装製品として蓄電池ユニットと、本発明の梱包箱とを備えたことを特徴としている。
【発明の効果】
【0010】
本発明の梱包箱は、現場において、重量のある被包装製品を簡単に取り出すことができ、かつ、取り出した後、設置位置までの被包装物の運送を上箱で保護した状態で行うことができる。
【図面の簡単な説明】
(【0011】以降は省略されています)
この特許をJ-PlatPat(特許庁公式サイト)で参照する
関連特許
ニチコン株式会社
組電池
6日前
ニチコン株式会社
二次電池検査装置
今日
ニチコン株式会社
AC入力検出回路
4日前
ニチコン株式会社
機器設置用基礎ブロック
19日前
ニチコン株式会社
梱包箱およびそれを用いた蓄電池ユニット梱包構造
4日前
個人
箱
12か月前
個人
ゴミ箱
11か月前
個人
収容箱
2か月前
個人
コンベア
4か月前
個人
段ボール箱
6か月前
個人
容器
8か月前
個人
ゴミ収集器
6か月前
個人
段ボール箱
6か月前
個人
楽ちんハンド
4か月前
個人
土嚢運搬器具
7か月前
個人
バンド
1か月前
個人
角筒状構造体
4か月前
個人
パウチ補助具
11か月前
個人
宅配システム
6か月前
個人
閉塞装置
9か月前
個人
コード類収納具
7か月前
個人
お薬の締結装置
5か月前
個人
廃棄物収容容器
2か月前
個人
包装容器
18日前
個人
ゴミ処理機
8か月前
個人
把手付米袋
3か月前
個人
蓋閉止構造
3か月前
株式会社和気
包装用箱
8か月前
個人
蓋閉止構造
3か月前
株式会社コロナ
梱包材
4か月前
個人
貯蔵サイロ
6か月前
個人
積み重ね用補助具
2か月前
個人
袋入り即席麺
6か月前
株式会社新弘
容器
11か月前
株式会社新弘
容器
11か月前
個人
介護用コップ
1か月前
続きを見る
他の特許を見る