TOP
|
特許
|
意匠
|
商標
特許ウォッチ
Twitter
他の特許を見る
10個以上の画像は省略されています。
公開番号
2025145374
公報種別
公開特許公報(A)
公開日
2025-10-03
出願番号
2024045516
出願日
2024-03-21
発明の名称
媒体処理装置及び画像形成システム
出願人
株式会社リコー
代理人
弁理士法人武和国際特許事務所
主分類
B65H
37/04 20060101AFI20250926BHJP(運搬;包装;貯蔵;薄板状または線条材料の取扱い)
要約
【課題】サブタンクの液体量に応じた、液体付与可能状態への移行時間を変更可能とする媒体処理装置を提供する。
【解決手段】少なくとも一枚の媒体の一部に液体付与をする液体付与手段と、液体付与手段において液体付与をされた少なくとも一枚の媒体を含む媒体束に所定の処理を施す媒体処理手段と、液体付与手段による液体付与に用いられる液体を貯留する貯液部と、貯液部に配置された液体検知手段と、液体検知手段からの情報に基づいて液体付与手段による媒体への液体付与を可能にする液体付与可能状態にするための、当該液体付与手段への当該液体の供給動作を制御する制御手段と、を備え、制御手段は、液体検知手段が検知した貯液部の液体量に基づいて、液体付与可能状態への移行時間を変更する、媒体処理装置による。
【選択図】図18
特許請求の範囲
【請求項1】
少なくとも一枚の媒体の一部に液体付与をする液体付与手段と、
前記液体付与手段において液体付与をされた少なくとも一枚の前記媒体を含む媒体束に所定の処理を施す媒体処理手段と、
前記液体付与手段による液体付与に用いられる液体を貯留する貯液部と、
前記貯液部に配置された液体検知手段と、
前記液体検知手段からの情報に基づいて前記液体付与手段による前記媒体への液体付与を可能にする液体付与可能状態にするための、当該液体付与手段への当該液体の供給動作を制御する制御手段と、
を備え、
前記制御手段は、前記液体検知手段が検知した前記貯液部の液体量に基づいて、前記液体付与可能状態への移行時間を変更する、
ことを特徴とする媒体処理装置。
続きを表示(約 520 文字)
【請求項2】
前記制御手段は、前記液体量が所定量以上の場合、即時に、前記液体付与可能状態へ移行するように前記移行時間を変更する、
請求項1に記載の媒体処理装置。
【請求項3】
前記制御手段は、前記液体量が所定量未満の場合、所定時間を待機した後において前記液体付与可能状態へ移行するように前記移行時間を変更する、
請求項1に記載の媒体処理装置。
【請求項4】
前記制御手段は、前記液体量を、前記供給動作における供給時間を、予め設定した時間と比較することで判断する、
請求項1に記載の媒体処理装置。
【請求項5】
ユーザの操作により、前記予め設定した時間を任意に変更可能な入力手段を備え、
前記制御手段は、前記入力手段からの入力値に基づいて前記予め設定した時間を設定する、
請求項4に記載の媒体処理装置。
【請求項6】
媒体に画像を形成する画像形成装置と、
前記画像形成装置によって画像が形成された複数の前記媒体に対し前記所定の処理を施す請求項1に記載の媒体処理装置と、
を備えることを特徴とする画像形成システム。
発明の詳細な説明
【技術分野】
【0001】
本発明は、媒体処理装置及び画像形成システムに関する。
続きを表示(約 2,600 文字)
【背景技術】
【0002】
シート状の媒体を積み重ねたシート束を綴る媒体処理装置が知られている。当該媒体処理装置に適用可能である綴じ処理には複数のものが知られている。例えば、シート束に針状の部材(綴じ部材)を貫通させて綴る「針綴じ処理」や、シート束の一部を加圧変形させて綴る「圧着綴じ処理」などが知られている。
【0003】
圧着綴じ処理を行なうにあたり、加圧する前のシート束(シート束を形成する各シートの場合も含む)に対し、加圧位置に液体を付与して綴じ強度を高める液体付与圧着綴じ処理も知られている。本明細書においては、圧着綴じ処理に伴って実行される、媒体への液体の付与を「液体付与」と表記する。また、液体付与をするための一連の処理を実行することを「液体付与をする」と表記する。
【0004】
また、液体付与圧着綴じを可能にする圧着綴じ装置において適正な綴じ力を得る目的で、綴る媒体の枚数や種類に応じて加水量(液体付与をするときの液体量)を変更する構成が開示されている(例えば、特許文献1を参照)。
【発明の概要】
【発明が解決しようとする課題】
【0005】
特許文献1に開示の構成では、用紙束として綴じるために積載される媒体の一枚ずつに対して液体付与をする。そこで、液体付与をする機構(液体付与部)が備える貯液タンクのうち、一時的に液体を貯液するサブタンクにおいて、「液体無し」の状態になった場合、サブタンクへの液体補充を実行後において液体付与を実行可能な状態に至るまでの時間の推定が困難である。特に、液体付与部が備える液体付与部材に液体が浸透しきって、媒体に液体を付与できる状態に至るまで、すなわち、液体付与可能状態までの移行時間の推定ができず、液体付与圧着綴じにおけるダウンタイムが生ずることがあるという課題がある。
【0006】
本発明は、サブタンクの液体量に応じた、液体付与可能状態への移行時間を変更可能とする媒体処理装置を提供することを目的とする。
【課題を解決するための手段】
【0007】
上記課題を解決するために、本発明の一態様は、媒体処理装置に関し、少なくとも一枚の媒体の一部に液体付与をする液体付与手段と、前記液体付与手段において液体付与をされた少なくとも一枚の前記媒体を含む媒体束に所定の処理を施す媒体処理手段と、前記液体付与手段による液体付与に用いられる液体を貯留する貯液部と、前記貯液部に配置された液体検知手段と、前記液体検知手段からの情報に基づいて前記液体付与手段による前記媒体への液体付与を可能にする液体付与可能状態にするための、当該液体付与手段への当該液体の供給動作を制御する制御手段と、を備え、前記制御手段は、前記液体検知手段が検知した前記貯液部の液体量に基づいて、前記液体付与可能状態への移行時間を変更する、ことを特徴とする。
【発明の効果】
【0008】
本発明によれば、サブタンクの液体量に応じた、液体付与可能状態への移行時間を変更可能とすることができる。
【図面の簡単な説明】
【0009】
画像形成システムの全体構成を示す図。
第一実施形態に係る後処理装置の内部構造を示す図。
端綴じ処理部を搬送方向の上流側から見た模式図。
端綴じ処理部を主走査方向の液体付与手段側から見た模式図。
端綴じ処理部の圧着手段の構成を示す模式図。
針綴じ処理部を搬送方向の上流側から見た模式図。
針綴じ処理部の変形例を搬送方向の上流側から見た模式図。
後処理装置における第二貯液タンクの配置及び構成を示す図。
後処理装置における第二貯液タンクの着脱構成を示す図。
第一実施形態に係る後処理装置を制御する制御ブロックのハードウェア構成図。
端綴じ処理部による綴じ処理のフローチャート。
端綴じ処理部による綴じ処理中における液体付与手段及び圧着手段の位置を示す図。
本実施形態に係る液体供給判定処理のフローチャート。
本実施形態に係る給排液モードを説明する図。
本実施形態に係る第一貯液タンクへの液体補充の様子を例示する図。
本実施形態に係る液体供給判定処理のフローチャート。
本実施形態に係る第一貯液タンクへの液体補充の様子を例示する図。
本実施形態に係る第一貯液タンクへの液体補充の様子を例示する図。
本実施形態に係る液体供給判定処理のフローチャート。
本実施形態に係る第一貯液タンクへの液体補充の様子を例示する図。
本実施形態に係る操作パネルの表示例を示す図。
第二実施形態に係る後処理装置の内部構造を示す図。
第二実施形態に係る内部トレイを用紙の厚み方向から見た図。
第二実施形態に係る圧着手段を搬送方向の下流側から見た模式図。
第二実施形態に係る液体付与手段を用紙の厚み方向から見た図。
図25のXXV-XXVにおける断面図。
図25のXXVI-XXVIにおける断面図。
第二実施形態に係る後処理装置の制御ブロックのハードウェア構成図。
第二実施形態に係る後処理装置の後処理フローチャート。
画像形成システムの変形例の全体構成を示す図。
後処理装置の制御部の変形例1を示す図。
後処理装置の制御部の変形例2を示す図。
【発明を実施するための形態】
【0010】
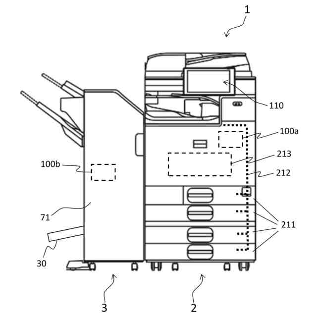
[画像形成システム1の実施形態]
以下、本発明に係る画像形成システム1について、図面を参照しながら説明する。図1は、画像形成システム1の全体構成を示す図である。画像形成システム1は、シート状の媒体の一種としての用紙Pに画像を形成する画像形成機能、画像が形成された用紙Pに対して所定の後処理を施す後処理機能、などを有する。図1に示すように、画像形成システム1は、画像形成機能を有する画像形成装置2と、本発明に係る後処理機能を有する媒体処理装置としての後処理装置3と、を連携して動作するように構成されている。
(【0011】以降は省略されています)
この特許をJ-PlatPat(特許庁公式サイト)で参照する
関連特許
株式会社リコー
移動体
今日
株式会社リコー
画像形成装置
5日前
株式会社リコー
画像形成装置
9日前
株式会社リコー
画像形成装置
20日前
株式会社リコー
画像形成装置
27日前
株式会社リコー
画像形成装置
9日前
株式会社リコー
画像形成装置
12日前
株式会社リコー
印刷システム
9日前
株式会社リコー
画像形成装置
28日前
株式会社リコー
液体塗布装置
13日前
株式会社リコー
画像形成装置
9日前
株式会社リコー
感熱記録媒体
6日前
株式会社リコー
生体情報測定装置
6日前
株式会社リコー
画像投射システム
20日前
株式会社リコー
拡張アンテナ装置
12日前
株式会社リコー
印刷応答補償機構
13日前
株式会社リコー
投薬管理システム
28日前
株式会社リコー
画像形成システム
5日前
株式会社リコー
液体を吐出する装置
6日前
株式会社リコー
マーキングシステム
12日前
株式会社リコー
電極及びその製造方法
7日前
株式会社リコー
電極及びその製造方法
9日前
株式会社リコー
多孔質構造体の製造方法
9日前
株式会社リコー
定着装置及び画像形成装置
19日前
株式会社リコー
定着装置及び画像形成装置
13日前
株式会社リコー
パルスバルブおよび塗布装置
9日前
株式会社リコー
センサ素子及びセンサアレイ
19日前
株式会社リコー
センサ素子及びセンサアレイ
19日前
株式会社リコー
液体塗布装置および洗浄方法
9日前
株式会社リコー
樹脂粒子およびその製造方法
28日前
株式会社リコー
ファイル分析・保存システム
9日前
株式会社リコー
塗装システム、及び塗装方法
9日前
株式会社リコー
液吐出装置、及び液吐出方法
13日前
株式会社リコー
印刷装置および印刷システム
5日前
株式会社リコー
導光部材、光学系及び表示装置
21日前
株式会社リコー
印刷ファイル前処理メカニズム
27日前
続きを見る
他の特許を見る