TOP
|
特許
|
意匠
|
商標
特許ウォッチ
Twitter
他の特許を見る
公開番号
2025145404
公報種別
公開特許公報(A)
公開日
2025-10-03
出願番号
2024045565
出願日
2024-03-21
発明の名称
印刷装置
出願人
セイコーエプソン株式会社
代理人
個人
,
個人
主分類
B41J
2/175 20060101AFI20250926BHJP(印刷;線画機;タイプライター;スタンプ)
要約
【課題】供給チューブを変形させた姿勢を維持できる印刷装置を提供する。
【解決手段】液体を吐出可能なヘッド15と、ヘッド15を収容する筐体12と、ヘッド15に対して液体を供給する供給チューブ16と、ヘッド15に対して供給チューブ16を着脱可能に接続する接続部18と、接続部18に設けられた接続部側係合部19と、筐体12に設けられた筐体側係合部20と、を備え、接続部側係合部19は、ヘッド15から接続部18を外した状態で筐体側係合部20と係合可能である。
【選択図】図7
特許請求の範囲
【請求項1】
液体を吐出可能なヘッドと、
前記ヘッドを収容する筐体と、
前記ヘッドに対して前記液体を供給する供給チューブと、
前記ヘッドに対して前記供給チューブを着脱可能に接続する接続部と、
前記接続部に設けられた接続部側係合部と、
前記筐体に設けられた筐体側係合部と、
を備え、
前記接続部側係合部は、前記ヘッドから前記接続部を外した状態で前記筐体側係合部と係合可能であることを特徴とする印刷装置。
続きを表示(約 620 文字)
【請求項2】
前記筐体は、開閉可能なカバーを有し、
前記筐体側係合部は、前記カバーの内面に設けられており、
前記接続部側係合部は、前記カバーが開いた状態で前記筐体側係合部と係合可能であることを特徴とする請求項1に記載の印刷装置。
【請求項3】
前記筐体側係合部は、フックを有し、
収納位置に位置する前記筐体側係合部は、回動軸を中心として前記フックが前記内面から離れるように回動することで、前記フックを前記接続部側係合部に係合可能な係合位置に移動することを特徴とする請求項2に記載の印刷装置。
【請求項4】
前記カバーは、前記内面に設けられるストッパーを有し、
前記ストッパーは、前記回動軸を挟んで前記フックとは反対側に位置し、前記係合位置において前記収納位置から離れる方向への前記筐体側係合部の移動を制限することを特徴とする請求項3に記載の印刷装置。
【請求項5】
前記筐体は、前記係合位置に位置する前記筐体側係合部の移動を制限する第1制限部を有することを特徴とする請求項3に記載の印刷装置。
【請求項6】
前記筐体は、前記収納位置に位置する前記筐体側係合部の移動を制限する第2制限部を有することを特徴とする請求項3に記載の印刷装置。
【請求項7】
前記筐体側係合部は、不撓性を有することを特徴とする請求項1に記載の印刷装置。
発明の詳細な説明
【技術分野】
【0001】
本発明は、プリンターなどの印刷装置に関する。
続きを表示(約 1,300 文字)
【背景技術】
【0002】
例えば特許文献1のように、ヘッドの一例であるインクジェットヘッドから液体の一例であるインクを吐出して印刷する印刷装置の一例であるインクジェット記録装置がある。インクジェット記録装置は、インクジェットヘッドにインクを供給する供給チューブの一例であるインクチューブと、カバー部材と、を備える。
【0003】
カバー部材は、回動可能に設けられる。インクチューブは、カバー部材の回動に伴って変形する。カバー部材を開放させると、インクチューブは、インクジェットヘッドとの接続が解除される。
【先行技術文献】
【特許文献】
【0004】
特開2007-105883号公報
【発明の概要】
【発明が解決しようとする課題】
【0005】
供給チューブを変形させる場合、供給チューブは、元の形状に戻ろうとして動いてしまう虞がある。
【課題を解決するための手段】
【0006】
上記課題を解決する印刷装置は、液体を吐出可能なヘッドと、前記ヘッドを収容する筐体と、前記ヘッドに対して前記液体を供給する供給チューブと、前記ヘッドに対して前記供給チューブを着脱可能に接続する接続部と、前記接続部に設けられた接続部側係合部と、前記筐体に設けられた筐体側係合部と、を備え、前記接続部側係合部は、前記ヘッドから前記接続部を外した状態で前記筐体側係合部と係合可能である。
【図面の簡単な説明】
【0007】
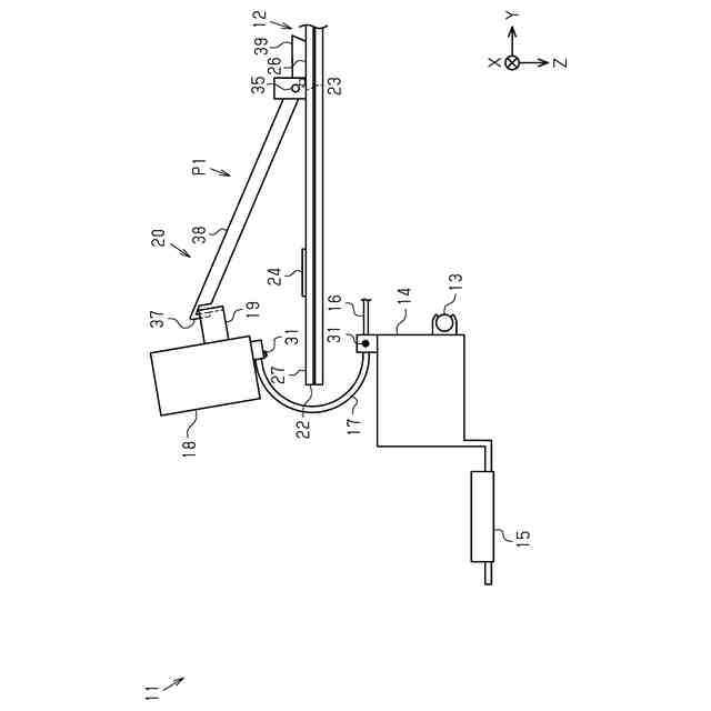
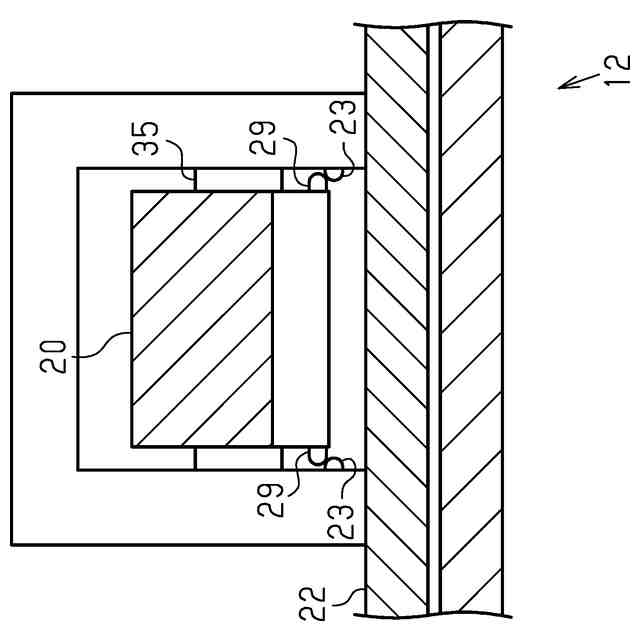
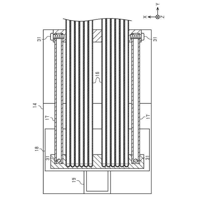
図1は、印刷装置の一実施形態の模式図である。
図2は、筐体側係合部が収納位置に位置する印刷装置の模式図である。
図3は、筐体側係合部が係合位置に位置する印刷装置の模式図である。
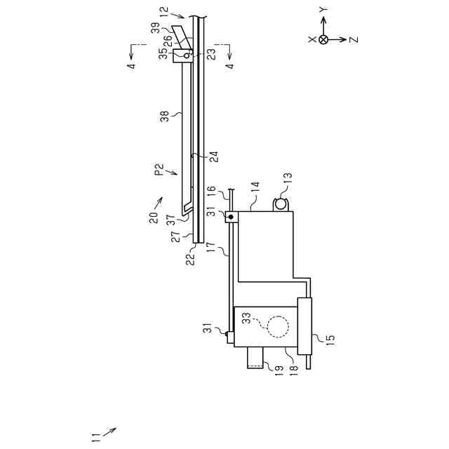
図4は、図2における4-4線矢視断面図である。
図5は、図3における5-5線矢視断面図である。
図6は、図1における6-6線矢視断面図である。
図7は、筐体側係合部と接続部側係合部が係合した印刷装置の模式図である。
【発明を実施するための形態】
【0008】
[実施形態]
以下、印刷装置の一実施形態を、図面を参照して説明する。印刷装置は、例えば、用紙、布帛、ビニール、プラスチック部品、金属部品などの媒体に液体の一例であるインクを吐出して印刷するインクジェット式のプリンターである。
【0009】
図面では、印刷装置11が水平面上に置かれているものとして重力の方向をZ軸で示し、水平面に沿う方向をX軸とY軸で示す。X軸、Y軸、及びZ軸は、互いに直交する。以下の説明では、X軸に平行な方向を幅方向X、Y軸に平行な方向を奥行方向Y、Z軸に平行な方向を鉛直方向Zともいう。
【0010】
<印刷装置>
図1に示すように、印刷装置11は、筐体12と、ガイド軸13と、キャリッジ14と、ヘッド15と、供給チューブ16と、保護部17と、接続部18と、を備えてもよい。印刷装置11は、接続部側係合部19と、筐体側係合部20と、を備えてもよい。
(【0011】以降は省略されています)
この特許をJ-PlatPat(特許庁公式サイト)で参照する
関連特許
セイコーエプソン株式会社
印刷装置
2日前
セイコーエプソン株式会社
液体噴射ヘッド及び液体噴射装置
2日前
セイコーエプソン株式会社
液体容器、印刷装置、印刷システム
2日前
セイコーエプソン株式会社
液体吐出装置、及びヘッドユニット
2日前
セイコーエプソン株式会社
容量性負荷駆動回路、液体吐出装置、及びヘッドユニット
2日前
個人
箔熱転写装置
25日前
シヤチハタ株式会社
印判
4か月前
東レ株式会社
凸版印刷版原版
9か月前
シヤチハタ株式会社
反転式印判
8か月前
三菱製紙株式会社
感熱記録材料
10か月前
独立行政法人 国立印刷局
印刷物
6か月前
三光株式会社
感熱記録材料
6か月前
キヤノン株式会社
記録装置
18日前
株式会社リコー
画像形成装置
25日前
株式会社リコー
画像形成装置
2日前
株式会社リコー
画像形成装置
6日前
株式会社リコー
液体吐出装置
7か月前
株式会社リコー
液体吐出装置
7か月前
日本製紙株式会社
感熱記録体
7か月前
株式会社リコー
印刷システム
6日前
株式会社リコー
液体吐出装置
4か月前
株式会社リコー
液体吐出装置
3か月前
株式会社リコー
液体吐出装置
4か月前
独立行政法人 国立印刷局
記録媒体
8か月前
株式会社リコー
液体吐出装置
8か月前
株式会社リコー
液体吐出装置
1か月前
独立行政法人 国立印刷局
貼付装置
1か月前
株式会社リコー
液体吐出装置
5か月前
独立行政法人 国立印刷局
貼付機構
1か月前
キヤノン株式会社
画像形成装置
10か月前
キヤノン株式会社
画像処理装置
4か月前
ブラザー工業株式会社
プリンタ
3か月前
キヤノン株式会社
印刷制御装置
9か月前
フジコピアン株式会社
中間転写シート
9か月前
キヤノン株式会社
印刷システム
7か月前
キヤノン株式会社
画像形成装置
7か月前
続きを見る
他の特許を見る