TOP
|
特許
|
意匠
|
商標
特許ウォッチ
Twitter
他の特許を見る
公開番号
2025142517
公報種別
公開特許公報(A)
公開日
2025-10-01
出願番号
2024041926
出願日
2024-03-18
発明の名称
超音波探触子
出願人
富士フイルム株式会社
代理人
個人
,
個人
主分類
A61B
8/00 20060101AFI20250924BHJP(医学または獣医学;衛生学)
要約
【課題】圧電素子のチャネル数が増大しても、信頼性を損なうことなく、また、音響設計を変更する必要のない超音波探触子を提供する。
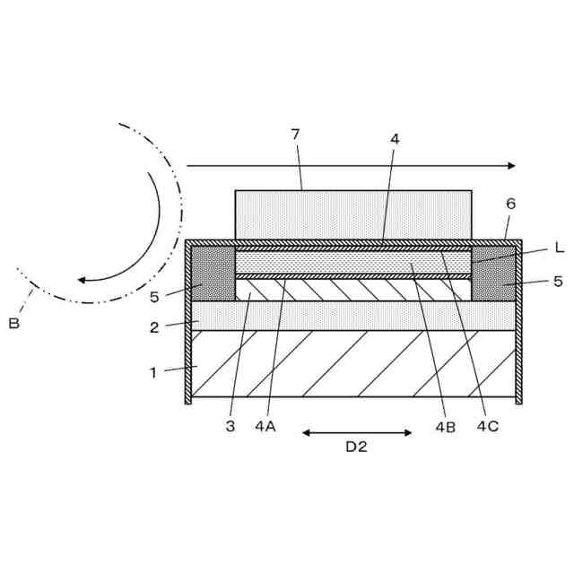
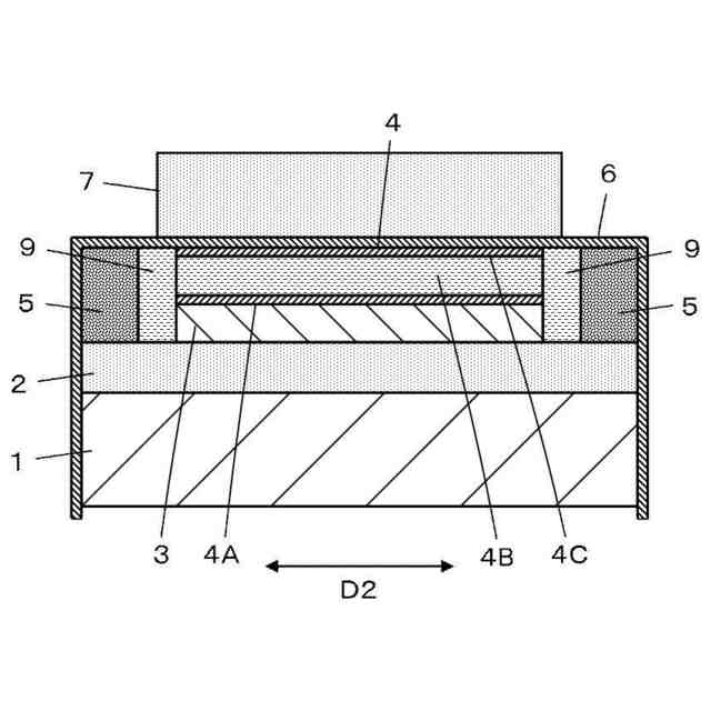
【解決手段】バッキング材(1)と複数の圧電素子(4)の間にフレキシブル回路基板(2)が配置され、複数の圧電素子(4)は、それぞれ、信号電極層(4A)と圧電体部(4B)とグランド電極層(4C)が積層方向に順次積層された積層体(L)からなり、信号電極層は、フレキシブル回路基板に電気的に接続され、エレベーション方向(D2)においてフレキシブル回路基板は圧電体部よりも長く、積層体のエレベーション方向の端部に、砥粒が分散された接着剤からなる第1の部材(5)が配置され、グランド電極層は、積層体の表面上から第1の部材の表面上および側面に沿って延びる金属箔(6)を介してフレキシブル回路基板に電気的に接続されている。
【選択図】図2
特許請求の範囲
【請求項1】
複数の圧電素子がバッキング材の上にアジマス方向に沿ってアレイ状に配列された超音波探触子であって、
前記バッキング材と前記複数の圧電素子の間にフレキシブル回路基板が配置され、
前記複数の圧電素子は、それぞれ、前記フレキシブル回路基板の表面上に信号電極層と圧電体部とグランド電極層が積層方向に順次積層された積層体からなり、
前記信号電極層は、前記フレキシブル回路基板に電気的に接続され、
エレベーション方向において前記フレキシブル回路基板は前記圧電体部よりも長く、
前記積層体のエレベーション方向の端部に、砥粒が分散された接着剤からなる第1の部材が配置され、
前記グランド電極層は、前記積層体の表面上から前記第1の部材の表面上および前記第1の部材のエレベーション方向の側面に沿って延びる金属箔を介して前記フレキシブル回路基板に電気的に接続される超音波探触子。
続きを表示(約 560 文字)
【請求項2】
前記積層体のエレベーション方向の両端部にそれぞれ前記第1の部材が配置されている請求項1に記載の超音波探触子。
【請求項3】
前記第1の部材は、前記バッキング材の音響減衰率以上の音響減衰率を有する請求項1に記載の超音波探触子。
【請求項4】
前記第1の部材は、前記砥粒として白色アルミナ研磨剤、緑色炭化ケイ素、レジノイドのいずれかが分散されたガラス質接着剤またはセラミック質接着剤からなる請求項1に記載の超音波探触子。
【請求項5】
前記積層体のエレベーション方向の前記端部と前記第1の部材との間に、前記第1の部材の音響減衰率よりも大きい音響減衰率を有する第2の部材が配置されている請求項1に記載の超音波探触子。
【請求項6】
前記第2の部材は、緩衝材からなる請求項5に記載の超音波探触子。
【請求項7】
前記緩衝材は、シリコーン樹脂またはエポキシ樹脂からなる請求項6に記載の超音波探触子。
【請求項8】
前記フレキシブル回路基板と前記複数の圧電素子の間に前記圧電体部の音響インピーダンスよりも高い音響インピーダンスを有するデマッチング層が配置されている請求項1~7のいずれか一項に記載の超音波探触子。
発明の詳細な説明
【技術分野】
【0001】
この発明は、複数の圧電素子がアジマス方向に沿ってアレイ状に配列された超音波探触子に関する。
続きを表示(約 2,700 文字)
【背景技術】
【0002】
従来から、医療分野において、超音波画像を用いた超音波診断装置が実用化されている。一般に、この種の超音波診断装置は、超音波探触子から被検体に向けて超音波ビームを送信し、被検体からの超音波エコーを超音波探触子で受信し、その受信信号を電気的に処理することにより超音波画像が生成される。
【0003】
超音波探触子は、通常、バッキング材の上にいわゆるアジマス方向に沿ってアレイ状に配列された複数の圧電素子を有している。特許文献1および2には、複数の圧電素子から信号の取り出しを行うために、バッキング材と複数の圧電素子の間にフレキシブル回路基板が配置された超音波探触子が開示されている。
フレキシブル回路基板に対向する複数の圧電素子の信号電極層がフレキシブル回路基板に接続されることにより、複数の圧電素子から信号の取り出しが行われる。また、信号電極層とは反対側に配置された複数の圧電素子のグランド電極層には金属箔が接続され、金属箔を用いて複数の圧電素子のグランドが取られている。
【先行技術文献】
【特許文献】
【0004】
特開2001-276060号公報
特開2001-298795号公報
【発明の概要】
【発明が解決しようとする課題】
【0005】
しかしながら、近年の高周波化による圧電素子の狭ピッチ化および視野の拡大等に起因して圧電素子のチャネル数が増大すると、これに伴って、信号の取り出しを行うためにエレベーション方向に長いフレキシブル回路基板が必要となり、エレベーション方向においてフレキシブル回路基板の長さが圧電素子の長さよりも長くなる傾向にある。
【0006】
このようにして、フレキシブル回路基板のエレベーション方向の長さが圧電素子よりも長くなると、圧電素子のグランド電極層に接続されている金属箔と、圧電素子のエレベーション方向の端部との間に隙間が生じやすくなり、切削ブレードを用いたダイシングにより複数の圧電素子に分割する際に切削ブレードがバタついて圧電素子が破損し、超音波探触子の信頼性が損なわれるおそれがある。
仮に、フレキシブル回路基板に合わせて圧電素子をエレベーション方向に長くすると、帯域形状が変化し、音響設計を変更する必要が生じてしまう。
また、圧電素子のチャネル数が増大すると、ダイシングに用いられる切削ブレードが摩耗しやすくなり、圧電素子の切削断面が損傷することにより、超音波探触子の信頼性が損なわれるおそれもある。
【0007】
本発明は、このような従来の問題点を解消するためになされたもので、圧電素子のチャネル数が増大しても、信頼性を損なうことなく、また、音響設計を変更する必要のない超音波探触子を提供することを目的とする。
【課題を解決するための手段】
【0008】
以下の構成によれば、上記目的を達成できる。
〔1〕 複数の圧電素子がバッキング材の上にアジマス方向に沿ってアレイ状に配列された超音波探触子であって、
バッキング材と複数の圧電素子の間にフレキシブル回路基板が配置され、
複数の圧電素子は、それぞれ、フレキシブル回路基板の表面上に信号電極層と圧電体部とグランド電極層が積層方向に順次積層された積層体からなり、
信号電極層は、フレキシブル回路基板に電気的に接続され、
エレベーション方向においてフレキシブル回路基板は圧電体部よりも長く、
積層体のエレベーション方向の端部に、砥粒が分散された接着剤からなる第1の部材が配置され、
グランド電極層は、積層体の表面上から第1の部材の表面上および第1の部材のエレベーション方向の側面に沿って延びる金属箔を介してフレキシブル回路基板に電気的に接続される超音波探触子。
〔2〕 積層体のエレベーション方向の両端部にそれぞれ第1の部材が配置されている〔1〕に記載の超音波探触子。
〔3〕 第1の部材は、バッキング材の音響減衰率以上の音響減衰率を有する〔1〕または〔2〕に記載の超音波探触子。
〔4〕 第1の部材は、砥粒として白色アルミナ研磨剤、緑色炭化ケイ素、レジノイドのいずれかが分散されたガラス質接着剤またはセラミック質接着剤からなる〔1〕~〔3〕のいずれかに記載の超音波探触子。
〔5〕積層体のエレベーション方向の端部と第1の部材との間に、第1の部材の音響減衰率よりも大きい音響減衰率を有する第2の部材が配置されている〔1〕~〔4〕のいずれかに記載の超音波探触子。
〔6〕第2の部材は、緩衝材からなる〔5〕に記載の超音波探触子。
〔7〕緩衝材は、シリコーン樹脂またはエポキシ樹脂からなる〔6〕に記載の超音波探触子。
〔8〕フレキシブル回路基板と複数の圧電素子の間に圧電体部の音響インピーダンスよりも高い音響インピーダンスを有するデマッチング層が配置されている〔1〕~〔7〕のいずれかに記載の超音波探触子。
【発明の効果】
【0009】
この発明によれば、バッキング材と複数の圧電素子の間にフレキシブル回路基板が配置され、複数の圧電素子は、それぞれ、フレキシブル回路基板の表面上に信号電極層と圧電体部とグランド電極層が積層方向に順次積層された積層体からなり、信号電極層は、フレキシブル回路基板に電気的に接続され、エレベーション方向においてフレキシブル回路基板は圧電体部よりも長く、積層体のエレベーション方向の端部に、砥粒が分散された接着剤からなる第1の部材が配置され、グランド電極層は、積層体の表面上から第1の部材の表面上および第1の部材のエレベーション方向の側面に沿って延びる金属箔を介してフレキシブル回路基板に電気的に接続されるので、圧電素子のチャネル数が増大しても、信頼性を損なうことなく、また、音響設計を変更する必要のない超音波探触子が実現される。
【図面の簡単な説明】
【0010】
本発明の実施の形態1に係る超音波探触子の一部を示す斜視図である。
本発明の実施の形態1に係る超音波探触子の断面図である。
本発明の実施の形態2に係る超音波探触子の断面図である。
本発明の実施の形態3に係る超音波探触子の断面図である。
本発明の実施の形態4に係る超音波探触子の断面図である。
(【0011】以降は省略されています)
この特許をJ-PlatPat(特許庁公式サイト)で参照する
関連特許
富士フイルム株式会社
内視鏡
今日
富士フイルム株式会社
レンズ装置
3日前
富士フイルム株式会社
超音波探触子
1日前
富士フイルム株式会社
超音波探触子
1日前
富士フイルム株式会社
超音波診断装置
3日前
富士フイルム株式会社
医療機器用カート
今日
富士フイルム株式会社
配線基板の製造方法
3日前
富士フイルム株式会社
医療用X線測定装置
3日前
富士フイルム株式会社
ゼリーボトルハンガ
1日前
富士フイルム株式会社
洗浄消毒装置及び蓋部
6日前
富士フイルム株式会社
内視鏡の操作部及び内視鏡
6日前
富士フイルム株式会社
X線管およびX線検査装置
今日
富士フイルム株式会社
内視鏡の操作部、及び内視鏡
6日前
富士フイルム株式会社
ズームレンズおよび撮像装置
3日前
富士フイルム株式会社
超音波診断装置の手押しハンドル
1日前
富士フイルム株式会社
磁気共鳴撮像装置及び画像処理方法
1日前
富士フイルム株式会社
画像処理装置、方法及びプログラム
7日前
富士フイルム株式会社
撮影制御装置、方法およびプログラム
6日前
富士フイルム株式会社
データ処理装置、方法及びプログラム
7日前
富士フイルム株式会社
情報処理装置、方法およびプログラム
3日前
富士フイルム株式会社
情報処理装置、及び情報処理プログラム
1日前
富士フイルム株式会社
情報処理装置、及び情報処理プログラム
今日
富士フイルム株式会社
医用画像取得装置及び画像生成システム
7日前
富士フイルム株式会社
情報処理装置、及び情報処理プログラム
1日前
富士フイルム株式会社
情報処理装置、及び情報処理プログラム
1日前
富士フイルム株式会社
放射線画像処理装置、方法およびプログラム
6日前
富士フイルム株式会社
放射線画像処理装置、方法およびプログラム
6日前
富士フイルム株式会社
較正装置、医用画像撮影システム、及び較正方法
13日前
富士フイルム株式会社
超音波診断装置用カートおよび超音波診断ユニット
今日
富士フイルム株式会社
画像処理装置、放射線画像撮影システム及びプログラム
7日前
富士フイルム株式会社
フォトンカウンティングX線CT装置及び較正データ取得方法
7日前
富士フイルム株式会社
画像処理装置、内視鏡システム、画像処理方法、及びプログラム
6日前
富士フイルム株式会社
画像処理装置、内視鏡システム、画像処理方法、及びプログラム
6日前
富士フイルム株式会社
ズームレンズ及び撮像装置
13日前
富士フイルム株式会社
焦点制御装置、焦点制御装置の作動方法、焦点制御装置の作動プログラム、並びに撮像装置
1日前
富士フイルム株式会社
光硬化性組成物、画素の製造方法、膜、光学フィルタ、固体撮像素子、画像表示装置および光重合開始剤
3日前
続きを見る
他の特許を見る