TOP
|
特許
|
意匠
|
商標
特許ウォッチ
Twitter
他の特許を見る
10個以上の画像は省略されています。
公開番号
2025139864
公報種別
公開特許公報(A)
公開日
2025-09-29
出願番号
2024038934
出願日
2024-03-13
発明の名称
見積書作成装置、方法、プログラム
出願人
株式会社リコー
代理人
個人
,
個人
主分類
G06Q
30/0601 20230101AFI20250919BHJP(計算;計数)
要約
【課題】最適な見積書を作成する。
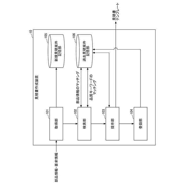
【解決手段】本発明の一実施形態に係る見積書作成装置は、製造物の部品情報、および、前記製造物に関する依頼者からの要求情報を取得する取得部と、予め記憶されている過去の見積案件から、前記取得部で取得した前記部品情報に類似する部品情報を有する類似見積案件を、前記取得部で取得した前記要求情報に基づいて定められた品質キーワードで絞り込む検索部と、前記検索部で絞り込んだ類似見積案件の工法および工数が用いられた見積書テンプレートを提示する提示部と、を備える。
【選択図】図5
特許請求の範囲
【請求項1】
製造物の部品情報、および、前記製造物に関する依頼者からの要求情報を取得する取得部と、
予め記憶されている過去の見積案件から、前記取得部で取得した前記部品情報に類似する部品情報を有する類似見積案件を、前記取得部で取得した前記要求情報に基づいて定められた品質キーワードで絞り込む検索部と、
前記検索部で絞り込んだ類似見積案件の工法および工数が用いられた見積書テンプレートを提示する提示部と、
を備えた見積書作成装置。
続きを表示(約 1,300 文字)
【請求項2】
前記提示部は、前記工法および前記工数の変更の指示を取得して見積書を作成する、請求項1に記載の見積書作成装置。
【請求項3】
前記検索部は、
予め設定された品質キーワードの候補と同一のキーワード、または、前記品質キーワードの候補に類似するキーワードを前記要求情報から抽出した結果を提示し、
見積担当者によって選定された前記品質キーワードを取得する、請求項1に記載の見積書作成装置。
【請求項4】
前記検索部は、前記見積担当者によって選定された複数の前記品質キーワードを取得する、請求項3に記載の見積書作成装置。
【請求項5】
前記検索部は、前記部品情報を重視して検索する検索モードと、前記品質キーワードを重視して検索する検索モードと、の2つの検索モードのうち見積担当者によって選択された検索モードにしたがって検索する、請求項1に記載の見積書作成装置。
【請求項6】
前記要求情報は、見積担当者と依頼者の電子メール、前記依頼者へのヒアリングシート、前記見積担当者と前記依頼者の会議の音声情報、の少なくとも1つを含む、請求項1に記載の見積書作成装置。
【請求項7】
前記見積書テンプレートを用いて作成された見積書により前記製造物が受注された場合、前記見積書に関する情報を過去の見積案件として記憶させる登録部、をさらに備えた請求項1に記載の見積書作成装置。
【請求項8】
前記検索部は、
前記部品情報が入力されると前記部品の形状の特徴量が出力される学習済みモデルを用いて、前記取得した部品情報と前記過去の見積案件の部品情報の類否を判断し、
前記要求情報が入力されると前記要求情報に含まれる文章の特徴量が出力される学習済みモデルを用いて、前記取得した要求情報と前記過去の見積案件の要求情報の類否を判断する、請求項1に記載の見積書作成装置。
【請求項9】
見積書作成装置が実行する方法であって、
製造物の部品情報、および、前記製造物に関する依頼者からの要求情報を取得するステップと、
予め記憶されている過去の見積案件から、取得した前記部品情報に類似する部品情報を有する類似見積案を、取得した前記要求情報に基づいて定められた品質キーワードで絞り込むステップと、
前記絞り込んだ類似見積案件の工法および工数が用いられた見積書テンプレートを提示するステップと
を含む方法。
【請求項10】
見積書作成装置を
製造物の部品情報、および、前記製造物に関する依頼者からの要求情報を取得する取得部、
予め記憶されている過去の見積案件から、前記取得部で取得した前記部品情報に類似する部品情報を有する類似見積案件を、前記取得部で取得した前記要求情報に基づいて定められた品質キーワードで絞り込む検索部、
前記検索部で絞り込んだ類似見積案件の工法および工数が用いられた見積書テンプレートを提示する提示部
として機能させるためのプログラム。
発明の詳細な説明
【技術分野】
【0001】
本発明は、見積書作成装置、方法、プログラムに関する。
続きを表示(約 1,700 文字)
【背景技術】
【0002】
従来、製造業において部品加工の見積りを行う場合、製造業の受託加工企業における営業担当者(見積担当者)は、顧客(依頼者)からの要望をもとに原価計算を行い、見積書を作成する。この場合、中小企業等では、表計算ソフトを用いて、手入力で計算が行われることが多かった。
【発明の概要】
【発明が解決しようとする課題】
【0003】
しかしながら、従来の表計算ソフトをベースとした計算では、営業担当者の勘と経験に左右されてしまい見積りの内容がバラついてしまう。また、見積書自体は、その場限りで利用される場合が多く、デジタル化して管理、運用がなされていないケースが多く見受けられる。そのため、顧客の要望を踏まえて、適切な加工条件および加工手段を選定し、原価計算および見積書に反映させることができなかった。
【0004】
そこで、本発明では、最適な見積書を作成することを目的とする。
【課題を解決するための手段】
【0005】
本発明の一実施形態に係る見積書作成装置は、製造物の部品情報、および、前記製造物に関する依頼者からの要求情報を取得する取得部と、予め記憶されている過去の見積案件から、前記取得部で取得した前記部品情報に類似する部品情報を有する類似見積案件を、前記取得部で取得した前記要求情報に基づいて定められた品質キーワードで絞り込む検索部と、前記検索部で絞り込んだ類似見積案件の工法および工数が用いられた見積書テンプレートを提示する提示部と、を備える。
【発明の効果】
【0006】
本発明によれば、最適な見積書を作成することができる。
【図面の簡単な説明】
【0007】
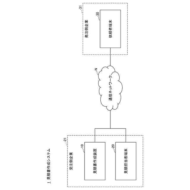
本発明の一実施形態に係る全体の構成図(構成例1)である。
本発明の一実施形態に係る全体の構成図(構成例2)である。
本発明の一実施形態に係る見積書作成装置のハードウェア構成図である。
本発明の一実施形態に係る見積担当者端末のハードウェア構成図である。
本発明の一実施形態に係る見積書作成装置の機能ブロック図(実施形態1)である。
本発明の一実施形態に係る見積書作成装置の機能ブロック図(実施形態2)である。
本発明の一実施形態に係る新規の見積案件のデータと過去の見積案件のデータについて説明するための図である。
本発明の一実施形態に係る見積担当者端末の機能ブロック図である。
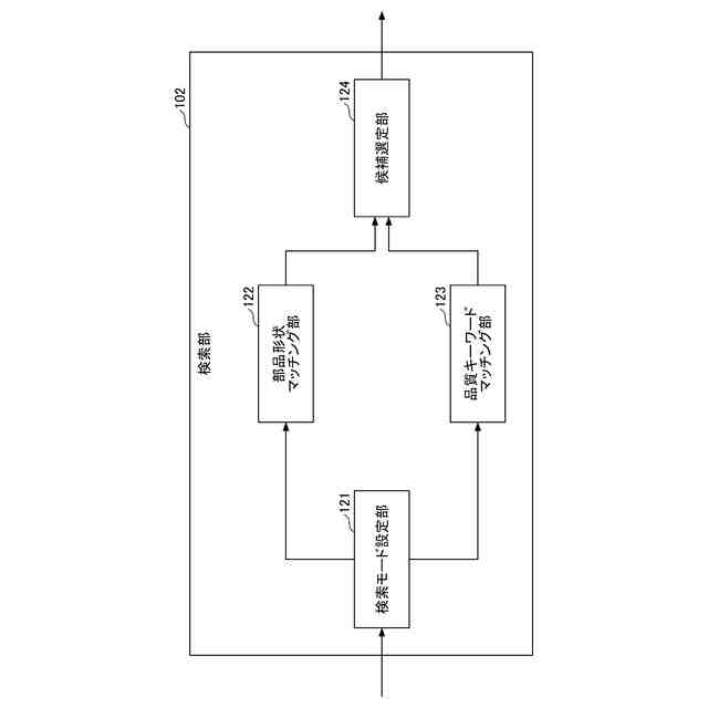
本発明の一実施形態に係る検索部の機能ブロック図である。
本発明の一実施形態に係る部品形状マッチングと品質キーワードマッチングについて説明するための図である。
本発明の一実施形態に係る品質キーワードの選定について説明するための図である。
本発明の一実施形態に係る品質キーワードに基づく検索モードの設定について説明するための図である。
本発明の一実施形態に係る提示部の機能ブロック図である。
本発明の一実施形態に係る見積書作成処理を示すフローチャートである。
本発明の一実施形態に係る見積書に記載される項目の例である。
本発明の一実施形態に係る見積担当者端末に表示される画面の一例である。
本発明の一実施形態に係る見積担当者端末に表示される画面の一例である。
【発明を実施するための形態】
【0008】
以下、図面を参照しながら、本発明の実施の形態を説明する。
【0009】
<全体構成>
[構成例1]
図1は、本発明の一実施形態に係る全体の構成図(構成例1)である。見積書作成システム1は、見積書作成装置10と、見積担当者端末20と、依頼者端末30と、を含むことができる。見積書作成装置10と見積担当者端末20と依頼者端末30は、通信ネットワークNに接続されている。
【0010】
構成例1では、受注側企業21に、見積書作成装置10が設置される。
(【0011】以降は省略されています)
この特許をJ-PlatPat(特許庁公式サイト)で参照する
関連特許
株式会社リコー
綴じ装置
1か月前
株式会社リコー
印刷システム
3日前
株式会社リコー
液体塗布装置
7日前
株式会社リコー
映像表示装置
24日前
株式会社リコー
画像形成装置
22日前
株式会社リコー
画像形成装置
3日前
株式会社リコー
画像形成装置
1か月前
株式会社リコー
履帯式走行体
1か月前
株式会社リコー
画像形成装置
21日前
株式会社リコー
画像形成装置
1か月前
株式会社リコー
液体吐出装置
1か月前
株式会社リコー
画像形成装置
3日前
株式会社リコー
感熱記録媒体
今日
株式会社リコー
画像形成装置
1か月前
株式会社リコー
画像形成装置
6日前
株式会社リコー
画像形成装置
1か月前
株式会社リコー
画像形成装置
3日前
株式会社リコー
画像形成装置
14日前
株式会社リコー
情報処理システム
24日前
株式会社リコー
生体情報測定装置
今日
株式会社リコー
印刷応答補償機構
7日前
株式会社リコー
拡張アンテナ装置
6日前
株式会社リコー
投薬管理システム
22日前
株式会社リコー
画像投射システム
14日前
株式会社リコー
マーキングシステム
6日前
株式会社リコー
液体を吐出する装置
今日
株式会社リコー
カラー画像形成装置
1か月前
株式会社リコー
電極及びその製造方法
1日前
株式会社リコー
電極及びその製造方法
3日前
株式会社リコー
測定装置および測定方法
23日前
株式会社リコー
測定装置および測定方法
23日前
株式会社リコー
多孔質構造体の製造方法
3日前
株式会社リコー
測定装置および測定方法
23日前
株式会社リコー
定着装置及び画像形成装置
13日前
株式会社リコー
定着装置及び画像形成装置
7日前
株式会社リコー
給送装置及び画像形成装置
1か月前
続きを見る
他の特許を見る