TOP
|
特許
|
意匠
|
商標
特許ウォッチ
Twitter
他の特許を見る
公開番号
2025145695
公報種別
公開特許公報(A)
公開日
2025-10-03
出願番号
2024046015
出願日
2024-03-22
発明の名称
多重光周波数コム生成装置
出願人
国立大学法人徳島大学
代理人
個人
,
個人
,
個人
,
個人
主分類
G02F
1/35 20060101AFI20250926BHJP(光学)
要約
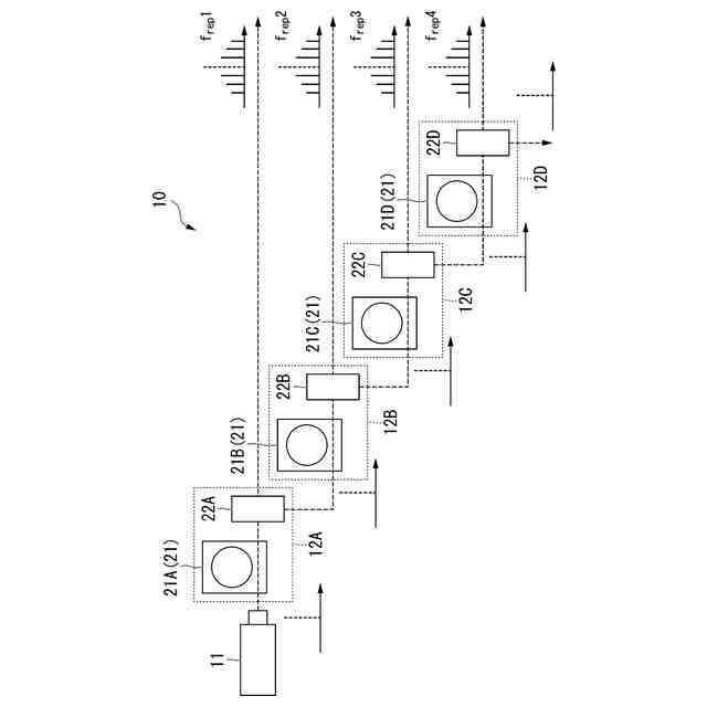
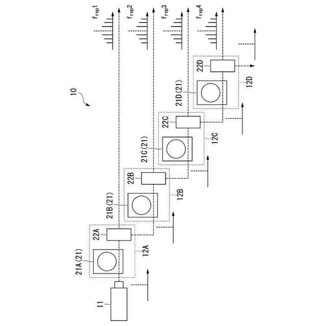
【課題】簡易な構成で低コストに多重光周波数コムを生成可能であり、かつ、励起レーザー光の利用効率を高めることが可能な多重光周波数コム生成装置を提供する。
【解決手段】連続発振レーザー光を出射するレーザー光源と、前記連続発振レーザー光によって励起して第1光周波数コムを発生させる第1微小光共振器と、前記第1微小光共振器の後段に配され、微小光共振器で生じた第1光周波数コムと残留励起光とを分離する光フィルタと、前記光フィルタで分離された残留励起光によって励起して第2光周波数コムを発生させる第2微小光共振器と、を少なくとも有することを特徴とする。
【選択図】図1
特許請求の範囲
【請求項1】
連続発振レーザー光を出射するレーザー光源と、
前記連続発振レーザー光によって励起して第1光周波数コムを発生させる第1微小光共振器と、
前記第1微小光共振器の後段に配され、微小光共振器で生じた第1光周波数コムと残留励起光とを分離する光フィルタと、
前記光フィルタで分離された残留励起光によって励起して第2光周波数コムを発生させる第2微小光共振器と、を少なくとも有することを特徴とする多重光周波数コム生成装置。
続きを表示(約 550 文字)
【請求項2】
前記第1微小光共振器、および前記第2微小光共振器は、互いに異なる周波数間隔の光周波数コムを発生させることを特徴とする請求項1に記載の多重光周波数コム生成装置。
【請求項3】
前記第1光周波数コムおよび前記第2光周波数コムは、周波数間隔が100GHz以上1THz以下の範囲であることを特徴とする請求項1または2に記載の多重光周波数コム生成装置。
【請求項4】
前記第1微小光共振器、および前記第2微小光共振器は、非線形光学効果を有する媒質であって、窒化ケイ素(Si
3
N
4
)、ガリウム砒素アルミニウム(AlGaAs)、ニオブ酸リチウム(LiNbO
3
)、五酸化タンタル(Ta
2
O
5
)、および窒化ガリウム(GaN)からなる群より選択される1種以上の媒質から構成されることを特徴とする請求項1または2に記載の多重光周波数コム生成装置。
【請求項5】
前記第1光周波数コムおよび前記第2光周波数コムのそれぞれの周波数間隔の差分は、10GHz以上50GHz以下の範囲であることを特徴とする請求項1または2に記載の多重光周波数コム生成装置。
発明の詳細な説明
【技術分野】
【0001】
本発明は、複数の光周波数コムを生成する多重光周波数コム生成装置に関するものである。
続きを表示(約 1,600 文字)
【背景技術】
【0002】
従来、移動体通信の分野では、通信速度の向上のための技術革新が常に行われてきた。近年では第4世代移動通信システム(4G通信)や第5世代移動通信システム(5G通信)が主流となり、これらに対応する機器も出揃いつつある。一方、5Gを凌駕する通信速度となる第6世代移動通信システム(6G通信)では、想定される周波数帯(テラヘルツ帯)が電気的手法の技術的限界(周波数上限)に達する可能性がある。このため、無線キャリアの低出力化、位相ノイズ増大、信号伝送損失の増大といった課題が顕在化する懸念がある。
【0003】
このような6G通信の実用化における課題を克服し、超高速、大容量の通信を実現するためには、電気的手法による周波数の上限を超えたパラダイムシフトが強く求められている。一方、6G通信は光通信と電波通信の伝送速度ギャップを大きく緩和する可能性を有するが、これらの間には光技術と電気技術の相違に起因する技術ギャップが存在し、光信号と電気信号の変換(光電変換)に伴う時間遅延が生じる。こうした時間遅延は、超低遅延性を求める6Gにおいては致命的な障害になる懸念がある。
【0004】
このように、6G通信の実現のためには、超低遅延を実現しながら光通信と良好に接続する「光通信と電波通信のシームレス接続」が強く求められる。こうした課題は、電波通信がエレクトロニクスに基づいていることに起因している。よって、エレクトロニクスが可能な限り介在しない無線通信が実現できれば、こうした課題の解決が可能になる。
【0005】
光ファイバー網を用いた光通信は、非常に高速な情報伝送速度を有し、最近ではデバイス内部の電子配線を光配線に置き換えることによって、超高速・大容量・低遅延・低消費電力を実現するシリコン・フォトニクス技術の開発が進んでいる。こうした背景から、無線通信においてもキャリアの発生源に光学デバイスを用いたり、通信システムの一部に光通信の技術を取り入れたりする場合もある。例えば、互いに波長が異なる光をそれぞれ変調した後に合波させてテラヘルツ波を発生させ、このテラヘルツ波を無線通信に用いた例が開示されている(例えば、非特許文献1を参照)。
【0006】
光/テラヘルツ波の変換技術を用いたテラヘルツ波発生手法は、超高周波・低位相ノイズなテラヘルツ波発生手法として期待されている。この手法では、光領域で既存の光デバイスを用いてテラヘルツ波の変調が可能であるので、光通信で利用されている変調方式をテラヘルツ波の変調に流用できる。また、周波数多重化は無線通信の大容量化に直結する技術であるので、6G通信でも必要な技術要素とされている。
【0007】
周波数多重化の方法としては、光周波数コムから、所望の周波数間隔となる任意の光周波数モードをフィルターで抽出する方法が開示されている(例えば、特許文献1を参照)。また、発生する光周波数コムの周波数間隔の異なる複数の微小共振器を備えたマルチfrepマイクロ光コム共振器を用いることが有効である(例えば、特許文献2を参照)。
【先行技術文献】
【特許文献】
【0008】
特開2009-004858号公報
特開2023-170363号公報
【非特許文献】
【0009】
永妻忠夫、“テラヘルツ波が拓く超高速無線通信”、精密工学会誌、Vol.82,No.3,2016
【発明の概要】
【発明が解決しようとする課題】
【0010】
しかしながら、従来のマルチfrepマイクロ光コム共振器は、個々の微小共振器に対応した個々の励起レーザー光源で並列に励起する構造であるため、複数の励起レーザー光源と複数の光学系が必要となり、装置構成が複雑で高コストであるという課題があった。
(【0011】以降は省略されています)
この特許をJ-PlatPat(特許庁公式サイト)で参照する
関連特許
国立大学法人徳島大学
ゼオライトの製造方法
3か月前
国立大学法人徳島大学
マイクロコム制御装置
28日前
国立大学法人徳島大学
光位相変調モジュール
5か月前
国立大学法人徳島大学
多重光周波数コム生成装置
今日
国立大学法人徳島大学
肝細胞様細胞の製造方法及びその利用
14日前
国立大学法人徳島大学
マイクロ光共振器、及び光周波数コム発生装置
14日前
国立大学法人徳島大学
マイクロ光共振器、及び光周波数コム発生装置
14日前
国立大学法人徳島大学
マイクロ光共振器、及び光周波数コム発生装置
14日前
国立大学法人徳島大学
マイクロ光共振器、及び光周波数コム発生装置
14日前
国立大学法人徳島大学
紫外線波長変換素子、及び紫外線分光測定装置
8か月前
JFEスチール株式会社
リン化合物の製造方法
5か月前
国立大学法人徳島大学
分析プログラム、分析装置、分析方法、および測定装置
1か月前
株式会社マルイ
透気測定装置、透気測定方法、及び透気測定システム
4か月前
国立大学法人徳島大学
コンクリート構造物の劣化診断装置、コンクリート構造物の劣化診断方法
今日
国立大学法人徳島大学
高偏極化対象物、並びに、その製造方法、高偏極化方法及び高偏極化装置
3か月前
ダイキン工業株式会社
刺激特定プログラム、刺激特定装置、および刺激特定システム
8か月前
ダイキン工業株式会社
腸状態推定プログラム、腸状態推定装置、および腸状態推定システム
8か月前
ナノミストテクノロジーズ株式会社
使用環境に対する超音波振動子の寿命を検出する超音波霧化システム
4か月前
国立大学法人徳島大学
骨および/または軟骨再生用の組成物、骨および/または軟骨の疾患の処置および/または予防用の組成物
7日前
国立大学法人徳島大学
器具の洗浄方法、原液処理装置および原液処理装置の操作方法
4か月前
国立大学法人徳島大学
腐敗菌情報検索方法、システム及びデータ構造並びにそのデータ構造を用いる食品安全・衛生管理システム及び方法
7か月前
アイカ工業株式会社
反射防止フィルム
1日前
キヤノン株式会社
映像表示装置
14日前
インターマン株式会社
立体映像表示装置
14日前
個人
透過型及び反射型顕微鏡
14日前
旭化成株式会社
成形体
今日
旭化成株式会社
成形体
今日
日本分光株式会社
赤外顕微鏡
今日
キヤノン株式会社
レンズ装置および撮像装置
2日前
キヤノン株式会社
画像表示装置
今日
キヤノン株式会社
画像表示装置
22日前
東レ株式会社
プラスチック光ファイバ
24日前
レーザーテック株式会社
検査装置及び検査方法
4日前
キヤノン株式会社
表示装置
7日前
株式会社小糸製作所
画像投影装置
14日前
キヤノン株式会社
光学系及び撮像装置
8日前
続きを見る
他の特許を見る