TOP
|
特許
|
意匠
|
商標
特許ウォッチ
Twitter
他の特許を見る
公開番号
2025146064
公報種別
公開特許公報(A)
公開日
2025-10-03
出願番号
2024046649
出願日
2024-03-22
発明の名称
ペールパック用押え板、及びペールパック
出願人
株式会社神戸製鋼所
代理人
弁理士法人栄光事務所
主分類
B23K
9/133 20060101AFI20250926BHJP(工作機械;他に分類されない金属加工)
要約
【課題】ペールパック用押え板の外周縁から溶接ワイヤがはみ出ることによる溶接ワイヤの引出し停止と、溶接ワイヤのキンクの発生と、を抑制できるペールパック用押え板及びペールパックを提供する。
【解決手段】底板部及び筒状の外筒部を有する筐体に収容された溶接ワイヤの上に載置されるペールパック用押え板であって、環状の本体部の底面外周縁側に、下方に突出して溶接ワイヤを係止可能な係止部を設けた。
【選択図】図3
特許請求の範囲
【請求項1】
底板部及び筒状の外筒部を有する筐体に収容された溶接ワイヤの上に載置されるペールパック用押え板であって、
環状の本体部の底面外周縁側に、下方に突出して前記溶接ワイヤを係止可能な係止部を設けた、
ペールパック用押え板。
続きを表示(約 460 文字)
【請求項2】
前記係止部は、前記本体部の外周縁に沿って配置される複数の外周突起部とした、
請求項1に記載のペールパック用押え板。
【請求項3】
前記複数の外周突起部を、周方向が等間隔となるように配置した、
請求項2に記載のペールパック用押え板。
【請求項4】
前記係止部は、前記本体部の外周縁に沿ったリング状に形成された、
請求項1に記載のペールパック用押え板。
【請求項5】
前記係止部の突出量を、1.0mm~2.0mmとした、
請求項1に記載のペールパック用押え板。
【請求項6】
前記本体部の内周縁側に、下方に突出して前記溶接ワイヤを係止する内周突起部が形成された、
請求項1に記載のペールパック用押え板。
【請求項7】
請求項1~6の何れか1項に記載のペールパック用押え板と、
前記溶接ワイヤを積層した積層ワイヤが収容される前記筐体と、を有する、
ペールパック。
発明の詳細な説明
【技術分野】
【0001】
本発明は、ペールパック用押え板、及びペールパックに関する。
続きを表示(約 1,600 文字)
【背景技術】
【0002】
近年、溶接の自動化及びロボット化が進んでいる。このため、マグ溶接用ソリッドワイヤ及びマグ溶接用フラックス入りワイヤ等の溶接用ワイヤに対する長尺化の要求が大きく、溶接ワイヤを積層して収容したペールパックの使用が増加している。しかしながら、ペールパックにおいては、連続的に溶接する際に、ペールパックの出口付近で溶接ワイヤが捩れることによりキンクが生じ、溶接ワイヤの引出しが止まってしまう問題点がある。このキンクの発生は、ロボット溶接等においては稼働率の低下を招くため、キンクを防止することが求められる。
【0003】
ここで特許文献1では、溶接ワイヤのコイルを収納可能な筐体の内部に内筒を設け、溶接ワイヤの上に環状のペールパック用押え板を載置した、ペールパック引出装置が開示されている。このペールパック引出装置では、溶接ワイヤ引出し時における溶接ワイヤの絡み及びもつれの防止を図っている。
【先行技術文献】
【特許文献】
【0004】
特開2002―273572号公報
【発明の概要】
【発明が解決しようとする課題】
【0005】
しかしながら、特許文献1のように、ペールパックに収容された溶接ワイヤにペールパック用押え板を載置してもキンクが発生する場合がある。また、溶接ワイヤの上に載置される環状のペールパック用押え板の外周縁と、筐体との間の隙間から溶接ワイヤがはみ出ることにより、溶接ワイヤの引出しが止まる場合があるという課題がある。
【0006】
本発明は、上記状況に鑑みてなされたものであり、その目的は、ペールパック用押え板の外周縁から溶接ワイヤがはみ出ることによる溶接ワイヤの引出し停止と、溶接ワイヤのキンクの発生と、を抑制できるペールパック用押え板、及びペールパックを提供することにある。
【課題を解決するための手段】
【0007】
本発明の上記目的は、下記の構成により達成される。
(1) 底板部及び筒状の外筒部を有する筐体に収容された溶接ワイヤの上に載置されるペールパック用押え板であって、
環状の本体部の底面外周縁側に、下方に突出して前記溶接ワイヤを係止可能な係止部を設けた、
ペールパック用押え板。
(2) (1)に記載のペールパック用押え板と、
前記溶接ワイヤを積層した積層ワイヤが収容される前記筐体と、を有する、
ペールパック。
【発明の効果】
【0008】
本発明によれば、ペールパック用押え板の外周縁と、筐体との間の隙間から溶接ワイヤがはみ出ることと、溶接ワイヤのキンクの発生と、を抑制できる。このため、ペールパックから溶接ワイヤWをより安定して引出すことができる。
【図面の簡単な説明】
【0009】
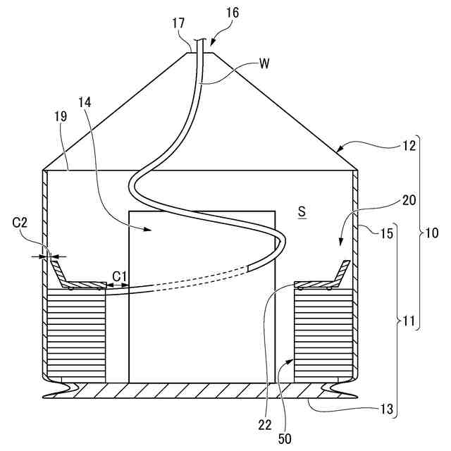
図1は、ペールパックの断面の概略図である。
図2は、ペールパック用押え板を示した図1の要部拡大図である。
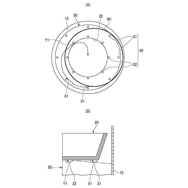
図3は、ペールパック用押え板の底面図である。
図4は、係止部を示した拡大図である。
図5(A)及び図5(B)は、係止部が押え板と筐体との隙間からワイヤがはみ出すことを抑制した状態を示した平面図及び要部側面図である。
図6(A)及び図6(B)は、係止部がキンクを抑制した状態を示した平面図及び要部側面図である。
【発明を実施するための形態】
【0010】
以下、本発明の実施形態に係るペールパック用押え板を備えたペールパックを図面に基づいて説明する。図1は、ペールパックの断面の概略図である。図2は、ペールパック用押え板を示した図1の要部拡大図である。図3は、ペールパック用押え板の底面図である。図4は、係止部を示した拡大図である。
(【0011】以降は省略されています)
この特許をJ-PlatPat(特許庁公式サイト)で参照する
関連特許
株式会社神戸製鋼所
遠心圧縮機
9日前
株式会社神戸製鋼所
密閉式混練機
5日前
株式会社神戸製鋼所
連続式押出機
9日前
株式会社神戸製鋼所
アーク溶接方法
9日前
株式会社神戸製鋼所
残留応力推定方法
5日前
株式会社神戸製鋼所
溶銑の予備処理方法
17日前
株式会社神戸製鋼所
Ni基合金フラックス入りワイヤ
5日前
株式会社神戸製鋼所
熱延鋼板の製造方法および熱延鋼板
1日前
株式会社神戸製鋼所
ペールパック用押え板、及びペールパック
1日前
株式会社神戸製鋼所
溶接用ワイヤ、溶接方法及び溶接金属の製造方法
15日前
株式会社神戸製鋼所
形状解析システム、形状解析方法、及びプログラム
1日前
株式会社神戸製鋼所
ギアボックスの製造方法並びに回転機械の製造方法
1日前
株式会社神戸製鋼所
圧延機の板厚制御方法、および、圧延機板厚制御装置
5日前
株式会社神戸製鋼所
非調質鍛造用鋼、非調質鍛造鋼および非調質鍛造部品
1日前
株式会社神戸製鋼所
金型製作支援システム、金型製作支援方法、及びプログラム
9日前
株式会社神戸製鋼所
二酸化炭素排出量演算システム、該方法および該プログラム
17日前
株式会社神戸製鋼所
摩擦攪拌接合用工具
4日前
個人
フライス盤
24日前
麗豊実業股フン有限公司
ラクトバチルス・パラカセイNB23菌株及びそれを筋肉量の増加や抗メタボリック症候群に用いる用途
4か月前
日東精工株式会社
ねじ締め機
1か月前
日東精工株式会社
ねじ締め機
24日前
株式会社北川鉄工所
回転装置
3か月前
日東精工株式会社
ねじ締め機
4か月前
日東精工株式会社
ねじ締め装置
15日前
株式会社ダイヘン
溶接電源装置
2か月前
日東精工株式会社
ねじ締め装置
3か月前
株式会社ダイヘン
溶接電源装置
2か月前
株式会社ダイヘン
溶接電源装置
1か月前
株式会社FUJI
工作機械
1日前
個人
切削油供給装置
1か月前
株式会社FUJI
工作機械
3か月前
株式会社FUJI
工作機械
2か月前
キヤノン電子株式会社
加工システム
1か月前
株式会社アンド
半田付け方法
26日前
個人
型枠製造装置のフレーム
5日前
株式会社トヨコー
被膜除去方法
4か月前
続きを見る
他の特許を見る