TOP
|
特許
|
意匠
|
商標
特許ウォッチ
Twitter
他の特許を見る
10個以上の画像は省略されています。
公開番号
2025146185
公報種別
公開特許公報(A)
公開日
2025-10-03
出願番号
2024046825
出願日
2024-03-22
発明の名称
流体制御装置および検査装置
出願人
住友ベークライト株式会社
代理人
弁理士法人R&C
主分類
G01N
35/10 20060101AFI20250926BHJP(測定;試験)
要約
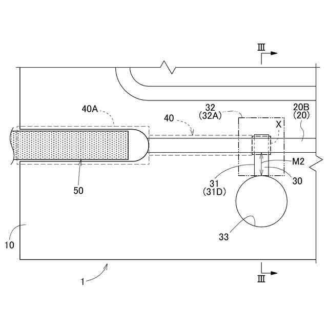
【課題】外部から流路開放するための操作を行わなくても内部の流体の作用を受けて自ずから流路開放する流体制御装置を実現する。
【解決手段】流体制御装置11は、基板10の一方の面に形成された流路溝21と、流路溝21を覆う被覆材と、を有する第一の流路20と、流路溝21の側面および底面の少なくとも一方において第一の流路20と流体連通する第二の流路30と、第一の流路20と第二の流路30の接続部分Xに流体連通する流出口40と、を備え、第一の流路20は、流路溝21の表面が、疎水性および親水性のいずれか一方である第一の性質を有し、被覆材の流路溝側の表面が、疎水性および親水性の他方である第二の性質を有し、第二の流路30は、第二の性質を有し、第二の流路30に導入された流体を接続部分Xに案内する案内部32Aを有し、第二の流路30に流体が導入されると、案内部32Aに案内された流体が接続部分Xにおいて液滴を形成する。
【選択図】図1
特許請求の範囲
【請求項1】
基板の一方の面に形成された流路溝と、前記流路溝を覆う被覆材と、を有する第一の流路と、
前記流路溝の側面および底面の少なくとも一方において前記第一の流路と流体連通する第二の流路と、
前記第一の流路と前記第二の流路の接続部分に流体連通する流出口と、を備え、
前記第一の流路は、
前記流路溝の表面が、疎水性および親水性のいずれか一方である第一の性質を有し、
前記被覆材の前記流路溝側の表面が、疎水性および親水性の他方である第二の性質を有し、
前記第二の流路は、
前記第二の性質を有し、前記第二の流路に導入された流体を前記接続部分に案内する案内部を有し、
前記第二の流路に前記流体が導入されると、前記案内部に案内された前記流体が前記接続部分において液滴を形成する、流体制御装置。
続きを表示(約 1,200 文字)
【請求項2】
前記第二の流路は、前記第一の流路の前記流路溝とは反対側の前記基板の面に形成された第二の流路溝と、前記第二の流路溝を覆う第二の被覆材と、を有し、
前記基板の平面視において前記第二の被覆材は前記接続部分と少なくとも部分的に重なる、請求項1に記載の流体制御装置。
【請求項3】
前記第二の被覆材の前記第二の流路溝側の表面が前記案内部である、請求項2に記載の流体制御装置。
【請求項4】
前記第一の流路は、前記第二の流路よりも管路抵抗が大きい、請求項1~3のいずれか一項に記載の流体制御装置。
【請求項5】
前記第一の流路と流体連通し、第一の流体が導入される第一の流体導入口と、
前記第二の流路と流体連通し、第二の流体が導入される第二の流体導入口と、をさらに備え、
前記第一の流体導入口から前記接続部分までの前記第一の流路の長さは、前記第二の流体導入口から前記接続部分までの前記第二の流路の長さより大きい、請求項1~3のいずれか一項に記載の流体制御装置。
【請求項6】
流体および検体を導入すると少なくとも前記検体を流出する流体制御部と、前記流体制御部から流出した前記検体を検出可能な検出部と、を備える検査装置であって、
前記流体制御部が、
基板の少なくとも一方の面に形成された流路溝と、前記流路溝を覆う被覆材と、を有する第一の流路と、
前記流路溝の側面および底面の少なくとも一方において前記第一の流路と流体連通する第二の流路と、
前記第一の流路と流体連通し、前記流体が導入される流体導入口と、
前記第二の流路と流体連通し、前記検体が導入される検体導入口と、
前記第一の流路と前記第二の流路の接続部分から流体連通し、前記検体を案内する流出口と、
を備え、
前記第一の流路は、
前記流路溝の表面が、疎水性および親水性のいずれか一方である第一の性質を有し、
前記被覆材の前記流路溝側の表面が、疎水性および親水性の他方である第二の性質を有し、
前記第二の流路は、
前記第二の性質を有し、前記第二の流路に導入された前記検体を前記接続部分に案内する案内部を有し、
前記検体導入口に前記検体が導入されると、前記案内部に案内された前記検体が前記接続部分において液滴を形成し、
前記流体導入口に前記流体が導入され、前記接続部分において前記流体が前記液滴に接触すると、前記流出口から少なくとも前記検体が流出する、ように構成され、
前記検出部が、前記流出口と流体連通している、検査装置。
【請求項7】
前記第一の流路の前記流路溝は、幅0.8~2.0mm、かつ、深さ70~100μmである区間を有し、前記流体および前記検体を導入すると所定時間後に少なくとも前記検体を流出する、請求項6に記載の検査装置。
発明の詳細な説明
【技術分野】
【0001】
本発明は、流体制御装置および検査装置に関する。
続きを表示(約 2,100 文字)
【背景技術】
【0002】
基板上に流路を設け、その流路に流体を流すことによって生化学測定や化学合成を行うマイクロ流路デバイスが知られている。特に、微細加工技術を利用して作製されるマイクロ分析デバイスやマイクロ反応デバイス等は、小型化・可搬性・検体少量化・試薬少量化・廃液少量化・迅速性等の観点から、好ましく用いられている。
【0003】
このようなマイクロ流路チップにおいて、流路の開閉を行うための種々のバルブ機構が提案されている。例えば、特開2005-308200号公報(特許文献1)には、少なくともマイクロ流路上部の一部が弾性部材からなる流体素子チップと、該流体素子チップ上の弾性部材部に立設された圧力制御ポートとを備え、該圧力制御ポートを介して圧力を給排することにより開閉を行なうことを特徴とするマイクロバルブ機構が開示されている。
【0004】
また、検査装置の一部として用いられるマイクロ流路チップが提案されている。例えば国際公開第2012/060186号(特許文献2)には、一方の面に流路溝を有する樹脂基板と、流路溝を覆うように樹脂基板に接合される樹脂フィルムとを備えるマイクロ流路チップが開示されている。このマイクロ流路チップは、流路用溝を有する基板とその溝を覆う被覆材とを接合して作製され、ポリメラーゼ連鎖反応(PCR)や電気泳動を用いた遺伝子解析を行うことができる検査装置の一部として用いられる。上述の検査装置では、まず、マイクロチップの反応室で、PCRを用いた遺伝子解析(PCR法)で検体中の標的DNAを増幅する(遺伝子増幅)。その後、反応室と微細流路を介して連通する検出領域において、生成液に含まれる標的物質が光学的に検出される。
【0005】
一方、近年、新型コロナウイルス等のウイルスや細菌の迅速診断法として、核酸増幅法を用いた検査キットが市販されている。核酸増幅法は、次のような手順で行われる。(1)ウイルスの遺伝子の一部を増幅させるように作用する核酸増幅試薬を作製し、その核酸増幅試薬に検体(唾液や鼻咽頭拭い液等)を添加する。(2)核酸増幅試薬により検体中のウイルスの遺伝子(核酸)の増幅反応を行う。(3)核酸増幅試薬との反応によって何万倍かに増幅させたウイルスの遺伝子を検出する。PCR法も核酸増幅法の1種である。
【先行技術文献】
【特許文献】
【0006】
特開2005-308200号公報
国際公開第2012/060186号
【発明の概要】
【発明が解決しようとする課題】
【0007】
特許文献1のマイクロバルブ機構は、圧力制御ポートに備えられた押圧体の圧力の給排によりマイクロ流路を変形させることにより開閉を行なうものであり、バルブの開閉時にはマイクロ流路の外部からの制御を要する。そのため、例えば検査装置に適用する場合には、外部に制御装置等を要し、上述した検査キットのような検査装置の形態にはし難い。
【0008】
特許文献2の検査装置では、反応室で反応した検体はマイクロチップに接続されたマイクロポンプにより検出部に送液され、光学的な検出部で標的物質を検出するものであり、反応前の検体を導入すると自ずから反応後の検体が検出部に流出し、検出部が標的物質を検出できるものではない。また、上述した検査キットでは、前記(2)の工程における採取後の検体の遺伝子(核酸)増幅反応は、通常、容器内で作業者が反応時間を計測して行っており、その後、作業者が反応後の検体液を容器からピペット等を用いて検出部に供給するものが多い。このような検査キットも反応前の検体を導入するだけで自ら標的物質を検出できるものではなく、作業者の手間を要する。
【0009】
そこで、流路の開放時に外部から操作を行わなくても、マイクロ流路チップ内の流体の作用を受けて適切なタイミングで自ずから流路を開放できる流体制御装置の実現が求められる。さらに、この流体制御装置の実現により、例えば、反応前の検体を導入するだけで自ずから反応後の検体を検出できる検査装置の実現が求められる。
【課題を解決するための手段】
【0010】
本発明に係る流体制御装置は、基板の一方の面に形成された流路溝と、前記流路溝を覆う被覆材と、を有する第一の流路と、前記流路溝の側面および底面の少なくとも一方において前記第一の流路と流体連通する第二の流路と、前記第一の流路と前記第二の流路の接続部分に流体連通する流出口と、を備え、前記第一の流路は、前記流路溝の表面が、疎水性および親水性のいずれか一方である第一の性質を有し、前記被覆材の前記流路溝側の表面が、疎水性および親水性の他方である第二の性質を有し、前記第二の流路は、前記第二の性質を有し、前記第二の流路に導入された流体を前記接続部分に案内する案内部を有し、前記第二の流路に前記流体が導入されると、前記案内部に案内された前記流体が前記接続部分において液滴を形成する、ことを特徴とする。
(【0011】以降は省略されています)
この特許をJ-PlatPat(特許庁公式サイト)で参照する
関連特許
個人
計量スプーン
28日前
個人
メジャー文具
今日
日本精機株式会社
位置検出装置
6日前
日本精機株式会社
位置検出装置
6日前
日本精機株式会社
位置検出装置
6日前
大和製衡株式会社
組合せ秤
11日前
大和製衡株式会社
組合せ秤
11日前
アズビル株式会社
圧力センサ
5日前
トヨタ自動車株式会社
表示装置
20日前
株式会社ユーシン
操作検出装置
8日前
株式会社東芝
センサ
11日前
エイブリック株式会社
磁気センサ回路
5日前
株式会社東芝
センサ
11日前
トヨタ自動車株式会社
検査装置
8日前
TDK株式会社
ガスセンサ
4日前
株式会社東芝
重量測定装置
4日前
TDK株式会社
磁気センサ
28日前
TDK株式会社
ガスセンサ
5日前
株式会社ナリス化粧品
角層細胞採取用具
18日前
個人
粘塑性を用いた有限要素法の定式化
20日前
東レエンジニアリング株式会社
計量装置
8日前
中国電力株式会社
異常箇所検出装置
19日前
三菱マテリアル株式会社
温度センサ
今日
個人
材料特性パラメータの算定方法
28日前
TDK株式会社
磁気計測装置
19日前
富士電機株式会社
半導体パッケージ
28日前
成田空港給油施設株式会社
保持治具
19日前
大同特殊鋼株式会社
超音波探傷方法
28日前
三菱マテリアル株式会社
温度センサ
18日前
三菱マテリアル株式会社
温度センサ
18日前
富士電機株式会社
エンコーダ
5日前
株式会社関電工
検相器用治具
26日前
株式会社熊谷組
RI計測装置
6日前
株式会社豊田自動織機
制御装置
11日前
アンリツ株式会社
物品検査装置
8日前
住友電気工業株式会社
分析方法
今日
続きを見る
他の特許を見る